Фаркоп на УАЗ Патриот: заводской и самодельныйПро УАЗик
Деталь с двойными монтажными петлями
Благодаря значительным размерам УАЗ Патриот багажный отсек у него тоже имеет солидный объем. Но все же иногда и значительного багажника недостаточно для транспортировки груза. Выходом из ситуации может стать установка дополнительного багажника на крышу или использование прицепа. Но для прицепа потребуется применять фаркоп для УАЗ.
Использование багажника на крыше не обеспечивает значительного увеличения грузоподъемности, он скорее предназначен для крупногабаритных нетяжелых грузов. К тому же погрузка на него грузов затруднительна из-за расположения.
Использование прицепа более выгодно, поскольку он позволяет производить перевозку грузов и материалов значительной массы. Кроме подбора прицепа с требуемыми характеристиками, нужно приобрести или сделать своими руками фаркоп для УАЗ.
Заводской фаркоп
На УАЗ Патриот такое оборудование, как фаркоп, можно приобрести в автомагазинах.
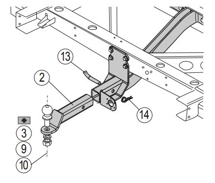
Самый простой магазинный фаркоп состоит из крепежной основы с закрепленным на нее транспортировочным крюком с шариковым наконечником. Крюк к основе может быть закреплен сваркой или болтовым соединением. Сама основа закрепляется на задней поперечине рамы УАЗ. Фаркоп такой конструкции не предназначен для транспортировки прицепа со значительным грузом, иначе возможна деформация рамы. Как вариант использование этого сцепного устройства для транспортировки прицепа значительной массы возможно после усиления задней части рамы дополнительными раскосами из толстостенного металлического уголка.
Продаются сцепные транспортные устройства, состоящие из крепежной основы, сцепного крюка и дополнительных крепежных кронштейнов. Такой фаркоп, используемый на УАЗ, имеет много вариантов исполнения.
Тюнинговая хромированная деталь
Крепежная основа, как и в предыдущем варианте, закрепляется на заднюю поперечину рамы.
Дополнительные кронштейны, в зависимости от конструктивных особенностей, могут прикрепляться к рамным раскосам, внутренней поперечине или же к лонжеронам. В основном крепление составных частей сцепного устройства между собой выполнено с помощью болтовых соединений, хотя встречаются и сварные конструкции.
Транспортировочный крюк с шариковым наконечником может быть жестко закреплен к основе болтами или сварочным соединением. Возможно также применение посадочного места квадратного сечения под него в крепежной основе. В таком случае транспортировочный крюк вставляется в посадочное место и закрепляется металлическим пальцем с фиксатором. Такая конструкция удобна, поскольку позволяет отсоединить транспортировочный крюк, если он не нужен, или на его место установить другое оборудование, например буксировочную петлю или буксировочный крюк с самофиксирующимся замком.
Самым конструктивно сложным является оборудование, которое устанавливается на УАЗ Патриот вместо заднего штатного бампера.
Такой фаркоп является самым надежным, поскольку имеет большое количество точек крепления к раме и кузову автомобиля. В основном такая конструкция оснащается посадочным местом квадратного сечения под транспортировочный крюк или другие элементы. Такой фаркоп может иметь и дополнительное оборудование, к примеру, кронштейн крепления запасного колеса.
Выбирая данное оборудование для установки на УАЗ Патриот, нужно посмотреть его конструктивное исполнение. Если имеются места сварки, нужно убедиться в качественном их исполнении. Материал, используемый для изготовления сцепного устройства, должен иметь достаточную толщину. Следует проверить совпадение точек крепления, иначе нужно будет проводить дополнительные работы для возможности установки его на автомобиль.
Нужно убедиться в наличии электрической розетки для питания световых приборов прицепа или хотя бы посадочного места под нее.
Делаем своими руками
Возможно изготовление данного оборудования и своими руками.
Для начала нужно подобрать материал для изготовления. Лучшим вариантом для этого является металлический уголок толщиной 10 мм и более. Далее следует выбрать способ, которым будет выполняться крепление устройства к автомобилю. Исходя из способа крепления устройства, производится разметка и подготовка материала.
Далее материал следует собрать в заранее выбранную конструкцию. Закрепление материалов между собой производится путем сварочных работ или с применением болтового соединения.
Сборку конструкции нужно проводить аккуратно, чтобы не нарушить расположение крепежных отверстий, иначе установить готовое самодельное оборудование на автомобиль будет невозможно.
После сборки основной части устройства на нем закрепляются остальные элементы, такие как транспортировочный крюк и электрическая розетка.
Тест-драйв «Экспедиционный» УАЗ Патриот — АвтоТачки
Зубчатые шины, задний дифференциал с блокировкой и лебедка — как УАЗ Патриот превратили в экспедиционный внедорожник и что из этого вышло
Маркетологи Ульяновского автозавода долго и упорно пытаются придать внедорожнику УАЗ Патриот имидж «горожанина». Помните, несколько лет назад был выпущен рекламный ролик обновленного Патриота, в котором утверждалось, что он «создан для бездорожья», но «обновлен для города»? Действительно, машину стали предлагать с гидроусилителем руля, системой стабилизации, парктроником, а чуть позже она обзавелась камерой заднего вида, светодиодной оптикой и даже мультимедиа на Android.
Кроме того, стремление привлечь новых клиентов вылилось в появление множества специальных версий «Патриота». Один, например, был выпущен к 70-летию УАЗа, другой был «завязан» на популярный танковый шутер World of Tanks, а самый последний был посвящен футболу.
Специальные эмблемы на корпусе, декали по бокам и логотипы, «вшитые» в оголовье информационно-развлекательной системы. Вся эта «красота» необходима внедорожнику так же, как спойлер тюнингованной «девятке».
А вот новая «Экспедиционная» версия УАЗ Патриот, которую мы тестировали на Кавказе, это совсем другой случай. Все дополнительное оборудование здесь строго по делу. Пакет Off-Road включает в себя защиту рулевой тяги, аккумулятор повышенной емкости и электрическую лебедку. Кроме того, автомобиль оснащен зубчатыми шинами BF Goodrich All-Terrain, блокировкой заднего дифференциала, фаркопом, защитой порогов и багажником на крыше. Откидная лестница предназначена для облегчения загрузки тяжелого туристического снаряжения в дополнительный грузовой отсек. И все это навесное оборудование устанавливается прямо на заводе, поэтому имеет необходимую сертификацию. Ну, а узнать экспедиционный Патриот можно издалека по ярко-оранжевому цвету кузова, который предлагается эксклюзивно для этой версии и удачно сочетается с черным багажником.
Я встретил Сочи плохой летней погодой. Проливной дождь, который, как оказалось, идет уже пятый день подряд, внес непредвиденные коррективы в ранее запланированный маршрут. Нам предстояло опробовать новую спецверсию внедорожника на Грачевском перевале, куда нам предстояло подниматься со стороны Лазаревского. Однако дороги там были полностью размыты, а в горы сходили сели, поэтому преодолеть этот путь могли только большие грузовики вроде «Урала».
Однако мы все же не отказались от своих планов добраться до Грачевского, решив подняться на него с другой стороны через село Дальнее. Но сначала нас ждал почти 300-километровый крюк вдоль побережья Черного моря до места нашей первой остановки.
Проехать несколько часов по асфальту на экспедиционном автомобиле с внедорожной резиной по-прежнему приятно. Оставшийся неизменным 2,7-литровый бензиновый мотор, развивающий 135 сил и 217 Нм крутящего момента (при 3900 об/мин), приходится все время крутить, на что он отвечает надрывным урчанием.
Обгонять сложно, а разгоняться быстрее 100 км/ч и вовсе страшно — системы стабилизации, как и других электронных «помощников», для новой спецверсии не предусмотрено.
Комплектация Comfort включает только кондиционер, дополнительный отопитель салона и мультимедийную систему с 7-дюймовым сенсорным дисплеем. Плюс есть навигатор с предустановленными картами России, Белоруссии, Украины и Казахстана. Хорошо, что даже в набитом походным снаряжением «Патриоте» достаточно свободного места и задним пассажирам не приходится пинать передними коленями.
Наконец, после семи часов пути по дорогам Краснодарского края и Адыгеи, экспедиция добралась до места нашей первой ночевки. Ставим лагерь на горе, называемой в народе «Ленин Лоб», откуда открывается потрясающий вид на горное плато в облаках и лежащий далеко внизу поселок Мезмай.
Принято решение установить на крышу автомобиля тент «УАЗ», который, однако, не входит в базовую комплектацию вездехода «Экспедиционный». За удовольствие переночевать на высоте двух метров от земли, не опасаясь, что кто-то подползет к вам, придется заплатить дополнительно 1 доллар.
На следующий день наша экспедиция отправилась в сторону Грачевского перевала. Снова проливной дождь и извилистая скользкая дорога с затяжными подъемами и спусками, проходимая с гулом на второй передаче. Но сейчас асфальт сменяет разбитая грунтовая дорога, ведущая в сторону села Дальнее. Раньше он носил суровое имя Спалорез, которое лучше всего подошло бы не поселению, а, скажем, злодею из вселенной Marvel.
На самом деле когда-то здесь добывали лес и производили шпалы, которые потом сплавлялись по реке в Апшеронск. Их выпускали для узкоколейной железной дороги, которая сейчас связывает Дальнее с внешним миром. Сейчас по нему два раза в день курсирует самоходный железнодорожный вагон – Мотрис, окрещенный местными жителями «Матрица».
После последнего оплота цивилизации на нашем пути начинается серьезный подъем — переводим шайбу электронного селектора в режим полного привода и пониженной передачи, форсируем реку и несемся дальше вверх. Скрипы, звяканье и прочие посторонние периодические потрескивания в «Патриоте» теперь воспринимаются так же естественно, как шум ветра в реликтовом буковом лесу в кавказских горах.
Дорога изобилует выбоинами и лужами, о глубине которых можно только догадываться. То и дело приходится объезжать осыпающиеся со склонов валуны. В 3-мм стальной защите рулевых тяг никто не сомневается, но проверять ее прочность лишний раз все же не хочется.
В пути постоянно попадаются рытвины и грязевые ямы, преодолеваемые «на бегу» по очереди. На подъемах, которые становятся все круче и круче, стараемся держать сцепление и не терять скорость — иначе придется скатываться вниз и начинать все сначала. Время от времени приходится пускать лебедку, тягового усилия в 4000 кгс достаточно, чтобы освободить машину из вязкого плена.
И вот мы добрались до Грачевского перевала и уже на высоте более 1200 метров. Раньше по перевалу проходила важная транспортная артерия, ведущая прямо к Черному морю, за которой в 19Здесь произошло 42 тяжелых боя между советскими и немецко-фашистскими войсками. О боях до сих пор напоминают остатки оборонительных сооружений, а также обелиски с красными звездами и именами защитников.
Яркая окраска Патриота служит хорошим ориентиром, чтобы не заблудиться в густом тумане. Ульяновский завод также предлагает спецверсию внедорожника с кузовом «зеленый металлик», но цитрусовый оттенок все же представляется гораздо более предпочтительным для экспедиционного автомобиля. Он гармонично смотрится вместе с зеленью альпийских лугов и еще не ставшим снегом в местах, до которых, как казалось раньше, не добраться на автомобиле.
Стоимость «Экспедиционного» УАЗ Патриот 13$. Пожалуй, это самый доступный автомобиль в России, имеющий все необходимое оборудование для поездок в труднодоступные места. Для них, собственно, он и создан. Потому что в городе «Патриот» по-прежнему душно и тесно.
| a Тип | SUV |
| Размеры (длина / ширина / высота), MM | 4785/1900/2005 |
| /1900/2005 | |
| 4041041041414494444444 | |
| 4. | 04141449944444490 |
. 0041 | |
| Ground clearance, mm | 210 |
| Cargo space | 1130-2415 |
| Curb weight, kg | 2125 |
| Gross vehicle weight, kg | 2650 |
| engine’s тип | Четырехцилиндровый, бензиновый |
| Рабочий объем, куб. м см | 2693 |
| Макс. мощность, л.с. (при об/мин) | 134/4600 |
| Макс. прохладный. момент, нм (при об/мин) | 217/3900 |
| Тип привода, трансмиссия | Полный, МКП5 |
| Макс. speed km / h | 150 |
| Acceleration from 0 to 100 km / h, s | No data |
| Average fuel consumption, l / 100 km | 11,5 |
| Price from, $ . | 13 462 |
Обновленный УАЗ Патриот. Стоит ли покупать?
Первый обновленный УАЗ Патриот сошел с конвейера в 2012 году.
Оправдано ли улучшение качества нового УАЗа? Ведь продажи Патриота неуклонно растут уже больше года (например, в первом полугодии 2011 года было закуплено более двадцати семи тысяч автомобилей, в том числе более трех тысяч на экспорт, а в первом полугодии 2012 года , продажи выросли на тридцать четыре процента). С другой стороны, в этой узкой нише недорогих, но полноценных внедорожников достаточно высокая конкуренция. Кроме того, требования потребителей с каждым годом возрастают. Высокого патрулирования это уже немного. Нам нужно больше безопасности, надежности и комфорта. Слишком много претензий к отечественному автомобилю накопилось у покупателей автомобилей УАЗ. Ведь традиционных любителей вполне устраивает спартанский салон УАЗ Хантер, а также возможность проводить ремонт в гараже. Но для привлечения новых клиентов с другими требованиями к новому автомобилю был создан обновленный УАЗ Патриот 2012 (фото ниже).
Новый внедорожник получил зеркала заднего вида с подогревом и электрорегулировкой. Кроме того, они стали крупнее. Соответственно и обзор стал немного лучше. Также в списке опций будет парктроник и тягово-сцепное устройство, не мешающее такому большому внедорожнику. Покупатели пикапа УАЗ теперь смогут дополнительно заказать жесткий и прочный верх для платформы, который будет установлен на заводе.
Обновленный УАЗ Патриот изменился не только снаружи, но и внутри. Окна теперь не на тоннель, а на дверь. Передняя панель выполнена из фактурного мягкого пластика и представляет собой единое целое, которое навешивается на специальную рамку. Кресла отделаны тканью, в версии Limited можно заказать кожаный салон.
Панель приборов оснащена светодиодной подсветкой, а также спидометром и тахометром, которые отлично читаются водителем. Теперь обновленный УАЗ Патриот получил электронную педаль газа. На центральной консоли магнитола «Урал». Передние сиденья имеют массу регулировок, есть выбор индивидуальной высоты подушки.



0041