Как проверить датчик скорости автомобиля?
Датчики скорости (ДС) бывают бесконтактного и контактного вида. Большинство автотранспортных средств оснащены бесконтактными спидометрами, так как устойчивы к загрязнениям из вне. Контактные ДС такой особенностью похвастаться не могут, поэтому выдают неточные показатели. Это скорее технологическая ошибка, чем проблема некачественого изделия. Ведь, даже если вы решите масло Repsol купить на нашем сайте, вы можете быть уверенным в его качестве. Мы являемся официальными дистрибъютерами запчастей на большинство автомобильных брендов.
Принципы действия датчика скорости
Устройства учета скорости движения, вне зависимости от типа устройства, имеют одинаковую конструкцию. ДС состоит из следующих деталей:
- корпус;
- привод спидометра;
- контроллер.
В последнем есть разъем, через который спидометр подключается к автомобилю.
Принцип действия датчика основан на замерах периодичности сигналов, которые поступают с контроллера.
В процессе движения импульсы переходят в состояние тока, показания которого фиксируются магнитоэлектрическим прибором. Таким образом, значение тока получается прямо пропорциональным скорости движения, за счет числа издаваемых импульсов за определенный промежуток времени.
Приборная панель оснащена электросхемой, которая ведет подсчет импульсов и обеспечивает работу шагового электродвигателя. Электромотор вращает барабаны счетчиков и выводит на монитор суточный и общий пробег транспортного средства.
Неисправности спидометра: признаки
Неисправность ДС приводит к невозможности фиксации данных о скорости транспорта, к тому же могут возникнуть неполадки в работе силового аппарата.
Датчик скорости неисправен, если:
- спидометр отображает на экране недостоверные сведения или вообще не фиксирует данные;
- на холостых оборотах мотор издает нехарактерные звуки;
- увеличился показатель потребления горючего;
- двигатель с трудом набирает необходимую скорость;
- при движении на холостых оборотах двигатель самопроизвольно глохнет;
- на мониторе компьютера мигает индикатор Check;
- нарушение работы электроусилителя руля.

Основная причина неисправности ДС скрывается в вероятном повреждении проводки автомобиля. Также причиной сбоя в работе может быть загрязнение контактов или повреждение тросика спидометра.
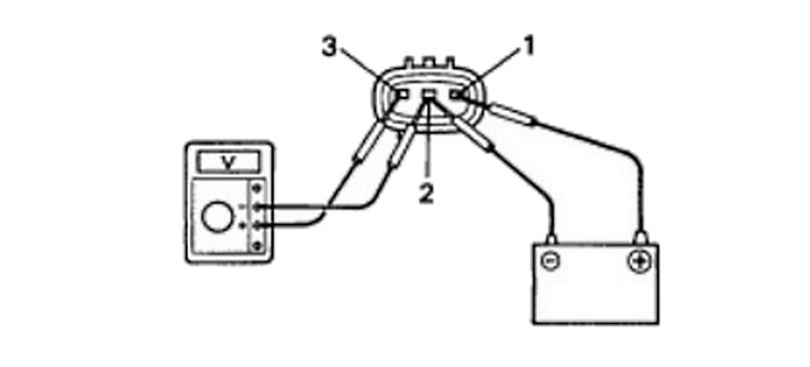
Как проверить датчик скорости автомобиля
Существует три основных варианта проверки ДС в домашних условиях.
1. Проверка вольтметром.- Демонтируйте устройство учета скорости.
- Используя вольтметр, присоединитесь к клемме, выдающей импульсы. Заземлите второй контакт прибора на мотор или каркас авто.
- Вращайте ДС, сделайте замеры напряжения на выходе. Чем больше скорость вращения датчика, тем больше нарастают напряжение и частота в устройстве диагностики.
- Приподнимите авто домкратом таким образом, чтобы одно колесо оказалось в воздухе.
- Соедините вольтметр с контактами датчика.
- Вращайте колесо, и фиксируйте показатель напряжения. Присутствие напряжения и частоты, указывают на рабочее состояние ДС.

- Отсоедините провод импульса.
- Включите зажигание, и с помощью лампочки определите «+» и «–».
- Поднимите одно колесо.
- Вращая колесо вручную, соедините лампочку с проводом «Сигнал». Минус на лампочке говорит об исправности датчика.
Выбирайте свой способ проверки и контролируйте исправность оборудования. У каждого автомобилиста должен быть свой секрет проверки спидометра. Ваш секрет — это наш ассортимент интернет-магазина «Гараж».
Как проверить датчик скорости на Шевроле Лачетти
Среди большого количества различного типа приборов и сигнальных лампочек на панели приборов легкового автомобиля Шевроле Лачетти, также, как и во многих других, особое место занимает спидометр.
Это особый прибор, который позволяет водителю в любой момент движения определять с какой скоростью движется его автомобиль.
В данном случае шкала этого прибора совмещена с одометром, который также даёт водителю информацию.
Только на этот раз о расстоянии, которое прошла эта автомашина за конкретный промежуток времени и общий километраж пробега.
Однако, стоит заметить, что без наличия специального датчика скорости работа спидометра была бы невозможной.
Дело всё в том, что именно такой прибор, а на Шевроле Лачетти может быть установлен датчик скорости с артикулом 96190708-OEM, передаёт на электронный блок управления импульсы с частотой, пропорциональной оборотам или скорости этих оборотов, совершаемых ведущими передними колёсами.
Но, передаёт он эти импульсы не прямо на ЭБУ, а на контроллер.
Последний же в свою очередь делает подсчёт количества вращений между импульсами.
В результате он определяет таким образом скорость движения авто в каждый конкретный момент.
Эти данные контроллер передаёт потом на ЭБУ и в результате этот показатель мы видим на шкале спидометра.
Если показания датчика скорости совпадают с теми, что мы видим на шкале спидометра – значит этот прибор работает исправно.
Однако, бывают случаи, когда эти показания не совпадают.
В таких случаях, как правило, проблему ищут в исправности самого датчика.
Поэтому возникает резонный вопрос, каким образом можно проверить работу этого устройства, чтобы убедиться, что оно в рабочем состоянии.
Проверяем самостоятельно исправность датчика скорости автомобиля Chevrolet Lacetti
В данной статье мы хотим рассказать о том, каким образом можно самому проверить работу датчика скорости Шевроле Лачетти.
- Для того, чтобы проверить состояние датчика скорости, прежде всего потребуется его демонтировать.
- А сделать это в данном случае не представляет особой сложности.
- Для этого отсоединяем провода питания датчика, а затем просто выкручиваем его со своего установочного места на приводе спидометра.
- Датчик скорости имеет обыкновенную резьбу внутри корпуса с одной его стороны.
- Если выкрутить руками его не удастся сразу, то можно сорвать с помощью рожкового ключа на 24 или 27.
- Дальше мы с помощью специально изготовленной контрольки со светодиодной лампочкой при включенном зажигании проверяем на разъёме датчика Шевроле Лачетти напряжение и расположение контактов.
- На положительном контакте лампочка загорается, естественно, а на отрицательном – не горит.
- Но, это всё крайние контакты в разъёме. А средний контакт также будет как положительный, т.е. контакт импульсов.
- Поэтому мы, замыкая на него нашу контрольку, посылаем тем самым импульсы на контроллер, которые последним преобразуются в показатели скорости, высвечивающиеся на экране подключенного сканера.
- Тем самым мы убеждаемся, что линия у нас рабочая, потому, что импульс проходит от начала и до конца.
- Поэтому нам остаётся проверить теперь сам датчик.
- Для этого на разъём самого датчика Шевроле Лачетти подключаем питание и нашу контрольную плату с лампочкой.
- И после этого проворачиваем вал этого устройства.
- Если этот датчик исправен, то лампочка на контрольке должна будет прерывисто светиться.
- Это будет свидетельством того, что импульсы проходят и устройство исправно.
- Поэтому собираем такую схему и саму контрольную плату укладываем сверху возле лобового стекла.
- И вращая вал датчика Шевроле Лачетти с помощью пинцета, будем смотреть за лампочкой.
- Лампочка наша при этом начала загораться и периодически выключаться.
- Значит с датчиком всё нормально. При этом вал прокручиваем то в одну сторону, то в другую.
- Таким способом мы проверили новый датчик, который мы приобрели заблаговременно для замены.
- После этого мы таким же способом проверяем и старый, снятый с автомобиля Шевроле Лачетти датчик скорости.
- К нашему удивлению он оказался также рабочим. Значит вся проблема совсем не в этом устройстве.
- А раз так, значит проблема может быть в самом приводе спидометра, возле которого и установлен этот датчик.
- Поэтому снимаем и сам привод спидометра.
- При его проверке оказалось, что шестерня крутится сама по себе, а вал при этом не крутится совсем.
- И когда мы попытались вытащить шестерню с валом, то оказалось, что внутри этот вал просто сломался.
- Если же взять в новом приводе для Шевроле Лачетти и попробовать покрутить за вал, то шестерня начнёт крутиться вместе с ним.
- Таким образом мы установили, что в нашем автомобиле просто сломался вал привода спидометра.

- А сам датчик скорости находится в исправном состоянии.
- Поэтому заменим сломанный привод спидометра на новый и можем датчик старый устанавливать на место.
- А новый будет в запасе.
- На этом и рассказ наш о самостоятельной проверке работоспособности датчика скорости автомашины Шевроле Лачетти окончен.
Как выявить неполадку датчика скорости
Любая поломка — это не конец света, а вполне решаемая проблема. Датчики относятся к измерительным приборам, они преобразуют измеряемые физические величины в электрические сигналы и выводят на табло цифровые данные.
Датчик скорости – является прибором, использующим принцип Холла, т.е.явление возникновения поперечнойразности потенциаловпри помещении проводника с постоянным током вмагнитное поле. Датчикскорости выдает на выходе прямоугольные импульсы, период (промежуток времени между импульсами) которых и переводится в скорость и пробег.
Датчик скорости устанавливается в посадочное место на коробке передач, не требует дополнительной защиты, и в случае неисправности подлежит замене целиком.
Стоит отметить, что спидометр показывает верные данные при стандартной комплектации автомобиля ВАЗ, в частности, при размере шин рекомендуемом производителем.
Внешние проявления неисправностей датчика
— Неравномерный холостой ход, либо глохнет в режиме холостого хода;
— Плохо работает либо вообще не работает спидометр;
— Повышенный расход бензина;
— Падает тяга двигателя.
Частой неисправностью датчика скорости является износ движущейся части, и, как следствие, проскальзывание ее в посадочном гнезде коробки переключения передач. Такая неисправность выражается чаще всего в заниженных показаниях спидометра и одометра или периодическом останове этих приборов.
Не исключается отказ и электронной части датчика скорости, вследствие чего, спидометр, зачастую, отказывает полностью.
Диагностику датчика скорости следует начинать с замера питания (+12 В) на первом контакте колодки и «земли» на 3-м контакте. Второй контакт является сигнальным. Работу датчика можно проверить измерив сигнал на втором контакте при движении (или вывешивании ведущего колеса) осциллографом или вольтметром. Измерения стоит проводить при скорости не менее 5 км/ч. Частота сигнала при использовании вольтметра измеряется косвенно, фиксируя увеличение напряжения при нарастании оборотов двигателя. Если, при наличии питания выходной сигнал отсутствует, вывод датчик скорости неисправен.
Датчик скорости с поводом 2109-3843010-00 Вы можете приобрести у нас !
Датчик скорости 2111-3843010 Вы можете приобрести у нас !
Датчик скорости 2118-3843010-04 Вы можете приобрести у нас !
НЕ ТОРМОЗИ — ПОКУПАЙ ДЕШЕВЛЕ ! ! !
Вам так же будет полезна информация : Как самостоятельно заменить датчик скорости с поводом 2109-3843010-00
Вам так же будет полезна информация : Как самостоятельно заменить датчик скорости 2111-3843010
Вам так же будет полезна информация : Как самостоятельно заменить датчик скорости 2118 / 2170
Если не нашли интересующий Вас ответ, то задайте свой вопрос! Мы ответим в ближайшее время.
Не забудьте поделиться со своими друзьями и знакомыми найденной информацией, т. к. она им тоже может понадобится — просто нажмите одну из кнопок социальных сетей.
Проверка и замена ABS и датчиков частоты вращения колес
Усложняющаяся дорожная обстановка на наших дорогах предъявляет повышенные требования к водителям автомобилей. Системы помощи водителю снижают нагрузку на водителя и повышают безопасность дорожного движения. В результате современные системы помощи при вождении теперь входят в стандартную комплектацию практически всех новых европейских автомобилей. Это также означает, что перед мастерскими стоят новые задачи.
В настоящее время электроника автомобиля играет ключевую роль во всем оборудовании для обеспечения комфорта и безопасности.Оптимальное взаимодействие между сложными электронными системами обеспечивает бесперебойную работу автомобиля, а это, в свою очередь, повышает безопасность дорожного движения.
Интеллектуальная передача данных между электронными системами автомобиля поддерживается датчиками.
Когда дело доходит до безопасности вождения, датчики скорости играют особенно важную роль, и это отражается в их разнообразном использовании в различных системах автомобиля
.
Они используются блоками управления в системах помощи при вождении, таких как ABS, TCS, ESP или ACC, для определения скорости вращения колес.
Информация о скорости вращения колес также передается другим системам (двигателю, трансмиссии, навигации и системам управления шасси) по линиям данных от блока управления ABS.
Благодаря разнообразному использованию датчики скорости напрямую влияют на динамику движения, безопасность вождения, комфорт вождения, снижение расхода топлива и выбросов. Датчики скорости вращения колес часто также называют датчиками ABS, поскольку они впервые использовались в транспортных средствах, когда была представлена ABS.
Датчики скорости вращения колес могут быть выполнены как активные или пассивные, в зависимости от того, как они работают.
Ясный и точный способ их различения или категоризации не определен.
Таким образом, следующая стратегия оказалась полезной в повседневной работе мастерской:
- Если датчик «активируется» только при подаче напряжения питания, а затем генерирует выходной сигнал, это «активный» датчик.
- Если датчик работает без дополнительного напряжения питания, это «пассивный» датчик.
Датчики скорости: полное руководство (2021)
Хотите узнать больше о датчике скорости в вашем автомобиле?
Датчик скорости — это небольшое устройство, которое сообщает спидометру вашего автомобиля, насколько быстро вы едете. Он играет важную роль в трансмиссии вашего автомобиля и в системах круиз-контроля.
В этой статье мы расскажем о , что такое датчик скорости и как он работает. Затем мы рассмотрим признаки неисправного датчика скорости и то, как часто вы должны его заменять.
Наконец, мы рассмотрим этапы замены датчика и выделим
(Щелкните ссылку, чтобы перейти к определенному разделу)
Давайте начнем.
Что такое датчик скорости ?Автомобиль Датчик скорости (VSS) — это небольшой компонент, установленный на трансмиссии вашего автомобиля, который позволяет бортовому компьютеру автомобиля знать, насколько быстро вы двигаетесь.
Также известен как датчик скорости колеса, датчик скорости трансмиссии или датчик скорости выходного вала.
Как работает датчик скорости ?
Датчик скорости автомобиля измеряет скорости вращения шестерен в вашей системе трансмиссии.
Затем он преобразует это измерение в аналоговый сигнал или сигнал прямоугольной формы низкого напряжения и передает его на электронные блоки управления (ЭБУ) внутри вашего автомобиля.
В свою очередь, ЭБУ используют этот сигнал для корректировки показаний спидометра вашего автомобиля, модуля АБС и системы трансмиссии.
Система круиз-контроля вашего автомобиля также может полагаться на данные, полученные от датчика скорости. Без него ваш автомобиль не смог бы поддерживать постоянную скорость.
Каковы симптомы неисправности датчика скорости ?Поскольку показания спидометра, системы трансмиссии и круиз-контроля вашего автомобиля зависят от сигналов датчика скорости, вам необходимо убедиться, что он работает должным образом.
Если вы испытываете какие-либо из этих симптомов во время вождения, вам, возможно, потребуется проверить датчик скорости автомобиля и заменить его :
1.
Несоответствие Спидометр Показания Большинство автомобилей зависят от сигналов датчика скорости вращения колес для корректировки показаний спидометра. Неисправный датчик может привести к несогласованным или ошибочным показаниям спидометра .
В качестве альтернативы, это может привести к отсутствию показаний.
Это не означает, что ваша машина просто перестанет работать, и вы больше не сможете ее водить.
Однако с неисправным спидометром вы не будете иметь представления о том, с какой скоростью едет ваш автомобиль, что может поставить под угрозу безопасность вашего движения. .
Если вы заметили, что спидометр работает странно, рассмотрите возможность осмотра вашего автомобиля механиком на предмет неисправности датчика скорости.
2. Контрольная лампа двигателя активируетсяЕсли индикатор Check Engine на приборной панели вашего автомобиля загорается , это может происходить по разным причинам, например:
- Неисправная катушка зажигания или свеча зажигания
- Неисправная топливная форсунка
- Неисправность термостата
Однако он также может сигнализировать о неисправном датчике скорости.
При неисправном датчике скорости электронный блок управления в вашем автомобиле может не обнаружить сигнал датчика скорости трансмиссии. И эта ошибка может активировать свет двигателя вашего автомобиля.
В такой ситуации лучше всего отвести машину к механику для осмотра .
3. Неисправность Круиз-контрольВ большинстве автомобилей система круиз-контроля зависит от входных сигналов датчика скорости трансмиссии.
Так что, если у вас неисправный датчик скорости, вы, вероятно, не сможете включить круиз-контроль автомобиля.
Почему?
Как правило, модуль управления трансмиссией (PCM) внутри вашего автомобиля автоматически отключает круиз-контроль, когда он не может получить правильный сигнал от VSS.
Это происходит потому, что невозможно поддерживать постоянную скорость автомобиля, необходимую для круиз-контроля, без данных датчика скорости трансмиссии.
Если вы заметили, что система круиз-контроля в вашем автомобиле неисправна, обратитесь к механику по , чтобы проверить, есть ли у вас проблема с датчиком скорости.
4. Жесткое переключение передачБез надежного сигнала, поступающего от датчика скорости трансмиссии, модуль управления трансмиссией не может правильно переключить передачи в вашей системе трансмиссии.
К чему это приводит?
PCM может вызвать грубое переключение передач и повлиять на синхронизацию переключения передач.
Это еще не все.
Если в вашем автомобиле используется система автоматической трансмиссии, неисправный датчик может также вызвать серьезные повреждения профиля зуба механической шестерни и других внутренних компонентов , таких как гидравлические линии, корпуса клапанов и т. Д.
На всякий случай подумайте о том, чтобы в ближайшее время провести осмотр автомобиля, чтобы выявить любые проблемы с трансмиссией, которые могут быть у вашего автомобиля.
Не существует однозначного правила, которое помогло бы предсказать, как долго прослужит датчик скорости вращения колеса.
В отличие от выключателя стоп-сигнала или , суппорт тормоза , которого может прослужить столько же, сколько и ваш автомобиль, вы можете ожидать, что ваш датчик скорости трансмиссии прослужит от 30 000 до 50 000 миль .
Однако, как и в случае с тормозными колодками , срок службы датчика скорости также в значительной степени зависит от условий вождения . Если датчик скорости часто подвергается воздействию дорожной соли и других соединений, он прослужит недолго.
Кроме того, следующие условия могут также сократить срок службы датчика скорости вашего автомобиля:
- Неправильная установка датчика скорости
- Электрические неисправности в проводке датчика скорости
- Повреждено звуковое кольцо
- Неисправность магнитного датчика скорости или катушки индуктивного датчика
- Загрязнение наконечника датчика скорости
- Обрыв связи между датчиком скорости трансмиссии и электронным блоком управления
- Плохое обслуживание автомобиля
Во избежание угроз безопасности, если вы заметили такие симптомы, как нестабильные показания спидометра или неисправный круиз-контроль, подумайте о том, чтобы проверил ваш VSS как можно скорее.
и замените его, если обнаружите дефект.
Стоимость замены датчика скорости зависит от марки и модели вашего автомобиля. Это также зависит от типа используемого в настоящее время датчика, такого как оптический датчик, датчик магнитного поля (датчик на эффекте Холла) или другой тип.
Однако замена датчика скорости обычно не является дорогостоящей для . Это не будет стоить дороже, чем другой значительный ремонт, например, замена тормозной магистрали и главного цилиндра .
С учетом сказанного, скорее всего, вам придется заплатить от 225 до 380 долларов за замену датчика скорости автомобиля.
Чтобы получить более точную оценку, просто заполните эту онлайн-форму .
Как заменить в вашем автомобиле Датчик скорости Вы можете попробовать самостоятельно заменить датчик скорости вращения колеса вашего автомобиля.
Но мы, , настоятельно рекомендуем обратиться за помощью к квалифицированному специалисту.
Почему?
Для начала вам понадобится несколько инструментов и защитное оборудование, чтобы безопасно произвести замену датчика скорости автомобиля.
А к ним относятся:
- Плоскогубцы
- Мультиметр
- Сканирующий инструмент
- Торцевой ключ
- Механические перчатки
- Средства защиты глаз
- И многое другое
Кроме того, если вы не произведете замену правильно способом, вы можете закончить с неисправным спидометром или системой круиз-контроля, может поставить под угрозу безопасность дорожного движения и привести к дополнительным расходам на ремонт .
Всегда лучше отнести машину в автомастерскую или попросить выездного механика .
При найме механика не забудьте убедиться, что это:
- Сертификат ASE
- Используйте только высококачественные запасные части и инструменты
- Предлагаем вам гарантийное обслуживание
Чтобы получить представление о том, что обычно включает в себя замена датчика скорости , вот разбивка того, что будет делать ваш механик скорее всего сделаю:
1.Подставьте под датчик дренажный поддон или ведро, чтобы собрать вытекающую жидкость.
2. Осторожно отсоедините датчик скорости автомобиля от системы трансмиссии.
3. Снимите разъем между проводкой автомобиля и датчиком скорости.
4. Ослабьте и снимите неисправный датчик скорости торцевым ключом.
5. Установите новый датчик скорости и снова подключите его к проводке.
6. Запустите двигатель и проведите тест-драйв, чтобы убедиться, что спидометр, система круиз-контроля и переключение передач работают должным образом.
Но где найти квалифицированного механика, который сможет провести надлежащий осмотр и замену датчика скорости?
Лучший способ сохранить скорость вашего Датчик в проверке: RepairSmithЕсли вы ищете простой способ отремонтировать датчик скорости, обратите внимание на RepairSmith , удобное и мобильное решение для ремонта и обслуживания автомобилей .
Вот почему вам следует положиться на RepairSmith для всех ваших потребностей в датчиках скорости:
- Замену датчика скорости можно произвести на подъездной дорожке , поэтому вам не нужно отвозить свой автомобиль в автомастерскую
- Все работы по ремонту и техническому обслуживанию датчика скорости выполняются с использованием высококачественного оборудования и запасные части
- Вы можете легко заказать ремонт датчика скорости на онлайн
- Вы можете сэкономить деньги, воспользовавшись нашим предложением с предоплатой и конкурентоспособными ценами .

- Только Сертификат ASE , эксперт мобильный техник Сервисное обслуживание вашего автомобиля
- На все ремонтные работы распространяется 12-месячная гарантия на 12000 миль
Датчик скорости автомобиля является важным компонентом, обеспечивающим правильную работу спидометра, круиз-контроля и коробки передач.
Если вы едете с неисправным датчиком скорости, вы можете не знать, насколько быстро вы едете, и это может поставить под угрозу вашу безопасность и безопасность окружающих.Более того, у вас, вероятно, будет плохой опыт вождения из-за резкого и нерегулярного переключения передач.
Чтобы этого не произошло, наймите механика, который проверит датчик скорости вращения колеса и при необходимости произведет замену.
К счастью, с RepairSmith найм мобильных техников стал проще, чем когда-либо!
Все, что вам нужно сделать, это заполнить онлайн-форму , и сертифицированные мобильные механики придут к вам на подъездную дорожку для проверки и замены датчика скорости.
Итак, если вам нужен простой и доступный сервис по ремонту для требований датчика скорости, свяжитесь с RepairSmith сегодня!
Датчик частоты вращения колеса ABS (цифровой)
Дополнительные указания
Датчики скорости вращения колес обеспечивают обратную связь с АБС и производными активными системами безопасности автомобиля (т.е.е. стабилизация и контроль тяги и т. д.).
Эти системы предназначены для обеспечения корректирующих действий (например, торможение колес или ограничение крутящего момента двигателя), когда шасси транспортного средства или скорости колес превысили их нормальные рабочие допуски, например, в условиях пробуксовки колес, избыточной или недостаточной поворачиваемости и т. Д. критично для работы этих систем и, следовательно, для безопасного обращения с транспортным средством.
Датчик на эффекте Холла — это полупроводниковое устройство, которое создает выходное напряжение, пропорциональное приложенному магнитному полю.
Датчик скорости вращения колеса на эффекте Холла использует эту технологию для создания прямоугольной волны на выходе в ответ на возмущения магнитного поля, вызванные вращающимся импульсным колесом, установленным вокруг ступицы или приводного вала.
Датчики скорости вращения колес на эффекте Холла требуют питания для работы; поэтому они называются активными датчиками. Эти датчики всегда имеют положительное напряжение питания, обычно 5 В, на одной клемме; однако они могут иметь одну из двух конфигураций терминала:
- Трехконтактные датчики имеют специальную цепь заземления и отдельную цепь выходного сигнала.
- Двухконтактные датчики имеют комбинированную схему сигнала и заземления, где заземление для датчика находится на уровне напряжения сигнала.
Невозможно отличить двухпроводные пассивные (индуктивные) и активные (Холла или магниторезистивный) датчики скорости вращения колес по их внешнему виду. С диагностической точки зрения это неудобно, поскольку активные датчики скорости вращения колеса никогда не должны подвергаться испытаниям на сопротивление: это может привести к повреждению этих узлов, и единственным выходом из этого является приобретение новой замены.
Следовательно, вы всегда должны либо консультироваться с данными производителя, чтобы определить установленный тип перед диагностическим тестированием, либо выполнять предполагаемую проверку PicoScope, чтобы идентифицировать датчик по характеристикам выходного напряжения.
Вы можете проверить наличие положительного напряжения питания на одной из клемм разъема датчика, чтобы определить, активен ли у вас тип датчика. Однако, если напряжение питания отсутствует из-за неисправности, а затем вы предполагаете, что датчик должен быть пассивным, и выполняете проверку сопротивления, вы можете повредить идеально исправный активный датчик.Это даст вам две ошибки.
Модуль управления ABS ожидает одинаковых (в пределах заданного допуска) прямоугольных частот от всех датчиков скорости вращения колес транспортного средства и использует любые различия для расчета времени и масштаба своих вмешательств.
Если один или несколько сигналов скорости вращения колеса постоянно выходят за рамки нормальных параметров, модуль управления может отключить функцию ABS (вместе с соответствующими системами тяги и устойчивости).
Контрольная лампа водителя будет гореть, но, как и в случае любой электрической неисправности АБС, будет поддерживаться нормальное гидравлическое торможение.
Датчики скорости вращения колес и их импульсные кольца подвергаются воздействию атмосферы и должны работать в условиях постоянной вибрации и движения. Таким образом, общие неисправности:
- Сбои сигнала датчика, вызванные истиранием или поломкой проводки цепи, коррозией датчика или разъема или неправильной установкой датчика.
- Проблемы, связанные с импульсным колесом, возникающие из-за корродированных или поврежденных зубьев, неправильной установки импульсного кольца (несоосность), загрязнения из-за накопления железосодержащих материалов или чрезмерного воздушного зазора между датчиком и импульсным колесом.
Цепи и разъемы датчика скорости колеса также подвержены атмосферным воздействиям и возможным электрическим сбоям, таким как обрыв или короткое замыкание или высокое сопротивление цепи.
Активные датчики скорости вращения колес могут быть повреждены из-за неправильных методов тестирования; в частности, применение испытаний на сопротивление.
Признаки неисправности датчика АБС
- Подсветка контрольной лампы АБС (и других соответствующих контрольных ламп).
- Диагностические коды неисправностей (DTC).
- Пульсация или вибрация педали тормоза.
- АБС неактивна.
Как проверить магнитный датчик скорости?
Чтобы проверить выход датчика , переключите DVOM на напряжение переменного тока. Поверните колесо или любую другую скорость , которую вы измеряете. Подсоедините провода измерителя к датчику и измерьте выходное напряжение переменного тока. Обычно, если вал поворачивается примерно на один оборот каждые 2 секунды, выход должен быть примерно равным.
Щелкните, чтобы увидеть полный ответ.
В связи с этим как проверить датчик скорости?
Тестирование датчика скорости автомобиля
- Поверните ключ зажигания в положение ВЫКЛ.

- Отсоедините разъем жгута проводов от VSS.
- С помощью цифрового вольт-омметра (DVOM) измерьте сопротивление (функция омметра) между выводами датчика. Если сопротивление 190–250 Ом, датчик в порядке.
Кроме того, что происходит, когда датчик скорости выходит из строя? При появлении признаков неисправности , , трансмиссия, , датчик скорости , модуль управления трансмиссией не может правильно управлять переключением передач в трансмиссии.Это может привести к повышению оборотов трансмиссии перед переключением передачи или к опережающей передаче с опозданием, а также к невозможности перехода на эту высшую передачу с .
Учитывая это, как работает магнитный датчик скорости?
Шаг 1: Магнитный датчик скорости Is Когда кусок черного металла перемещается к концу датчика , он изменяет форму магнитного поля в катушке, это изменяющееся магнитное поле затем индуцирует ток течет по обмоткам катушки, что приводит к выработке небольшого количества электроэнергии.
Как узнать, неисправен ли датчик скорости трансмиссии?
Вот симптомы неисправного или неисправного датчика скорости трансмиссии
- Жесткое или неправильное переключение передач. Без действительного сигнала скорости от этих датчиков PCM не сможет правильно управлять переключением передач в трансмиссии.
- Не работает круиз-контроль.
- Проверьте двигатель Загорается лампа.
Признаки неисправности датчика скорости и способы устранения неисправности датчика скорости
Датчик скорости вашего автомобиля служит различным целям.Одна из них заключается в том, что он передает сигналы на ваш спидометр — инструменты, которые показывают скорость вашего автомобиля при ускорении. Другое дело, что датчик скорости контролирует угол опережения зажигания и расход топлива. Этот же компонент автомобиля отвечает за круиз-контроль.
Как видите, датчик скорости очень важен с учетом того, что он делает с вашим автомобилем. В соответствии с этим многие вещи могут указывать на то, что ваш датчик скорости больше не работает должным образом.
В этом посте позвольте мне рассказать вам больше о датчике скорости, его работе, проблемах, которые он может вызвать после поломки, и о том, как лучше всего это исправить.
Для чего нужен датчик скорости трансмиссии?
VSS или датчик скорости автомобиля , также называемый датчиком скорости трансмиссии, представляет собой крошечное устройство, установленное на трансмиссии вашего автомобиля. Как я уже сказал, его основная функция — измерение скорости вашего автомобиля с помощью вращающегося зубчатого колеса, которое вы найдете в валу трансмиссии.
Датчик скорости трансмиссии выдает индикаторы низкого напряжения. Если ваш датчик скорости неисправен, пострадает не только работа спидометра, потому что трансмиссия и системы управления двигателем также зависят от данных, генерируемых датчиком скорости.Эти две системы работают вместе с VSS, чтобы внести необходимые изменения, которые позволят вашему автомобилю работать плавно и эффективно.
Исходя из моих наблюдений и опыта, некоторые другие системы также могут пострадать, когда датчик скорости не в порядке. Одним из них является круиз-контроль, который также использует данные, создаваемые датчиком скорости.
Признаки неисправности датчика скорости
Как узнать, неисправен ли мой датчик скорости?
Если у вашего датчика скорости есть проблема, вы можете подтвердить это, проверив свой автомобиль на следующие 4 распространенных симптома датчика скорости трансмиссии:
Неисправный круиз-контроль
Датчик скорости вашего автомобиля должен оставаться эффективным и функциональным для обеспечения эффективности вашей системы круиз-контроля.Если ваш блок управления двигателем не получает правильные данные о скорости вашего автомобиля, система круиз-контроля также не сможет генерировать и поддерживать желаемую скорость.
Система управления двигателем вашего автомобиля не может обнаружить проблему.
Вместо этого он просто не позволит вам использовать круиз-контроль, пока проблема не будет устранена. Допустим, вы не используете круиз-контроль каждый раз, когда едете. Если это так, и вы чувствуете, что датчик скорости сломан, я предлагаю вам проверить их, попытавшись использовать систему круиз-контроля, и выяснить это.
Контрольная лампа двигателя
Мигание «контрольной лампы двигателя» не всегда относится к поврежденному датчику скорости, потому что это может означать и другие вещи. Однако, если вы уже заметили неисправный круиз-контроль вместе с горящим индикатором проверки двигателя, проблема, несомненно, заключается в поломке датчика скорости.
Данные, которые предоставляет регулятор скорости, более важны для вашей системы управления двигателем. Если он не получит точную информацию, система управления двигателем сообщит вам о проблеме, включив индикатор проверки двигателя.
Связано: Как отключить индикатор проверки двигателя на постоянной основе
Поскольку датчик скорости не может генерировать необходимые данные, PCM не сможет эффективно управлять перемещением шестерен внутри системы трансмиссии.
В этом случае трансмиссия может переключаться неровно или быстрее, чем следовало бы. Неисправный датчик скорости также может повлиять на синхронизацию переключения передач вправо, что изменяет интервал между переключениями.
Автоматические коробки передач имеют гидравлическое управление и должны безупречно переключаться.Плохое переключение передач может повредить внутренние компоненты, такие как гидравлические трубопроводы, корпуса клапанов и механические шестерни. Свяжитесь с кем-нибудь вроде меня, как только обнаружите какие-либо проблемы с переключением передач.
Отключена рукоятка гидротрансформатора
Рукоятка гидротрансформатора вашего автомобиля начинает работать с предварительно запрограммированной скоростью. Если датчик скорости не может выдать необходимую точную информацию, это будет означать, что преобразователь крутящего момента не может задействовать необходимое сцепление и создать механическое соединение между трансмиссией и системами двигателя.
Это может привести к снижению расхода топлива, пробуксовке и перегреву коробки передач.
Считать 7 признаков пробуксовки сцепления
Могу ли я вести машину с неисправным датчиком скорости трансмиссии?
Повреждение датчика скорости может сделать вождение небезопасным. Неспособность отремонтировать немедленно ставит под угрозу ваш автомобиль и вашу безопасность.
Как проверить свой VSS?
Как только вы заметите любой из упомянутых мною симптомов, вы должны принести свой автомобиль в местную автомастерскую.Имея дело с подозрением на поломку датчика скорости, я провожу диагностический тест с помощью ПК на автомобиле для правильной диагностики. Поскольку некоторые проблемы, связанные с датчиком скорости, имеют отношение к трансмиссии, лучше всего проконсультироваться в автомастерской в вашем районе, прежде чем отправиться в специализированные ремонтные мастерские.
Также читайте: как вывести машину из режима без тормозов
Как исправить неисправный датчик скорости
По умолчанию в вашем автомобиле установлен датчик скорости.
В конечном итоге этот датчик выйдет из строя и вызовет множество проблем в вашем автомобиле.Не волнуйся. Я дам вам инструкции по ремонту поврежденного датчика скорости.
Необходимые предметы:
Направления:
Припаркуйте автомобиль на хорошей ровной поверхности. Включите аварийный тормоз, затем выключите двигатель. Если вы только что использовали машину, дайте ей отдохнуть до 30 минут. Приступайте к работе, когда компоненты уже остынут.
Установите домкрат с левой и правой стороны автомобиля.Поднимайте автомобильные домкраты до тех пор, пока не останется достаточно места, чтобы вы могли пройти под автомобилем. Сдвиньте под машину, лежа на спине.
Начните проверку со стороны пассажира вашего автомобиля, где вы найдете систему трансмиссии. Тот, что находится справа, — это датчик скорости автомобиля.
Это небольшая заглушка, которая выходит сбоку. VSS имеет длину примерно 3 дюйма и имеет электрический разъем, который выходит прямо из него.
Отсоедините электрический провод. Вытяните основание разъема провода прямо из вилки.Теперь у вас есть легкий доступ к болту, который удерживает датчик скорости в целости и сохранности. Гаечным ключом начните откручивать болт. Поверните ключ против часовой стрелки, чтобы открутить поврежденный датчик скорости. Выбросить .
Совместите новый VSS с трансмиссией вашего автомобиля. Закрутите его по часовой стрелке, чтобы прикрепить и затянуть. Замените болт и затяните его, чтобы новый датчик скорости оставался на месте. Подключите электрическую базу датчика скорости, ожидая щелчка. Выскользните из-под днища автомобиля и опустите домкраты.
Заключение:
Это все, что я могу рассказать о неисправности датчика скорости. Не тратьте время зря. Если вы чувствуете, что не можете исправить это в одиночку, возможно, лучше обратиться к ближайшему автомеханику.
Как проверить датчик частоты вращения выходного вала? — Mvorganizing.org
Как проверить датчик частоты вращения выходного вала?
Чтобы проверить выходной сигнал датчика, переключите DVOM на напряжение переменного тока. Вращайте колесо или другую скорость, которую вы измеряете. Подсоедините провода измерителя к датчику и измерьте выходное напряжение переменного тока.Как правило, если вал поворачивается примерно на один оборот каждые 2 секунды, выходной сигнал должен быть примерно равным.
Как узнать, неисправен ли датчик скорости передачи?
- Перед переключением передачи трансмиссия увеличивает число оборотов.
- Трансмиссия автомобиля поздно переключается на повышенную передачу и иногда никогда не переключается на эту высшую передачу.
- Тормоза при движении накатом иногда сильнее обычного.
- Спидометр работает нестабильно или иногда вообще не работает.
Могу ли я водить машину с неисправным датчиком скорости трансмиссии?
Неисправный датчик скорости трансмиссии делает переключение передач грубым и трудным и может оставить вас без точного спидометра.
Все это составляет опасную езду, усугубляемую тем фактом, что ваш автомобиль, вероятно, менее эффективен и производит больше вредных выбросов.
Что вызывает неисправность датчика скорости трансмиссии?
Со временем датчик скорости трансмиссии может выйти из строя из-за проблем с проводкой или просто выйти из строя из-за того, что он постоянно используется каждый раз, когда вы управляете автомобилем. Если датчик магнитный, он может испортиться из-за прилипания железа к кончику датчика, что приведет к неточным показаниям.
Можете ли вы проверить модуль управления раздаточной коробкой?
Вы должны выполнить самотестирование TCCM, чтобы определить, нужно ли вам изменять этот компонент или нет. Поверните ключ зажигания, наблюдая за индикаторами переключателя управления переключением раздаточной коробки. При работающем TCCM все индикаторы мигают, прежде чем вернуться к текущей передаче.
Где находится блок управления раздаточной коробкой?
Где находится модуль управления раздаточной коробкой? Модуль управления раздаточной коробкой: это мозг системы.
Он расположен под панелью приборов, над педалью стояночного тормоза, за большим металлическим кронштейном.
Что такое блок управления раздаточной коробкой?
Модуль управления раздаточной коробкой (TCCM) — это мозг систем GM 4WD с электронным переключением передач. TCCM обрабатывает запрос на смену от кнопок переключателя режимов, установленных на приборной панели, выполняет смену и проверяет, была ли смена завершена.
Как узнать, переключает ли моя раздаточная коробка мотор?
Модуль управления раздаточной коробкой управляет только раздаточной коробкой и находится внутри грузовика.Если вы снимете панель обивки под рулевой колонкой, то увидите, что модуль управления раздаточной коробкой установлен справа от отверстия. Электродвигатель переключения передач расположен сразу за осевой трубой, чтобы предотвратить повреждение.
Toyota RAV4 Service Manual: Процедура тестового режима — Система контроля устойчивости автомобиля
Подсказка:
- Путем переключения ЭБУ системы противоскольжения из нормального режима в
тестовый режим, повышена чувствительность обнаружения неисправностей
и устранение неисправностей может быть проведено эффективно.

- Провести проверку датчика в тестовом режиме после определения скорости. датчик или ротор датчика был отремонтирован или заменен.
- Если ключ зажигания включен с на акк или выключен во время тестового режима, dtcs, относящиеся к проверке сигнала функция будет удалена.
- В режиме тестирования ЭБУ системы противоскольжения сохраняет все dtcs. связаны с функцией проверки сигнала, а dtcs стирается, если подтверждается нормальность. Любые оставшиеся dtcs те, которые указывают на обнаруженные отклонения.
- Проверить сигнал датчика в тестовом режиме (при использовании интеллектуальный тестер)
- Процедуры для тестового режима:
- Выключите зажигание.
- Убедитесь, что рулевое колесо находится по центру позиция.
- Убедитесь, что рычаг переключения передач находится в положении p и включите стояночный тормоз.
- Подключите интеллектуальный тестер (с CAN VIM) к
файл dlc3.

- Включите зажигание.
- Включите тестер.
- Переведите интеллектуальный тестер в режим тестирования (выберите «проверка сигнала»).
Подсказка:
См. Руководство оператора интеллектуального тестера. для получения дополнительной информации.
- Убедитесь, что контрольная лампа abs и vsc сигнальная лампа мигает, как показано на рисунке.
Подсказка:
Если контрольная лампа abs и предупреждение vsc сигнальная лампа не мигает, проверьте ts и cg клеммная цепь и сигнальная лампа abs и vsc схемы.
- Запустите двигатель.
- Только с 16-дюймовым диском: проверьте оценку потерянного давления в бустере и выполнить обнуление датчика давления в главном цилиндре точечная калибровка.
Уведомление:
Предварительная проверка потери давления в бустере
состояние (отрицательное давление в бустере
без давления).
- Включите зажигание.
- Убедитесь, что загорается сигнальная лампа тормоза. при нажатии на педаль тормоза с усилием 59 н (6 кгс, 13.2 фунта силы) или более в течение 1 секунды или более. (Состояние потери давления в бустере оценивается нормально.)
- Запустите двигатель, нажав педаль тормоза с усилие 59 н (6 кгс, 13,2 фунт-силы) или более на 1 второй или больше.
- Убедитесь, что сигнальная лампа тормоза гаснет, когда быстро отпустить педаль тормоза. (Потерянный давление в бустере оценивается как нормальное.)
- Выйдите из автомобиля на 1 секунду или более. (Мастер калибровка нулевой точки датчика давления в баллоне.)
Уведомление:
- Если вы медленно нажимаете педаль тормоза или нажмите еще раз, давление в главном цилиндре калибровка нулевой точки датчика не выполняется нормально.
- Если потеряна оценка давления бустера
проверка не завершается нормально,
проверка датчика давления в главном цилиндре
не судили.
- Если повторная проверка выполняется после двигателя запущен, завершите тестовый режим, войдите в тестовый снова и отпустите вакуум в бустер путем прокачки педали тормоза перед повторной проверкой.
- Проверить датчик замедления.
- Держите автомобиль неподвижно на ровной поверхности в течение 1 секунда или больше.
Подсказка:
Проверка датчика замедления может быть исполняется вместе со следующим мастером проверка датчика давления в баллоне.
- Проверить датчик давления в главном цилиндре.
- Оставить автомобиль в неподвижном состоянии и
отпустить педаль тормоза на 1 секунду или более,
и быстро нажмите педаль тормоза с силой
98 н (10 кгс, 22 фунта силы) или более в течение 1 секунды.
Убедитесь, что контрольная лампа ABS горит. горит в течение 3 секунд.
Подсказка:
- Убедитесь, что загорается сигнальная лампа абс.

- Пока горит контрольная лампа абс горит, продолжайте нажимать на тормоз педаль с усилием 98 н (10 кгс, 22 фунта силы) или более.
- Контрольная лампа абс горит на 3 секунд каждый раз при нажатии на педаль тормоза выше выполняется.
- Проверить датчик скорости.
- Двигайтесь прямо вперед со скоростью 45 км / ч (28 миль / ч) или более для нескольких секунд.
- Убедитесь, что сигнальная лампа абс гаснет.
Уведомление:
- Проверка датчика скорости может не быть завершено, если проверка датчика начал с поворота руля или одно или несколько колес крутятся.
- Если проверка датчика скорости началось, пока рулевое колесо повернулся, сигнальная лампа абс может включается после проверки низкой скорости законченный.
- Загорается сигнальная лампа абс.
немедленно, когда аномалия
обнаружен.
- Когда сигнал датчика скорости нормально, сигнальная лампа абс гаснет при движении со скоростью 45 км / ч (28 миль / ч) или больше, а в тестовом режиме мигает шаблон, когда автомобиль неподвижен.
- Не вести автомобиль со скоростью 80 км / ч (50 миль / ч) или более после абс. сигнальная лампа выключается, потому что тест режим dtcs снова устанавливается, когда скорость автомобиля превышает 80 км / ч (50 миль / ч).
- Остановите автомобиль.
- Проверьте датчик скорости рыскания.
- Переведите рычаг переключения передач в положение p и установите парковку. рычаг тормоза.
- Убедитесь, что сигнальная лампа VSC мигает, когда показано на рисунке.
- Держите автомобиль неподвижно на ровной поверхности в течение 1 секунда или больше.
- Переведите рычаг переключения передач в положение d и двигайтесь.
автомобиль на скорости около 5 км / ч
(3 мили в час) и поверните рулевое колесо либо в
влево или вправо на 90 ° или более, чтобы повернуть автомобиль
через 180 °. - Остановите автомобиль, переведите рычаг переключения передач в положение положение, а затем включите стояночный тормоз.
- Убедитесь, что зуммер системы противоскольжения звучит 3 раза. секунд.
Подсказка:
- Если звучит зуммер системы противоскольжения, значит, сигнал проверка прошла нормально.
- Если зуммер системы противоскольжения не звучит, проверьте цепь зуммера системы противоскольжения (см. стр. bc-172).
- Если зуммер системы противоскольжения по-прежнему не звучит, неисправен датчик скорости рыскания, так что проверьте dtcs
- Совершите поездку на автомобиле по полукругу 180 °.На конец поворота, направление движения автомобиля должен находиться в пределах 180 + -5 ° от своего начального положения.
- Завершите поворот автомобиля за 20 секунд.

- Колеса не крутятся.
- Только с ассистентом движения на спуске:
Проверьте переключатель управления ассистентом движения на спуске.
- Убедитесь, что сигнальная лампа VSC мигает, когда показано на рисунке.
- Проверьте переключатель управления ассистентом движения на спуске.
1. Включите переключатель ассистента движения на спуске.
2. Выключите переключатель помощи при спуске с холма.
- Только с авто lsd:
- Убедитесь, что световой индикатор Auto lsd горит только при нажатии переключателя auto lsd.
- Проверить конец датчика.
- При успешной проверке датчика завершено, контрольная лампа абс мигает в шаблон тестового режима при остановке автомобиля, и гаснет при движении автомобиля.
Уведомление:
Если проверка датчика не завершена,
Контрольная лампа абс мигает, даже когда
автомобиль едет, а пресс не
работать.
- Считайте dtcs функции проверки сигнала.
- Прочтите dtc (а), следуя инструкциям на экран тестера.
Уведомление:
- Если отображаются только dtcs, отремонтируйте область неисправности и очистите DTC.
- Если коды dtcs или тестового режима (dtc of функция проверки сигнала) отображаются, отремонтировать зону неисправности, очистить dtcs и выполните тестовый режим осмотр.
Подсказка:
См. Список dtc (см. «Dtc of test функция режима (проверка сигнала) «ниже).
- Проверить сигнал датчика в тестовом режиме (если не с помощью интеллектуального тестера)
- Процедуры для тестового режима:
- Выключите зажигание.
- Убедитесь, что рулевое колесо находится по центру позиция.
- Убедитесь, что рычаг переключения передач находится в положении p и
включите стояночный тормоз.

- Соедините клеммы 12 (ts) и 4 с помощью нержавеющей стали. (cg) файла dlc3.
нержавеющая сталь 09843-18040
- Включите зажигание.
- Убедитесь, что контрольная лампа abs и vsc сигнальная лампа мигает, как показано на рисунке.
Подсказка:
Если контрольная лампа abs и предупреждение vsc сигнальная лампа и мультиинформационный дисплей и главный индикатор предупреждения не мигает, проверьте клеммы ts и cg, а также abs и Цепи сигнальной лампы VSC.
- Запустите двигатель.
- Вт / 16-дюймовый диск:
Проверить оценку потерянного давления бустера и выполнить обнуление датчика давления в главном цилиндре точечная калибровка.
Уведомление:
Предварительная проверка потери давления в бустере состояние (отрицательное давление в бустере без давления).
- Включите зажигание.

- Убедитесь, что загорается сигнальная лампа тормоза. при нажатии на педаль тормоза с усилием 59 н (6 кгс, 13.2 фунта силы) или более в течение 1 секунды или более. (Состояние потери давления в бустере оценивается нормально.)
- Запустите двигатель, нажав педаль тормоза с усилие 59 н (6 кгс, 13,2 фунт-силы) или более на 1 второй или больше.
- Убедитесь, что сигнальная лампа тормоза гаснет, когда быстро отпустить педаль тормоза. (Потерянный давление в бустере оценивается как нормальное.)
- Выйдите из автомобиля на 1 секунду или более. (Мастер калибровка нулевой точки датчика давления в баллоне.)
Уведомление:
- Если вы медленно нажимаете педаль тормоза или нажмите еще раз, давление в главном цилиндре калибровка нулевой точки датчика не выполняется нормально.
- Если потеряна оценка давления бустера
проверка не завершается нормально,
проверка датчика давления в главном цилиндре
не судили.
- Если повторная проверка выполняется после двигателя запущен, завершите тестовый режим, войдите в тестовый снова и отпустите вакуум в бустер путем прокачки педали тормоза до перепроверки
- Проверить датчик замедления.
- Держите автомобиль неподвижно на ровной поверхности в течение 1 секунда или больше.
Подсказка:
Проверка датчика замедления может быть исполняется вместе со следующим мастером проверка датчика давления в баллоне.
- Проверить датчик давления в главном цилиндре.
- Оставить автомобиль в неподвижном состоянии и
отпустить педаль тормоза на 1 секунду или более,
и быстро нажмите педаль тормоза с силой
98 н (10 кгс, 22 фунта силы) или более в течение 1 секунды.
Убедитесь, что контрольная лампа ABS горит. горит в течение 3 секунд.
Подсказка:
- Убедитесь, что загорается сигнальная лампа абс.

- Пока горит контрольная лампа абс горит, продолжайте нажимать на тормоз педаль с усилием 98 н (10 кгс, 22 фунта силы) или более.
- Контрольная лампа абс горит на 3 секунд каждый раз при нажатии на педаль тормоза выше выполняется.
- Проверить датчик скорости.
- Убедитесь, что контрольная лампа abs мигает как показано на рисунке.
- Проверить сигнал датчика скорости.
1. Двигайтесь прямо вперед со скоростью. 45 км / ч (28 миль / ч) или более для нескольких секунд.
2. Убедитесь, что сигнальная лампа абс гаснет.
Уведомление:
- Проверка датчика скорости может не быть завершено, если проверка датчика начал с поворота руля или одно или несколько колес крутятся.
- Если проверка датчика скорости
началось, пока рулевое колесо
повернулся, сигнальная лампа абс может
включается после проверки низкой скорости
законченный.
- Загорается сигнальная лампа абс. немедленно, когда аномалия обнаружен.
- Когда сигнал датчика скорости нормально, сигнальная лампа абс гаснет при движении со скоростью 45 км / ч (28 миль / ч) или больше, а в тестовом режиме мигает шаблон, когда автомобиль неподвижен.
- Не вести автомобиль со скоростью 80 км / ч (50 миль / ч) или более после абс. сигнальная лампа выключается, потому что тест режим dtcs снова устанавливается, когда скорость автомобиля превышает 80 км / ч (50 миль / ч).
3. Остановите автомобиль.
- Проверить датчик скорости рыскания.
- Переведите рычаг переключения передач в положение p и установите парковку. рычаг тормоза.
- Убедитесь, что сигнальная лампа VSC мигает, когда показано на рисунке.
- Держите автомобиль неподвижно на ровной поверхности в течение
1 секунда или больше.

- Переведите рычаг переключения передач в положение d и двигайтесь. автомобиль на скорости около 5 км / ч (3 мили в час) и поверните рулевое колесо либо в влево или вправо на 90 ° или более, чтобы повернуть автомобиль через 180 °.
- Остановите автомобиль, переведите рычаг переключения передач в положение положение, а затем включите стояночный тормоз.
- Убедитесь, что зуммер системы противоскольжения звучит 3 раза. секунд.
Подсказка:
- Если звучит зуммер системы противоскольжения, значит, сигнал проверка прошла нормально.
- Если зуммер системы противоскольжения не звучит, проверьте цепь зуммера системы противоскольжения (см. стр. bc-172).
- Если зуммер системы противоскольжения по-прежнему не звучит, неисправен датчик скорости рыскания, так что проверьте dtcs.
- Совершите поездку на автомобиле по полукругу 180 °. На
конец поворота, направление движения автомобиля
должен находиться в пределах 180 + -5 ° от своего начального положения.

- Завершите поворот автомобиля за 20 секунд.
- Колеса не крутятся.
- Только с управлением ассистентом движения на спуске:
Проверьте переключатель управления ассистентом движения на спуске.
- Убедитесь, что сигнальная лампа VSC мигает, когда показано на рисунке.
- Проверьте переключатель управления ассистентом движения на спуске.
1. Включите переключатель ассистента движения на спуске.
2. Выключите переключатель помощи при спуске с холма.
- Только с авто lsd:
Проверьте конец датчика.
- При успешной проверке датчика завершено, контрольная лампа абс мигает в шаблон тестового режима при остановке автомобиля, и гаснет при движении автомобиля.
Уведомление:
Если проверка датчика не завершена,
Контрольная лампа абс мигает, даже когда
автомобиль едет, а пресс не
работать.
- Считайте dtcs функции проверки сигнала.
- Соедините клеммы 13 (tc) и 4 с помощью нержавеющей стали.
(cg) файла dlc3.
Sst 09843-18040
- Включите зажигание.
- Подсчитайте количество миганий абс и vsc предупреждающий свет.
Подсказка:
В качестве примера мигающие символы dtcs 71 и 74 показаны ниже.
Уведомление:
- Если отображаются только dtcs, отремонтируйте область неисправности и очистите dtcs.
- Если коды dtcs или тестового режима (dtc of функция проверки сигнала) отображаются, отремонтировать неисправный участок, очистить dtcs и выполните тестовый режим осмотр.)
Подсказка:
- Если обнаружено более 1 неисправности на в то же время код с наименьшим номером будет отображается первым.
- См. Список dtc (см. «Dtc of test функция режима (проверка сигнала) » ниже).
- Если все датчики в норме, нормальная система код выводится (лампочка загорается на 0,25 Секунды с интервалом 0,25 секунды).
- После проверки отсоединить ССТ от клемм 13 (tc) и 4 (cg) файла dlc3.
- Выключите зажигание.
- Dtc функции тестового режима (проверка сигнала)
Подсказка:
- *: с управлением ассистентом движения на спуске
- DTC в этой таблице выводятся только в тестовом режиме.
- Обнаружение dtcs от c1271 / 71 до c1274 / 74 является завершено до того, как скорость автомобиля достигнет 5 км / ч (3 мили в час).
- Обнаружение dtcs от c1275 / 75 до c1278 / 78 есть завершено до того, как скорость автомобиля достигнет 45 км / ч (28 миль / ч). От
- C1271 / 71 до c1274 / 74: выход скорости только от одно колесо очень низкое, несмотря на скорость вращения другого колеса выходы достигают 5 км / ч (3 мили в час).
- C1275 / 75 — c1278 / 78: выход датчика ненормальной скорости частота такая, как показано на рисунке.
Калибровка
Описание После замены компонентов, относящихся к vsc или выполнение «регулировки углов установки передних колес», очистите и прочтите данные калибровки датчика.Следуйте диаграмме, чтобы п …Таблица признаков неисправности
Намекать: Используйте приведенную ниже таблицу, чтобы определить причину симптом проблемы. Возможные причины симптомов перечислены в порядке вероятности в «подозрительной зоне» столбец …Прочие материалы:
Двигатель
Технический осмотр Проверьте охлаждающую жидкость двигателя.
Проверьте моторное масло
Осмотрите аккумулятор
Осмотрите подузел фильтрующего элемента воздушного фильтра. Снимите крышку воздушного фильтра.Снимите элемент воздушного фильтра.
Визуально убедитесь, что воздушный фильтр не слишком
поврежденный или маслянистый. При необходимости перепр …
Идентификатор передатчика не зарегистрирован в основном режиме
Описание Порядок осмотра
Уведомление:
После замены давления в шинах необходимо прописать id код.
предупреждающий клапан и
передатчик и / или ЭБУ монитора давления в шинах (см. стр. tw-9).
Намекать:
Установите давление в шинах на указанное значение.Стандартное давление:
220 кПа (2,2 …
Масло дифференциала
Осмотр на автомобиле Проверить масло дифференциала Остановите автомобиль на ровной поверхности.
Используя торцевой шестигранный ключ на 10 мм, снимите
Пробка и прокладка заливной горловины заднего дифференциала. Убедитесь, что уровень масла находится в диапазоне от 0 до 5 мм (от 0 до 5 мм).
0,20 дюйма) От нижней губы разных …










автомобиль на скорости около 5 км / ч
(3 мили в час) и поверните рулевое колесо либо в
влево или вправо на 90 ° или более, чтобы повернуть автомобиль
через 180 °.




