Фаркоп на Рено Логан своими руками: чертежи с размерами, фото
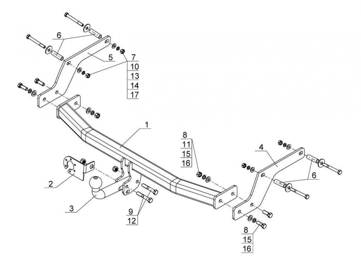
Фаркоп – это балка с боковыми фланцами, которая крепится к лонжеронам. В центре балки установлен крюк, за который зацепляют прицеп. Конструкция фаркопа должна содержать минимальное число деталей. Мы приводим чертёж фаркопа для Рено Логан первого поколения. Он, то есть этот чертёж, содержит 8 элементов. А дальше рассмотрено, что нужно сделать, чтобы фаркоп был совместим с конструкцией машин из поколения II – тех, которые с 2014 года выпускает завод ВАЗ.
О том, как проще установить фаркоп, у нас рассказано на видео.
Чертежи всех деталей с размерами, вариант 1 (Рено Логан фаза 1 и 2)
Можно изготовить фаркоп на Рено Логан своими руками, но чертежи надо изучить очень внимательно.
Конструкция в сборе
Вся конструкция состоит из трёх узлов – двух фланцев и одной балки. Боковые фланцы будем называть кронштейнами. Их чертёж показан на фото.
Боковой кронштейн (2 шт.)
Балка в сборе включает в себя пять деталей. Сама балка – это труба с внешними размерами 60 на 40. Можно использовать трубу сечением 40 на 40, но тогда уменьшится вырез в «щеке»: размеры 50 и 115 станут равными 40 и 125. Тут всё просто.
Все детали узла «балка»
Обратите внимание – гайка М12 должна быть приварена к фланцу. При невозможности это выполнить в стенке трубы сверлят монтажные отверстия. Но лучше так не делать – балка должна остаться герметичной!
Чертежи фаркопа на Рено Логан, показанные выше, получены методом замера деталей, входящих в фабричный комплект. Гайки и винты М12 стягивают всю конструкцию, а сама она на болтах и гайках M10 крепится к лонжеронам.
Кстати, ещё будут нужны втулки. Их размеры приведёны в главе 4.
Крюк
В комплекте, о котором идёт речь, была деталь с названием «крюк». Приводим её размеры.
Самая важная деталь фаркопа
Диаметр шара, показанный здесь, является стандартным – 50 мм. Технологию изготовления мы не рассматриваем.
Внешний вид фаркопа по чертежу №1
Ниже показано, как выглядит фаркоп из «Проекта 1». О его установке читайте дальше.
Самоделка для авто из первого поколения
Тем, кто не умеет пользоваться сваркой, об изготовлении чего-то подобного проще забыть.
Толщина стального листа должна быть не менее 3 мм. Толщина стенок балки – 2,5 мм. Меньше – нельзя!
Чертёж бокового кронштейна, доработанный вариант (фаза 3)
Для последнего поколения седанов Логан в «Проект 1» вносят изменения. Точнее, меняется форма кронштейна.
Боковой кронштейн для фазы «3»
Поменялась дистанция между крепёжными отверстиями.
А ещё, сам кронштейн был удлинён.
Техника монтажа фаркопа к кузову
Подробнее о монтаже фаркопа на Рено Логан в этом материале.
Нужно изготовить четыре втулки, таких, как на чертеже. Фаркоп из любого проекта собирают на болтах и гайках М12. Ну а крепят его винтами М10x90. Кстати, желательно использовать контр-гайки и шайбы.
Дополнительные крепёжные элементы
Важно соблюдать одно правило: все гайки сначала только наживляют. Когда фаркоп собран, надо с усилием потянуть балку назад. И в это время, не отпуская балку, по очереди затягивают гайки М10.
Похоже, что без помощника будет всё же не обойтись.
Работы по установке фаркопа на автомобиле
Благодаря высокому клиренсу Логана можно обойтись и без подъёмника. В лонжеронах для монтажа предусмотрены четыре отверстия. Но они закрыты мастикой. Сделайте следующее:
- Откройте багажник;
- На полу по бокам находятся две ниши.
С внутренней стороны этих ниш можно нащупать заглушки; - Каждую из заглушек вынимают. Шилом изнутри багажника прокалывают отверстия в мастике.
Чтобы при монтаже не мешал глушитель, надо отстегнуть одну из резиночек – ту, которая ближе к бамперу.
Глушитель, заглушка, монтаж кронштейна
Результат всех стараний показан на фото. Здесь используются самоконтрящиеся гайки (и М10, и М12). Желаем успеха.
Технология резки металла в гараже – пример на видео
Фаркопы на Renault Logan по сходной цене с доставкой по России

Специализированный центр ГулливерАвто предлагает купить фаркоп с доставкой в любой регион России. Также в нашем интернет-магазине всегда в наличии широкий ассортимент автоаксессуаров и дополнительного оборудования: шумоизоляция, автосигнализация, товары для тюнинга экстерьера и интерьера авто. В условиях нашего сервисного центра выполняется установка фаркопа и любых других аксессуаров для автомобиля с сохранением гарантии.
Разновидности фаркопов для Рено Логан.
Конструктивно ТСУ представляет собой несущую раму, прикрепляемую к кузову транспортного средства и соединительный механизм, выполненный в виде крюка с шаровидным окончанием.
Подобный вид сцепного устройства является универсальным и подходит для присоединения любых типов автомобильных прицепов. Предлагаемые нами на
Renault Logan фаркопы отличаются внешним видом и могут использоваться также в качестве средства дополнительного тюнинга авто — особенно это касается
хромированных моделей.
По типу конструкции тягово-сцепные устройства делятся на следующие:
— условно-съемные на двух болтах. Представляют собой оптимальное соотношение доступной стоимости и высокой функциональности. Такие ТСУ быстро и без труда устанавливаются, а при необходимости оперативно снимаются;
— фланцевые фаркопы. Они рассчитаны на высокие нагрузки и могут использоваться для транспортировки прицепов грузоподъемностью до 3,5 тонн;
— быстросъемные модели. За счет специальной системы креплений они легко и быстро могут быть сняты при необходимости. При этом отличаются высокой механической прочностью и долговечностью.
Важно учитывать, что электрика для фаркопа поставляется не со всеми видами ТСУ для Рено Логан. Узнать о наличии электрики или выбрать оптимальный для авто вариант можно, связавшись со специалистами нашего интернет-магазина.
Купить фаркоп на Renault Logan.
Представленные в нашем каталоге тягово-сцепные устройства оптимально отвечают конструкции Renault Logan, что гарантирует легкость их установки и беспроблемную эксплуатацию. Прежде чем купить фаркоп, важно учесть следующие нюансы:
— максимально допустимую массу прицепа с грузом;
— периодичность эксплуатации прицепа;
— тип часто использующегося дорожного покрытия.
От грузоподъемности прицепа и типа дорожного покрытия зависят нагрузочные способности ТСУ. И подбирать фаркоп рекомендуется с запасом прочности, увеличивающимся при условиях
эксплуатации авто с прицепом по проселочным или гравийным дорогам. От периодичности эксплуатации прицепа зависит конструкция тягово-сцепного устройства: если предполагается его
редкое использование, то лучшим решением станет установить фаркоп на Рено Логан быстросъемной конструкции, который можно снимать и
оперативно устанавливать только в случае использования прицепа.
Также при выборе нужно учитывать конфигурацию электрооборудования автомобиля — в Renault Logan свежих годов выпуска работа задних фонарей контролируется бортовым компьютером, и в случае прямого подключения электрооборудования прицепа возможно появление ошибок в БК. В этом случае необходимо дополнительно устанавливать блок согласования фаркопа — конкретную версию блока вам помогут выбрать специалисты центра ГулливерАвто. При необходимости вы можете записаться на установку любого приобретенного в нашем магазине оборудования или автосигнализации в установочном центре компании.
Фаркопы на Renault Logan
Фаркопы на Renault Logan в широком ассортименте от лидеров рынка недорого в ГулливерАвто.Фаркоп на логан своими руками: как установить, видео
Продукция французских производителей на фоне всего остального мирового автомобильного рынка всегда отличались капризностью при эксплуатации и высокой стоимостью технического обслуживания.
Ситроены и пежо требуют гораздо больше материальных вложений, чем японские или корейские машины аналогичного класса. Конструкторы Рено решили отойти от этой неприятной традиции и разработали в 2004–2007 г автомобиль народного типа Рено Логан. Широкому кругу рядовых автолюбителей из Франции и, особенно, Восточной Европы новинка сразу пришлась по душе. Казалось, что французские производители продумали все необходимые для комфортной эксплуатации опции, однако кое-чего машине не хватает. Для народного автомобиля важна полная функциональная нагрузка, имеется в виду перевозка достаточного количества полезного груза. Этому способствует наличие фаркопа.
Всего 10% автомобилей французского производства оборудуется этим полезным приспособлением в заводских условиях. Поэтому большинству автолюбителей приходится заниматься его монтажом практически в домашних условиях, что не представляет для водителя со стажем неразрешимой задачи. При наличии инструмента и свободного времени эта процедура займёт не более 2,5 часов.
Сборка и установка фаркопа
Следует помнить, что модификация кузова автомобиля на процесс установки фаркопа практически не повлияла. Конструкторские изменения не коснулись этой зоны. Специалисты рекомендуют использовать фаркоп украинской фирмы Vastol как наиболее доступный по ценовой политике. Он применяется с 2005 г. Необходимо учитывать, что новая модификация кузова не предусматривает для установки фаркопа снятия заднего бампера и прорезки отверстий в кузове. Комплект прицепного устройства оснащён всем необходимым, и крепление производится в отверстия, подготовленные на заводе-производителе.
Виды и типы фаркопов для различных моделей автомобилей
Устройство представляет из себя комбинацию крепёжной части и непосредственно крюка для фиксирования прицепа. Оно изготавливается из различных материалов, хотя большинство владельцев Рено предпочитают хромированную сталь как средство для улучшения внешнего вида машины.
Все фаркопы выпускаются производителем под конкретную модель автомобиля.
Крепёжные приспособления делятся на несколько видов, в зависимости от особенностей конструкции и условий эксплуатации:
- Вариант А – служит для транспортировки прицепа с полной массой не более 1500 кг. Он самый простой по конструкции.
- Вариант В – грузоподъёмность без изменений, в конструкции применяют полуавтомат на гайке.
- Вариант С – позволяет увеличить полезную нагрузку до 1,8 тонны, используют полуавтомат на экцентрике.
- Варианты F и G применяются для перевозки 2000 кг груза, имеют железисто-кованную структуру и отличаются количеством отверстий для креплений к кузову.
Прицепный фаркоп в сборе от фирмы Vastol
После приобретения фаркопа следует подготовить рабочее место. Полностью освобождают пространство багажника, готовят поверхность кузова и проводят наружный осмотр электрической системы багажника.
Следующим этапом работ становится сборка конструкции из имеющихся в наборе частей и наживление крепёжных гаек, далее производят окончательную затяжку: её проводят после того, как фаркоп займёт своё место на кузове.
Для этого необходимо освободить заводские отверстия от фабричных заглушек. В освобождённые проёмы вставляются крепёжные болты и затягиваются заранее наживлённые гайки.
По окончанию технической части работ осуществляют подключение электрических проводов и сбор розетки фаркопа, согласно инструкции, прилагающейся к самому комплекту. Правильная и чёткая работа сигналов поворота прицепа является подтверждением правильности сборки устройства транспортировки.
Цена вопроса
Цена на фаркопы в розничной продаже вполне демократична. В автомобильных магазинах Украины, например, она колеблется от 1300 до 2000 гривен, в зависимости от использованных материалов и фирм-производителей. Для российского автолюбителя цены будут колебаться сильнее, что связанно с логистикой доставки товара в различные регионы России. Это касается вышеназванной модели фаркопа Vastol. Потребитель же волен приобретать любую другую марку.
Видеогид по установке фаркопа
youtube.com/embed/A0WJmdh4QO4?feature=oembed» frameborder=»0″ allowfullscreen=»»/>
Оцените статью:Поделитесь с друзьями!
Фаркоп RENAULT LOGAN-2 с 2014- / LOGAN STEPWAY 2018 — съемный квадрат
ХарактеристикиПроизводитель: PT GROUP
Марка авто: RENAULT
Модель авто: Logan c 2014-по наст вр, Stepway c 2018-по наст вр
Функционал: Фаркоп предназначен для буксирования прицепов автомобилем
Габариты: 104х71х31 см
Вес: 16.2 кг
Материал: Сталь с полимерной порошковой краской
Максимальное тяговое усилие: 1500 кг
Гарантия: 1 год
При монтаже съем бампера: Нет необходимости
Подрезка бампера: Не нужна
Тягово-сцепное устройство (фаркоп) со съемным квадратом для легкового автомобиля Renault Logan 2014- / Logan Stepway 2018 служит для буксировки прицепов автомобилем (тягачом). Компания ПТ ГРУПП производит фаркопы, при установке которых задействуется максимально возможное количество штатных (предусмотренных автопроизводителем) мест крепления, что позволяет оптимально распределить нагрузку на кузов автомобиля.
Производитель — PT GROUP;Модельный ряд — Logan c 2014-по наст вр, Stepway c 2018-по наст вр;Марка авто — RENAULT;Модель авто — LOGAN NEW;Функционал — Фаркоп предназначен для буксирования прицепов автомобилем;Подходит — Logan Stepway 2018 -;
Описание
Фаркоп под квадрат или, как его еще называют, американский фаркоп на Рено Логан/ Логан Степвей, очень удобен в эксплуатации, благодаря быстросъемной части, при этом рама и кронштейн фаркопа скрыты за задним бампером и не выступают за габариты автомобиля. В нашем интернет-магазине вы можете купить фаркоп под американский квадрат, рама которого устанавливается в штатные места, предусмотренные заводом-изготовителем. Выход из рамы представляет собой толстостенную трубу с квадратным сечением и сквозным отверстием для стопорного пальца тягово-сцепного устройства. Диаметр шара — 50 мм.
Преимущества быстросъемного фаркопа «американский квадрат» от компании ПТ ГРУПП
ТСУ (фаркоп) / съемный квадрат устанавливается в штатные места автомобиля, предусмотренные заводом – изготовителем.
Уникальная многослойная технология покраски;
В комплектации изделий используются только оцинкованные метизы.
Преимущества конструктива фаркопа съемный квадрат:
Требуется не более 10 секунд на снятие/установку тягового кронштейна;
Для снятия /установки не требуется специальный инструмент;
В основном блоке возможно использовать другие изделия с креплением «под квадрат»;
Возможность регулировать горизонтальный уровень сцепки в пределах понижения фаркопа переворачиванием съемного кронштейна;
Возможность заменить как съемный кронштейн целиком, так и отдельно сцепной шар.
Материал
Фаркоп изготавливается из высокопрочной стали СТ3. Металл окрашивается порошковой краской. Шар фаркопа изготавливается из высокопрочных марок стали в соответствии с ГОСТ Р 1050 либо ГОСТ 19281 с последующим электролитическим покрытием никелем.
Установка ТСУ (фаркопа) на Логан/ Логан Степвей
Вы можете произвести установку фаркопа (ТСУ) самостоятельно, важно выполнять установку строго руководствуясь подробной инструкцией к изделию.
Комплектация
ТСУ укомплектован всем необходимым для установки на автомобиль. Полный перечень деталей указан в инструкции по установке.
Внимание! Комплект электрики не включен в комплектацию фаркопа. Он приобретается отдельно.
Рекомендации и ограничения по эксплуатации ТСУ
Каждые 5000 км необходимо протягивать соединительные элементы изделия. На неасфальтированных покрытиях скорость движения с прицепом не должна превышать 30 км/ч. Не предназначен для установки багажных платформ с креплением на шар (можно использовать платформу под амер. квадрат).
(74566) 07031501 PT Group
чертежи с размерами и установка
1050 Просмотров 13.Ноя.2018Тягово-сцепное устройство, которое применяется для буксирования лёгких прицепов автомобилем, называется фаркоп. Это приспособление является модельным, поэтому прежде чем приобретать фаркоп на Рено Логан, следует точно знать, какая именно модель нужна вам.
Важно: только 10% выпускаемых автомобилей от французских производителей имеют в своей комплектации фаркоп.
Большинство владельцев Рено Логан вынуждены самостоятельно устанавливать эту деталь.
Выбор фаркопа
На автомобильном рынке в продаже есть множество разнообразных моделей. Все они подразделяются на несколько групп:
- Тип А. Необходим для транспортировки грузов, максимальный вес которых равен 1500 кг.
- Тип В. Грузоподъемность такая же, что и у предыдущего экземпляра, однако конструкция включает полуавтомат на гайке.
- Тип С. Это полуавтомат на эксцентрик с максимальной грузоподъёмностью в 1800 кг.
- Тип G и F. Грузоподъёмность – 2000 кг, отличаются количеством крепёжных отверстий к кузову и железно-кованой структурой.
Для автомобиля Renault Logan подходит вариант А. Что касается артикулов, то они следующие:
- 8201555829 — поперечина;
- 8201555830 — комплект крепежа.

Подготовительный этап
Прежде чем самостоятельно монтировать фаркоп на Renault Logan, стоит разобраться с комплектующими элементами устройства:
- металлические конструкции;
- крепёжные элементы;
- розетка и жгут проводов;
- инструкция.
Процесс самостоятельной установки
Чтобы приступить к монтированию, требуется освободить багажник от ненужных вещей, а заднюю часть автомобиля Рено Логан – поднять. Далее процесс заключается в следующем:
- Извлеките подвесы глушителя. Начинать следует с середины автомобиля, а затем и у самого элемента.
- Снимите резиновые заглушки. Они располагаются в лонжеронах в багажнике. Их можно слегка поддеть с помощью плоской отвёртки.
- Поиск отверстий в лонжероне. Для этого требуется с помощью крестовой отвёртки выдавить их на внутреннюю часть багажника.
- Сбор фаркопа. Проводить процедуру следует строго по инструкции.
Туго затягивать болты не рекомендуется, потому что сначала требуется установить боковые пластины, а затем балку. - Установка буксировочного крюка. Этот элемент монтируют после того, как затянули болты.
Монтаж электрооборудования
Установка проводки требуется для того, чтобы подключить прицеп. Розетку надо установить на штатное место и зафиксировать на крюке с помощью болтов. Чтобы подключить цепь, требуется провести её от фаркопа к одной из сторон задних фар.
Схема подключения электрооборудования:
Процесс установки фаркопа на Рено Логан не требует определенных знаний и навыков. Однако, если вы не уверены в своих силах, то всегда можете обратиться в сервисный центр для установки этого элемента.
R114A Фаркоп для RENAULT SANDERO 2014- / LOGAN (седан) 2004-2014- /SANDERO STEPWAY 2014- (без электрики) LEADER PLUS
Vrum-shop.
ru специализируется на поставке и реализации качественных автомобильных запчастей. Предлагаем широкий ассортимент деталей для ремонта и обслуживания легкового и грузового автотранспорта. У нас доступные цены, сжатые сроки поставок и компетентная помощь специалиста при подборе. Чтобы купить R114A Фаркоп для RENAULT SANDERO 2014- / LOGAN (седан) 2004-2014- /SANDERO STEPWAY 2014- (без электрики) LEADER PLUS по выгодной цене в Екатеринбурге, Златоусте, Нягане заполните заявку на сайте или свяжитесь с менеджерами напрямую. Мы работаем с частными автовладельцами и юридическими лицами.
R114A Фаркоп для RENAULT SANDERO 2014- / LOGAN (седан) 2004-2014- /SANDERO STEPWAY 2014- (без электрики) LEADER PLUS в наличии и под заказ
Почему выгодно купить R114A Фаркоп для RENAULT SANDERO 2014- / LOGAN (седан) 2004-2014- /SANDERO STEPWAY 2014- (без электрики) в интернет-магазине vrum-shop.ru?
- Мы максимально заинтересованы в высоком качестве своих услуг и товаров.
- Мы сотрудничаем с авторитетными производителями и официальными дистрибьюторами, которые разделяют наши ценности.
Брак или контрафакт – это не про нас. - Мы поставляем оригинальные автокомпоненты и аналоги, изготовленные с учетом требований автозавода-изготовителя.
Заказав R114A Фаркоп для RENAULT SANDERO 2014- / LOGAN (седан) 2004-2014- /SANDERO STEPWAY 2014- (без электрики) из нашего каталога, вы оперативно получите высококачественную деталь. Доставку осуществляем собственными силами по Екатеринбургу и в города-спутники, силами ТК в другие регионы.
Цены на R114A Фаркоп для RENAULT SANDERO 2014- / LOGAN (седан) 2004-2014- /SANDERO STEPWAY 2014- (без электрики) LEADER PLUS в каталоге vrum-shop.ru
Мы поддерживаем оптимальные расценки, выигрывая у многих поставщиков региона и страны. Уточнить стоимость нужной вам детали можно у наших специалистов. Они помогут подобрать необходимую модификацию под ваш автомобиль, расскажут, как оформить заказ, ответят на ваши вопросы.
Все запчасти поставляются с гарантией от производителя.
Пневматическое сцепное устройствоGooseneck для прицепов Logan Coach
Описание продукта
- У вас другой прицеп? Щелкните эту ссылку, чтобы получить Find Your Gooseneck Surge Air Stches by Trailer Mfg
- Более плавная и безопасная буксировка .
Улучшает вашу езду, снижает износ пикапа и прицепа для перевозки лошадей Logan Cobra на гусиной шее - Простая установка: Полностью заменяет заводские шток и муфту с гибкой стойкой на систему и муфту с гибкой стойкой. Устанавливается за считанные минуты.
- Поглощает дорожные удары : Помогает избежать рывков, рывков и ударов при буксировке вашего прицепа с гусиной шеей по неровным дорогам или бетонным шоссе.
- Встроенная подушка безопасности: Эта сцепка направляет сопротивление буксировке через подушку безопасности, обеспечивая плавность хода.
- Air Ride Technology: Обеспечивает более плавную и безопасную буксировку вашего грузовика, прицепа с гибкой шеей и его содержимого. Тяжелые грузы, просто добавить воздуха .
- Подгонка по индивидуальному заказу: Доступно для 4-дюймовых круглых штанг с гусиной шеей с угловыми / продольными отверстиями для штифта.

- Вес язычка 30 000 фунтов и 6000 фунтов: Доступен с муфтой «гусиная шея» с двойной фиксацией Shift Lock.
- Подходит для 2-5 / 16 ″ шаров сцепного устройства на гусиной шее: и имеет 3 отверстия для регулировки высоты. (воздушная сцепка выдвигается на 3 дюйма вперед от заводской муфты или выберите 9-дюймовую переднюю муфту для подборщиков с короткой станиной)
- Полная система: Включает полностью заменяемый шток с гибкой стойкой, систему сцепного устройства для перенапряжения и муфту 30k.
Бесплатная наземная доставка * | Гарантия на шокер | Бесплатный возврат
Пневматическая сцепка и сцепное устройство Shocker Gooseneck Surge® — это лучшее средство для буксировки прицепа с гусиной шеей для вашего прицепа с гусиной шеей Logan Coach. Оснащен соединительной муфтой Shift Lock ™, рассчитанной на 30 км, для сцепного устройства 2-5 / 16 ″ и подходит для прицепов Logan с гусиной шеей с круглым выносом 4 ″.
Доступен с удлинителем 9 ″ для пикапов с короткой кроватью.Эта сцепка на гибкой стойке со встроенной подушкой безопасности смягчает поездку и делает буксировку более плавной и безопасной для вас, вашего пикапа, прицепа и лошадей. Прицеп Logan с гибкой шеей — это прицеп премиум-класса, для которого требуется сцепное устройство премиум-класса, амортизирующее сцепное устройство и сцепное устройство. Пневматическое сцепное устройство и сцепное устройство Gooseneck Surge — единственное сцепное устройство для пневматической подвески, которое работает исключительно в прямом и обратном движении, что часто бывает самым большим рывком и рывком, которые вы чувствуете при буксировке прицепа с гусиной шеей. Амортизирующее сцепное устройство для прицепа с гусиной шеей Logan Coach создано для плавной и безопасной буксировки вашего пикапа, прицепа и лошадей.Отлично работает на прицепах для лошадей с гусиной шеей, производимых Logan Coach Trailers. Полностью заменяет заводской шток и муфту на систему и муфту с гибкой стойкой для перенапряжения.
Устанавливается за считанные минуты.
Примечание. Прицепы Logan с гусиной шеей имеют круглые стебли размером 4 дюйма. Имеет 3 отверстия для регулировки высоты. Некоторые из них имеют прямые отверстия для штифтов, а некоторые — угловые. Для угловых отверстий под штифт используется модель с прорезями. Пневматическая сцепка Shocker на гибкой стойке легко крепится к вашему прицепу.Стандартное воздушное сцепное устройство типа «гусь» выдвигается на 3 дюйма вперед от заводского сцепного устройства или выбирайте 9-дюймовое переднее сцепное устройство, которое отлично подходит для пикапов с короткой платформой, тянущих прицепы «гусиная шея».
Регулируется для буксировки Вес: Подушка безопасности находится позади сцепного устройства и не мешает. Вы найдете преимущество Air Shocker в том, что вы можете регулировать давление воздуха для лучшего управления поездкой и нагрузкой. Ознакомьтесь с нашим руководством по давлению воздуха Shocker Gooseneck PSI.
Муфта Shift Lock ™ : номинальная нагрузка 30 000 фунтов, запатентованная муфта «гусиная шея».Единственная муфта на гусиной шее, которая захватывает мяч с обеих сторон. С первого взгляда вы можете увидеть, заблокирована ли муфта на шаре. Простая в использовании ручка для подсоединения и отсоединения муфты от шара.
Экономия топлива: Используя устройство защиты от перенапряжения на гибкой стойке, вы можете сэкономить до одной мили на галлон. Когда мы разработали Surge Hitch, мы стремились сделать езду более плавной. Мы усовершенствовали это и никогда не рассматривали другие преимущества. Клиенты, использующие сцепное устройство Surge, начали звонить с сообщениями о лучшем расходе топлива.Заявления о расходе до мили на галлон вполне нормальны. Вопрос в том, почему? Грузовики, произведенные за последние десять лет или более, имеют очень сложный бортовой компьютер. Компьютер определяет рывок или увеличение нагрузки и дает двигателю больше топлива.
Этот процесс происходит много раз за секунду. Уменьшая рывки, компьютер подаст в двигатель меньше топлива. Другой способствующий фактор — круиз-контроль. Если ваш прицеп сопротивляется, круиз-контроль увеличит скорость. Когда бак останавливается, круиз-контроль снижает скорость.Это устанавливает цикл ускорения и замедления, опять же с использованием большего количества топлива. Shocker Surge Hitch может уменьшить этот эффект и сделать поездку более плавной.
Добавляет жизнь вашему автомобилю и гибкой стойке: За счет снижения износа трансмиссии и рамы! Подарите себе, своему снаряжению, пассажирам и лошади более плавную езду. Вы никогда не вернетесь в «былые времена» постоянных толчков, рывков и вибраций. Присоединяйтесь к списку довольных клиентов, которые используют сцепки на гибкой шее Shocker.Закажите один сегодня и будьте готовы к беспроблемной буксировке в следующий раз.
Air Ride Hitch Technology: Shocker Air разработан со встроенной подушкой безопасности для более плавного буксировки.
Просто добавьте воздуха в зависимости от веса вашего трейлера и его содержимого.
Простая конструкция шарнира: Используется конструкция шарнира качающегося рычага, которая обеспечивает движение вперед и назад, что сильно отличается от других амортизаторов, представленных на рынке. Наша конструкция устраняет необходимость в параллельных рычажных механизмах, амортизаторах, торсионных рычагах и других дополнительных приспособлениях.
Повышает безопасность: Предоставляя вам улучшенный контроль над вашим тягачом и прицепом. Система пневматической подвески Gooseneck позволяет лучше контролировать ваш пикап и прицеп, который он буксирует.
Амортизация: Пневматическая сцепка Shocker эффективно поглощает рывки, тянущие усилия и повреждающие силы, возникающие при типичном жестком соединении при буксировке прицепов. Нет причин бить себя или свое оборудование жестким подключением.
Экономия денег: За счет уменьшения поломки прицепа и его содержимого! Сцепное устройство Shocker поглощает разрушающие силы, возникающие при типичном жестком соединении.
Это значительно снижает вероятность разрыва сварных швов и других долговременных повреждений вашего оборудования, а также ценного груза внутри грузовика и прицепа.
Обеспечивает комфорт: Более плавный ход! Много путешествуете по бетонным трассам? Больше никаких раздражений каждый раз, когда вы пересекаете разделитель секции. Пневматическое сцепное устройство Shocker поглощает удары, удары и толчки, которые вы чувствуете при буксировке прицепа с гусиной шеей.
Видео сцепного устройства и муфты для защиты от перенапряжения на гибкой стойке
Муфта блокировки переключения передач Видео
youtube.com/embed/6Ee3SN7GFRg?list=PLOOMGOlnpn8fkn6fScC2gsi5DsrGLte3Q» src=»data:image/gif;base64,R0lGODlhAQABAAAAACH5BAEKAAEALAAAAAABAAEAAAICTAEAOw==»/>
Гусиная шея — Как установить давление воздуха
Установка
Установка Shocker Gooseneck Surge
При правильном использовании это пневмоприцепное устройство с гибкой стойкой заметно улучшит качество буксировки прицепа с гибкой стойкой.Обеспечение плавности движения грузовика и прицепа с меньшим утомлением и поломкой прицепа.Установите импульсный всплеск за считанные минуты
youtube.com/embed/wgoNBFskaYo?feature=oembed» src=»data:image/gif;base64,R0lGODlhAQABAAAAACH5BAEKAAEALAAAAAABAAEAAAICTAEAOw==»/>Как поднять воздух в соединителе перенапряжения на гибкой стойке?
Видео о выборе импульсного стержня «гибкая шея»Загрузить руководства по установке импульсного перенапряжения на гибкой шее
Максимальный вес для ударных волн: Грузоподъемность = 24 000 фунтов Язык = 6000 фунтов | Буксировочная способность составляет 30 000 фунтов для муфты Wallace Forge Уведомление о безопасности: Shocker Hitch — это сверхмощное устройство, однако крайне важно, чтобы не превышались какие-либо номинальные веса на шаре, установленном на вашем буксирующем транспортном средстве, или на Shocker Hitch.
Используйте только 2 5/16 ″ диам. Мяч. V-19 номинальный. Не превышайте G.V.W.R. используемого мяча. Схема перенапряжения на гибкой стойкеУстановка
- Произведите измерение по вертикали от нижней части трубы шаровой сцепки до нижней части втулки рамы прицепа. Этот размер будет использоваться для установки прицепного устройства Shocker Gooseneck Surge Trailer Hitch .
- Выверните штифты или ослабьте стопорные болты на втулке рамы прицепа и снимите имеющуюся трубу сцепки.
- Сдвиньте сцепное устройство с гибкой шеей и вставьте трубку в рукав рамы прицепа с подушкой безопасности в направлении задней части прицепа.
- Удерживайте или поддерживайте Shocker при вертикальном измерении, указанном в Шаге №1. Это должно дублировать предыдущий клиренс прицепа. Shockerhitch необходимо правильно выровнять (параллельно с прицепом), чтобы получить максимальные преимущества. Примечание: Если ваша труба сцепного устройства прицепа оснащена штифтом или штифтами, правильное расположение штифта должно быть отмечено на вставной трубе Shockerhitch и поручено квалифицированному механическому цеху просверлить / обработать отверстия для штифтов.

- Затяните стопорные болты в соответствии со спецификациями производителей прицепов.Для некоторых применений доступен комплект проставок.
- Смажьте: смажьте вал соединительной муфты, смажьте гнездо шаровой муфты и смажьте шар сцепного устройства, чтобы УМЕНЬШИТЬ ИЗНОС И УЛУЧШИТЬ ДЕЙСТВИЕ ШОКЕР. Для максимального срока службы втулки необходимо периодически смазывать масленку главного шарнира. (Просто смазывать нельзя!)
- Подсоедините прицеп, просто опустив сцепку на шар. (Ручка автоматически откроется и закроется). Чтобы освободить прицеп: потяните ручку вверх и удерживайте, поднимая прицеп.
Пульсирующее давление воздуха на гусиной шее:
- Это сцепное устройство НИЗКОГО ДАВЛЕНИЯ, работающее за счет сопротивления буксировке.
- Установите давление воздуха прибл. 5 фунтов на квадратный дюйм, затем тест-драйв.
- Увеличивайте давление с шагом 5 фунтов на квадратный дюйм до достижения оптимальных результатов.

- Типичный диапазон давления воздуха составляет 5–15 фунтов на кв. Дюйм.
Мы здесь, чтобы помочь. Свяжитесь с нами
Проблемы при установке
Мы хотим, чтобы у вас были наилучшие впечатления от буксировки вашего продукта, и важна правильная установка. Если вам нужна помощь, мы здесь для вас. Просто позвоните нам по телефону 701-967-8577 или воспользуйтесь формой для связи. Вы также можете просмотреть страницу продуктов на нашем веб-сайте и просмотреть вкладку установки.Для большинства продуктов на нашем веб-сайте есть руководство по установке и видео по установке.
FAQ
Ответы на часто задаваемые вопросы о Gooseneck Surge
Как узнать, подходит ли гусиная шея для моего прицепа с гусиной шеей?
Вам нужно знать две вещи. Какой вид выноса у вашего прицепа на гусиной шее и какой шар у вашего пикапа. Вы также можете найти нужное сцепное устройство, воспользовавшись нашим руководством Gooseneck Trailer MFG.
Каков рейтинг буксировочного приспособления Gooseneck? Тяговое усилие 30 000 фунтов с соединительной муфтой Shift Lock / вес язычка 6000 фунтов.С соединительной муфтой 30k Shift Lock его тяговое усилие 30 000 фунтов и вес язычка 7 000 фунтов.
Как долго прослужит подушка безопасности? Наши подушки безопасности — это промышленные подушки, которые прослужат долгие годы. Они похожи на подушки безопасности для грузовиков, но были усилены изнутри для наших буксировочных приложений.
Можно как-нибудь посмотреть муфту «гусиная шея»? Да, есть запасные замки для муфт и штифтовые замки, которые можно приобрести для блокировки муфты и / или блокировки штифта и болтов.
Один из вариантов получить замки — посетить веб-сайт Trailer Guys или позвонить им по телефону (903) 989-5000.
Можно ли установить Gooseneck Surge за пару минут? Да, посмотрите это видео
Сколько воздуха нужно залить в пневморегулятор на гибкой стойке?
- Это сцепное устройство НИЗКОГО ДАВЛЕНИЯ, работающее за счет сопротивления буксировке.
- Установите давление воздуха прибл. 5 фунтов на квадратный дюйм, затем тест-драйв.
- Увеличивайте давление с шагом 5 фунтов на квадратный дюйм до достижения оптимальных результатов.
- Типичный диапазон давления воздуха составляет 5–15 фунтов на кв.
Дюйм.
Что вы имеете в виду, когда говорите: прямые или угловые / продольные отверстия для штифтов? Нам интересно, есть ли отверстия на вашей гусиной шее прямо поперек ИЛИ если он немного наклонен на 10-30 градусов, где штифт сцепного устройства смещен или находится под углом. Ниже показано изображение наклонного стержня, на котором мы бы использовали стержень с прорезями, чтобы он соответствовал этому наклонному стержню.
Шток «гусиная шея» с угловым штифтом (для этого мы отправим шток с прорезями)
Будет ли он работать с моим пикапом с плоской платформой и углублением в кармане планшета?
Да, с некоторыми приложениями.
Проверьте ширину желоба / желоба и посмотрите глубину от верха шара до поверхности основной палубы станины.
см. Рисунок на схеме
, схема пневматической сцепки с карманом и гусиной шеей
Если я закажу пневматическое сцепное устройство и муфту на гибкой стойке, что все идет в комплекте?
Включает полностью заменяемый шток с гибкой стойкой, систему пневмопривода и муфту, а также четкие инструкции по установке. Буквально вы можете установить это за 2-5 минут.
Как долго он будет держать воздух?
Это герметичная система, которая удерживает воздух в течение недель или месяцев. Если вы буксируете один и тот же прицеп с одинаковой массой груза, он должен проработать некоторое время.
Как часто его смазывать?
Смазка не просто смазывает стержень; он также не пропускает воду и грязь. Нельзя чрезмерно смазывать его, следует делать это раз в несколько месяцев.
Как работает пневмоподвеска?
Воздушный шокер похож на качели.
Один конец — это подушка безопасности, шарнир посередине и шар на другом конце. Это дает эффект «подушки» на конце мяча.
Сколько весит гусиная шея Shocker?
Сцепное устройство для перенапряжения на гибкой стойке и соединительное устройство весит 75 фунтов
Вы буксировали Logan Coach в последнее время?
Вы в последнее время буксировали прицеп для лошадей Logan Coach? (Изображение вверху, новый прицеп слева, старый прицеп справа) Снаружи он выглядит как алюминиевый трейлер, а внутри перегородки стойла, скаты крыши, бухты, стены алюминиевые.Стальной каркас, который вы видите в стенах, черный из-за покрытия Vortex. Контраст серебра и черного внутри отлично смотрится. Когда я на конных аукционах, я хожу по парковке и смотрю, в каком состоянии находятся прицепы для лошадей. Я вижу, что у Логана много лет. Они хорошо держатся. Это хороший способ оценить грузовик или прицеп для лошадей, найти старые модели и посмотреть, хорошо ли они стареют. В прошлом году Logan Coach исполнилось 25 лет. Это один из первых трейлеров, в которых используется вся оцинкованная сталь. Прочный красивый прицеп, который стоит меньше алюминиевого прицепа.Броня Логана на гальванизированной стали — это Vortex, она похожа на обшивку тяжелого грузовика, через нее трудно просверлить, она успокаивает салон и не пузырится, как резиновые коврики на стене. Помимо того, что ваши лошади и крупный рогатый скот собирают горшок в вашем трейлере, у вас есть кислотный дождь и хлорид магния на дорогах зимой, заменяющий соль на тающий лед. Коррозия и электролиз — давние враги для прицепов. Я перешел от клиновидной формы к конической. Мне нравится внешний вид, я перешел от открытой стороны к опускающимся окнам, чтобы лучше запечатать, когда я иду на восток, и задние независимые двери вместо одной большой двери из-за нашего ветра. Один из наиболее усовершенствованных прицепов, которые я обозревал, Logan представляет собой композит, как и ваш грузовик, сделанный из многих видов металла. Алюминиевые перегородки, дуги крыши, окрашенная алюминиевая обшивка оклеена лентой 3M, нет заклепок, которые могли бы расширяться и рваться. Для более гладкого внешнего вида и облегчения ремонта не требуется покрасочная камера, поэтому не нужно распылять баллончик или красить апельсиновый колокол. Носик гусиная шея представляет собой оцинкованный листовой металл, затем на носок приклеиваются алюминиевые листы. Гальванизированная гофрированная внутренняя стенка покрыта прочным материалом Vortex. Один из крупнейших киосков в отрасли; 135 ″ длина стойла 40 ″ ширина с большим задним стойлом.У всех прицепов торсионные оси. Factory, Prestige Living Quarters позволяют дилерам Logan обслуживать весь прицеп. Titan Trailers приобрели Logan Coach в прошлом году. Повышает покупательную способность расходных материалов. Прицепы Logan Coach были модернизированы, чтобы стать легче, с большим количеством алюминиевых компонентов и более эффективным использованием стальной арматуры.
|
(изображение) Один из самых больших киосков в отрасли; 135 ″ длина стойла 40 ″ ширина.
Стокман
Еще один кардинально изменившийся трейлер Logan Coach — это Stockman. Это был прицеп из окрашенной оцинкованной стали.Теперь алюминиевый сайдинг и крыша с оцинкованной сталью с покрытием Vortex имеют серебристо-черный вид, который нельзя не заметить. Когда я загружаю своих соседей напуганных койотами коров, мне нужны все защелки, чтобы я мог достать их снаружи трейлера. Пока сумасшедшие коровы пытаются переехать меня и пнуть вас, вам нужны задние двери трейлера, которые захлопываются, чтобы защелкнуться и отпереться, когда вы стоите на подножке. У Stockman такое же покрытие Whiz Proof с покрытием Vortex под резиновыми ковриками, которое позволяет мочи покидать трейлер.Задняя дверь имеет защелку, защелку-бабочку и защелку сдвижной задней двери. Штокман — это комбинация с креплением для лошадей внутри и снаружи и дополнительным отсеком для снаряжения.
Спасибо Transwest Truck Trailer RV www.TrailerWest.com за обзор трейлеров
Прицепите свой вагон | Ким Логан
Все песни написаны Ким Логан. Все песни в аранжировке Ким Логан + Силуэты, кроме «Hitch Your Wagon» и «Ледибой» в аранжировке Ким Логан + Силуэты и Гьяси Хеус.Все песни записаны Дунканом Маклареном в Cherry Tone Studios в Фолкстоне, Англия, и Solas Sound в Глазго, Шотландия. * Все песни сведены Майком Фэйи в Sputnik Sound в Нашвилле, Теннесси. Все песни сведены Дэном Бачигалупи в Infrasonic Sound в Нэшвилле, Теннесси.
ПРИСОЕДИНИТЕ ВАГОН вам лучше прицепить свой вагон к чему-нибудь
у вас нет пара двигателя
вам лучше прицепить свой фургон к чему-нибудь
, и это не я, но мальчик, на которого ты похож
вам лучше прицепить свой фургон к чему-нибудь
ваш двигатель работает сейчас — история
вам лучше прицепить свой фургон к чему-нибудь
но это не я
Я мог бы помочь тебе катиться по открытой дороге
я могу качнуть тебя, детка, спать
Я могу помочь тебе узнать, куда может пойти похоть
, но это секрет, который я не могу сохранить
и для всех твоих мыслей, детка
и все мои пьющие малышки
мы все еще должны игнорировать эту тайну
ты — отравленный укус спелого яблока
в первые прекрасные осенние дни
я бродяга и устье юга
одна сука будет править ими всеми
и все наши танцы вокруг
куда упасть, когда солнце садится
мне нужно выпить воды чуть выше высокого
«Ты недостаточно слышишь» нет «, любовь моя?»
из Shadow Work, выпущено 24 февраля 2020 г.
Ким Логан: вокал, электрогитара, акустическая гитара, перкуссия
Силуэты:
Мартин Зиссель: электрическая, акустическая и стальная гитара, перкуссия
Жюль Дармон: барабаны, перкуссия
Myriam Stamoulis: электробас, вокал, перкуссия
Alexys Collard: электробас, вокал, перкуссия
Victor Méchanick: ключи
Tom Liam Bourcier: ключи
Дункан Макларен: гонг, ударные
Выставочный трейлер Horse Expo для продажи, Logan Coach LQ
MrTruck.com Horse Expo трейлер. Мы использовали этот прицеп, чтобы продемонстрировать новейшие и лучшие аксессуары для прицепов для лошадей. Внутри была только одна лошадь. Как показано в шоу Equestrian Nation TV RFD. По вопросам 303-883-1300; 15 000 долларов на аксессуары для прицепов, которые мы использовали в обзорах на веб-сайтах, в журналах и RFD TV. Электронная почта: [email protected] Выставочный трейлер Horse Expo для продажи, Logan Coach LQ.
Цена продажи 23 742 $.
2010 Logan Coach Maverick XLT 2-х лошадиный уклон с короткими стенками длиной 5 футов LQ.
Это трейлер, который бывает раз в жизни. Я буксировал его по стране на конную выставку. Оборудован как никакой другой прицеп.
15 000 $ в аксессуарах для прицепов, которые мы использовали в обзорах на веб-сайтах, в журналах и RFD TV
Закрытый прицеп для лошадей с откидными дверцами с обеих сторон. Алюминиевая кожа, крыша, дуги крыши и стойла.
Алюминиевые колеса с автоматическими балансировочными станками Centramatic .
Носовая часть из нержавеющей стали, заднее сцепное устройство и заглушка для второго прицепа
Складной задний отсек для снаряжения, стеллаж для сена и площадка для вечеринок, наблюдайте за происходящим с крыши
Посмотреть заводской обзор моего Logan Coach Алюминиевая обшивка, оцинкованная стальная рама с покрытием Vortex
Нажмите на ссылки, чтобы увидеть MrTruck обзор продукта, который мы установили на этот трейлер
Saddlematic Седельная стойка с электроприводом
Автомат HydraHorse лошадиные воды внутри и снаружи
Керамическое изоляционное покрытие для кровли в г и внутри LQ
Tuson 4-канальный ABS электрический над гидравлическим тормозом , останавливается на копейке даже со всеми 4 колесами прицепа на разных поверхностях
Kodiak гидравлические дисковые тормоза
Системы эквалайзера 12000 фунтовГидравлический домкрат с ручным дублером
Power SideTracker Trailer Hitch Alignment , которое перемещает боковые части прицепа для подсоединения
Whiz Proof Deluxe, пол .
Никогда больше не тяните за коврик
Ступенчатая лестница , выдвигается на 30 градусов для облегчения подъема
Weatherguard Всепогодный автоматический тент
Завод LQ
Новые батареи
Зарядное устройство и кондиционер на 5 Вт
Провод для двух камер
Водонагреватель не использовался, только электрическая сторона холодильника.
Инвертор 1000 Вт, СВЧ
Раковина и унитаз используются только.Серый танк, Черный танк, пресная вода.
110 Вт внешние розетки, несколько розеток 12 В внутри LQ.
Шкаф превращается из полок в шкаф для полноразмерных рубашек
Крыша обрамлена для кондиционера, где вентиляционное отверстие
По вопросам, 303-883-1300 23 742 доллара США за единственный в своем роде прицеп. 15000 долларов на аксессуары для прицепов, которые мы использовали в обзорах на веб-сайтах, в журналах и RFD TV
. электронная почта: kent@mrtruck.
net
Посмотреть мой заводской обзор Logan Coach
Комментарии
комментария
Hitchwiki: Автостопом по автостопу
Логан — крупнейший город в округе Кэш, штат Юта. Говорят, что это «самый безопасный мегаполис» в Соединенных Штатах. Район округа Кэш расположен между Йеллоустонским национальным парком и Солт-Лейк-Сити, что делает его отличной остановкой для путешественников, путешествующих по шоссе Interstate-15. В городе есть бесплатный общественный транспорт на большей части территории, поэтому очень легко передвигаться. Хотя говорят, что автостоп в Юте является незаконным, у полиции обычно есть дела поважнее, чем преследовать автостопщиков, если только они явно не делают что-то незаконное (стоят на межштатной автомагистрали и т.).
Автостоп
Юг в сторону Солт-Лейк-Сити, Бригам-Сити
Шоссе 89 ведет на юг от Логана до Бригам-Сити, проходя через «Сардинский каньон».
Есть два варианта сцепления, и любой из них отлично подойдет.
Вариант 1 Сядьте на автобус №7 до McD’s (это последняя остановка перед разворотом) и идите на юг по шоссе 89 примерно 3-5 минут, чтобы пройти мимо предприятий. Большой палец оттуда со знаком или без него. [1]
Вариант 2 Другой вариант — сесть на автобус №11 до Нибли и добраться оттуда автостопом.Тем не менее, действительно быстрее ехать на автобусе №7 и добираться до поля для гольфа. [2]
Север в сторону Айдахо
Если вы собираетесь в Айдахо, лучше всего воспользоваться автобусом «Cache Valley North» (CVN), который идет в 13 милях к северу от Ричмонда, штат Юта. Возьмите его, сойдите на последней остановке и пройдите около 10 минут на север по шоссе 89/91, чтобы выбраться из города. Оттуда должно быть легко. Однако следите за копами. [3]
на запад в сторону Тремонтона
Сядьте на автобус номер 8 до 1000 West и 200 North.Там есть заправочная станция, где вы можете попросить поездку у людей, заправляющих свои баки.
Здесь хорошо работает вывеска и аккуратный внешний вид. Вы также можете попробовать пролистать прямо на 200 West, но это Copville, так как окружная тюрьма находится поблизости. [4]
Восток в сторону Медвежьего озера, Гарден-Сити
Сядьте на автобус № 1 и выйдите прямо перед тем, как он вернется в университет во второй раз (так, прежде чем он повернет направо на 700 North). Идите на восток по шоссе 89 (вы пройдете мимо поля для гольфа). Вы можете съехать с дороги автостопом, но машины обычно едут слишком быстро, поэтому лучше просто спуститься до «Первой плотины» и прицепиться прямо к мосту.К тому же красивый пейзаж, было бы жалко не спуститься вниз. [5]
Юг в сторону Парадайз, Хантсвилл
Сядьте на автобус «Cache Valley South» (CVS) до угла шоссе 195 и главной улицы в Хайраме (средняя школа Mountain Crest). Идите на юг по шоссе мимо школы, затем начинайте автостопку сразу после поворота, пока улица не сузится. [6]
Общественный транспорт
Автобусы Cache Valley Transit District обычно ходят каждые полчаса, но некоторые маршруты отправляются каждые 15 минут в и из Университета штата Юта.
Поездка на автобусе бесплатна; имейте в виду, что они прекращают работу в 22:30. [7]
Cowboy Sales Trailer & Auto »2020 CROSSFIRE 4-Horse (GN) от Logan Coach
Дополнительная информация
***** Logan Coach Crossfire 4-Horse *****
18 футов 7 дюймов в длину, 6 футов 9 дюймов в ширину, 7 футов в высоту — 4 раскрывающихся окна с решетками (сторона головы) и воздушное пространство (сторона хвоста) со стеклом из оргстекла — угловая стена с 36 ″ Дверь для подъема — 3 мягких алюминиевых перегородки — Двойные задние двери — Отделка для палаток с ковровым покрытием и новинка этого года, откидная стойка для сидений — Вихревой 48-дюймовый двухпластинчатая стенка с выдвижной стенкой — Откидные вентиляционные отверстия на крыше в каждом стойле — Деревянный пол с вихревым покрытием резиновые коврики — 2 торсионных оси 6000 # с колесами 16 дюймов / шинами и запасными частями — L.E.D. lites — Построен на том же корпусе из оцинкованной квадратной трубы с полностью алюминиевым экстерьером — Предоставляется та же 8-летняя гарантия на конструкцию и 2-летнюю гарантию на сцепку с бампером !!
Crossfire доступен также в версии на 3 лошади (GN) (15 футов 7 дюймов в длину) за 14 675 долларов
——- Версия на 3 лошади (BP) (13 футов 3 дюйма в длину) за 11 575 долларов
——- 2- Версия Horse (BP) (длина 10 футов 3 дюйма) за 10 275 долларов США
Варианты доставки Всегда в наличии
ЗВОНИТЕ ИЛИ ТЕКСТ В ЛЮБОЕ ВРЕМЯ !! Звоните
Посетите нас на GoCowboySales.
com
Следуйте за нами на Facebook —— Go Cowboy Sales
- Тип прицепа комбо лошадь / приклад
- Длина 18 ‘
- Кол-во лошадей 4
Логан 2? Возвращаясь к сиквелу Марка Миллара «Старик Логан»
С момента прибытия в основную вселенную Marvel после Secret Wars, Old Man Logan начал самостоятельную жизнь как выдающуюся сольную звезду, и его приключения выходят за рамки оригинала. восемь вопросов были подробно раскрыты.
Однако многие люди забывают, что Марк Миллар на самом деле написал продолжение «Старика Логана» одновременно с написанием оригинала, как часть экспериментальной попытки связать своего супергероя, работающего по найму. комиксы с франшизами, принадлежащими его создателям.
Пока Марк Миллар и Стив МакНивен работали над «Стариком Логаном» на страницах Wolverine, Миллар также работал над Fantastic Four со своим соавтором Ultimates Брайаном Хитчем.
Одним из самых важных моментов сюжета было прибытие Новых Защитников, команды героев из будущего, которые вернулись вовремя, чтобы попытаться найти решение для своей перенаселенной и умирающей Земли.
Новые защитники: Лайтвейв, Алекс Альтрон, Псионикс, Натали Икс, Человек в капюшоне и потомок Халка по имени Роберт Брюс Баннер. Однако на страницах Fantastic Four # 561 Человек в капюшоне вынужден вступить в конфронтацию с Существом и щелкнуть когтями, показывая, что он является будущим воплощением Росомахи, хотя полная связь со «Стариком Логаном» «не будет очевидным в течение почти года.
Разоблачение «Человека в капюшоне» пришло в то время, когда «Старик Логан» был только в четырех выпусках, и не сразу было очевидно, что — это связь. Однако в кульминации «Старика Логана» Миллара и МакНивена бывший Росомаха убивает клан Халка и усыновляет их младшего, Брюса Баннера-младшего, в качестве собственного сына, чтобы помочь ему вернуть закон в страну беззакония.
Здесь подразумевается, что Человек в капюшоне и Роберт Брюс Бэннер из «Новых защитников» — это Старик Логан и малыш Брюс Бэннер-младший.все выросло.
Брайан Хитч, Кэм Смит, Эндрю Карри, Пол Маунтс и Рус Вутон / Marvel ComicsЭто не единственная странная связь, так как Миллар в то время писал два других комикса для Marvel, каждый со своими связями с эта большая мета-история. На страницах Fantastic Four он представил нового злодея по имени Маркиз Смерти, который якобы научил Доктора Дума всему, что он знал о том, чтобы быть плохим человеком. Маркиз Смерти был извращенной будущей версией человека по имени Клайд Винчем, которого Миллар представил на страницах 1985 — , и здесь все становится действительно странным.
1985 был якобы установлен в нашей вселенной, за исключением того, что Клайд Винчем был единственным мутантом, когда-либо проявившимся. У него был поврежден мозг после того, как его мать ударила его за использование своих способностей, и, находясь в учреждении, он использовал эти способности, чтобы перенести героев из комиксов Marvel в реальный мир.
В конечном итоге он был доставлен во вселенную Marvel Ридом Ричардсом, который использовал его, чтобы победить его альтернативное будущее злое я.
По-настоящему странно то, что Марк Миллар писал еще один комикс, действие которого происходило в мире, который якобы был нашей вселенной; Вы, возможно, слышали о нем, он называется Kick-Ass. Как это ни удивительно, события 1985 и Kick-Ass происходят в одном и том же мире, что означает, что в какой-то момент герои вселенной Marvel вторглись в реальный мир, и правительство его прикрыло.
Брайан Хитч и Пол Маунтс / Комиксы Marvel Что касается Человека в капюшоне, он и Новые Защитники — теперь названные Фантастическая сила — переселили свое больное население в Ню-Мир, но во времени на них охотились Гея, проявление Матери-Земли, обезумевшей из-за массового отказа от своего народа.В конце концов, Человек в капюшоне вернулся в свое домашнее время и предложил свой исцеляющий фактор Гее, чтобы помочь восстановить мир и вернуть ему былую славу.



С внутренней стороны этих ниш можно нащупать заглушки;


Туго затягивать болты не рекомендуется, потому что сначала требуется установить боковые пластины, а затем балку.
Улучшает вашу езду, снижает износ пикапа и прицепа для перевозки лошадей Logan Cobra
/brand/vfm/vfm-1433-AN-2-n4-2.jpg)
Дюйм.
Я вижу, что у Логана много лет. Они хорошо держатся. Это хороший способ оценить грузовик или прицеп для лошадей, найти старые модели и посмотреть, хорошо ли они стареют. В прошлом году Logan Coach исполнилось 25 лет. Это один из первых трейлеров, в которых используется вся оцинкованная сталь. Прочный красивый прицеп, который стоит меньше алюминиевого прицепа.
Объединение инженерных технологий с Titan Trailers повысило эффективность строительства трейлеров Logan. 8 лет гарантии на конструкцию, 2 года гарантии на прицепы XTR, Edge, Razor и Warmblood.