Форкамерно-факельное зажигание в Ф1. Как у «Волги» ГАЗ-3102…
Необходимость извлекать максимальное количество мощности при минимально потраченной энергии побудила инженеров Формулы 1 обратиться к технологии, используемой на больших грузовиках. Технический эксперт AUTOSPORT Крэг Скарборо описал принцип работы форкамерно-факельного зажигания, который применили в Mercedes и Ferrari, и который ранее использовался на… правительственных «Волгах» в СССР…
Были времена, когда гонщика Ф1 запросто могли уволить за одно лишь сравнение машин Больших Призов с грузовиками. Но ирония состоит в том, что сейчас как минимум половина пелотона пользуется технологией повышения эффективности сгорания топлива, которая применяется на большегрузах…
С момента введения в гонках Гран При нового турбированного регламента в 2014 году вступило ограничение и на максимально доступное количество топлива на гонку – сейчас это 100 кг, а со следующего года будет 105 кг.
Это, в свою очередь, ограничило максимально допустимый мгновенный расход горючего и предельное давление, под которым топливо подается в камеру сгорания. Для инженеров подобные жесткие рамки стали настоящим вызовом – им необходимо было придумать способ в условиях этих ограничений добиться прежней выходной мощности силовых установок.
Но придумывать ничего не пришлось – специалисты вовремя вспомнили, что на больших грузовиках уже давно применяется технология форкамерно-факельного зажигания, позволяющая поджигать очень обедненную топливную смесь – практически неподжигаемую. Сегодня всё говорит о том, что именно к этой технологии обратились в Mercedes и Ferrari, а на подходе и остальные производители…
Традиционное зажигание
В двигателе с традиционной системой зажигания топливо впрыскивается непосредственно в камеру сгорания внутри цилиндра. По окончании сжатия и воспламенения топливно-воздушной смеси возникает эффект расширения объема, что обеспечивает ход поршня и очередной рабочий такт.
Этому принципу уже много десятков лет, и работает он прекрасно до тех пор, пока смесь можно поджечь свечой зажигания, то есть пока она в достаточной степени обеспечена топливом. Если же смесь становится обедненной, поджечь при помощи традиционной свечи ее становится проблематично, и двигатель теряет мощность.
Что же делать?
Нынешние требования технического регламента ограничивают топливный поток в пределах 100 кг/час, а давление впрыска горючего не должно превышать 500 бар. А с учетом высоких оборотов и давления наддува современных силовых агрегатов Ф1 просто не хватает времени, чтобы естественным путем получить топливно-воздушную смесь, необходимую для эффективного сгорания.
Таким образом, требуется какой-то способ эффективного воспламенения смеси в рамках нынешних ограничений регламента, включающих в себя также наличие лишь одной свечи на цилиндр и единственной форсунки.
В какой-то момент показалось, что выходом в этой ситуации может быть использование технологии компрессионного воспламенения однородной смеси (HCCI). Это метод, при котором воспламенение топливной смеси осуществляется не только за счет искры от свечи зажигания, но и от высокой температуры и давления, подобно дизельным двигателям.
И хотя эта технология вполне применима в условиях Формулы 1, нашелся более легкий и простой способ увеличить КПД силовой установки. Всего три слова – форкамерно-факельное зажигание.
Что же такое форкамерно-факельное зажигание?
Форкамерно-факельное зажигание обычно используется на моторах большого объема. Эффективное заполнение богатой топливно-воздушной смесью больших цилиндров там затруднено, в связи с чем было решено разделить проблему надвое.
Была создана дополнительная маленькая камера сгорания, в которой и были установлены форсунка и свеча зажигания. В свою очередь эта камера была связана узким каналом с основной камерой сгорания цилиндра. Именно эта небольшая предварительная камера и получила название форкамеры.
А теперь разберемся, при чем тут факел.
В момент первого такта двигателя – впуск – значительно обедненная топливно-воздушная смесь впрыскивается при помощи форсунки в цилиндр, заполняя его слабовоспламеняемыми парами.
После этого небольшой объем форкамеры заполняется обогащенной смесью, достаточной для воспламенения свечой зажигания – непосредственно перед тактами сжатия и рабочего хода цилиндра.
Само воспламенение, как вы уже поняли, происходит не в основной камере, а во вспомогательной форкамере. Эту обогащенную смесь благодаря ее характеристикам поджечь не так сложно, а в результате этой реакции образуются языки пламени (а вот вам и факел!), которые проникают через отверстие в основную камеру и эффективно поджигают обедненную смесь.
Это можно сравнить с эффектом воспламенения обедненной смеси при помощи сразу нескольких свечей зажигания. Важно также и то, что при таком методе зажигания топливная смесь в основном цилиндре сгорает быстрее, увеличивая общий КПД двигателя.
Таким образом, форкамерно-факельное зажигание позволяет инженерам работать с обедненной топливно-воздушной смесью и не выходить за жесткие рамки технического регламента: форсунка одна, свеча зажигания одна – все правила соблюдены.
Применение технологии в Формуле 1
С учетом того, что эта технология довольно широко распространена, ни о каком грифе секретности здесь можно не говорить. За последние три года в Формуле 1 потребление топлива было снижено более чем на 30%, но инженерам этого мало, и они готовы покорять все новые и новые вершины технологической мысли.
И тогда как практически все специалисты сходятся во мнении, что в современных моторах Ф1 применяется технология форкамерно-факельного зажигания, никаких подтверждений этого факта в командах не давали.
Известно, что Ferrari сотрудничает с компанией Mahle и пользуется технологиями этого бренда, среди которых числится и форкамерное зажигание. Есть предположения о том, что значительный шаг в плане мощности итальянского двигателя в этом году обусловлен именно применением упомянутой технологии.
Команда Mercedes отказалась от комментариев по поводу использования обсуждаемой системы зажигания, отметив при этом, что они не пользуются наработками компании Mahle.
Но у Mercedes достаточно и своего опыта строительства больших коммерческих двигателей, так что они вполне могли справиться и своими силами. На прошлогоднем Гран При Италии команда не отрицала, что ей удалось сделать серьезный шаг в области работы двигателя, и есть предположение, что они намекали именно на применение системы форкамерно-факельного зажигания.
Теперь слово за мотористами Renault и Honda, которые в настоящий момент вряд ли используют нетрадиционную систему зажигания в своих силовых установках. К тому же, оба производителя заявили о готовящихся обновлениях мотора.
При этом французские мотористы опробовали новый силовой агрегат уже на прошедших на этой неделе тестах в Барселоне – и вполне вероятно, что они испытывали именно эту новинку. А японцы собираются представить обновленный двигатель уже в Канаде…
А ВЫ ЗНАЛИ, ЧТО…
…в советском легковом автопроме технология форкамерно-факельного зажигания впервые была применена на автомобиле «Волга» ГАЗ-3102? Разработанный на основе автомобиля ГАЗ-24 «Волга», ГАЗ-3102 должен был стать её преемником.
Однако по целому ряду политических и экономических причин данный автомобиль выпускался мелкой серией (около трех тысяч машин в год), вместо массового производства, исключительно как служебная машина советской номенклатуры среднего звена – для заместителей министров, директоров крупных трестов и предприятий, руководителей известных театров, генералов, видных академиков-лауреатов, редакторов изданий и режиссёров.
Перевел и адаптировал материал: Александр Гинько
Форкамерно-факельное зажигание газовых двигателей
Форкамерно-факельное зажигание газовых двигателей30.11.2013
Для расширения диапазона работы газовых двигателей с внутренним смесеобразованием и качественным регулированием на частичных нагрузках используют
форкамерно-факельное зажигание.
При форкамерно-факельном зажигании небольшая порция обогащенной смеси воспламеняется от искры свечи, установленной в
дополнительной камере малого объема. Возникшее пламя с большой скоростью выбрасывается в виде факела через сопло дополнительной камеры в основную камеру
сгорания. Факел пламени служит мощным многоочаговым источником воспламенения и турбулизации основной порции горючей смеси в над-поршневом пространстве,
что обусловливает быстрое сгорание обедненных смесей.
К преимуществам форкамерно-факельного зажигания, кроме повышения экономичности двигателя при работе на частичных нагрузках, относится возможность при использовании искрового зажигания повысить допустимую степень сжатия до значений, близких или равных степеням сжатия дизелей и впоследствии не потребует дорогостоящего ремонта автомобиля.
У существующих конструкций газовых модификаций двигателей с форкамерно-факельным зажиганием в зависимости от степени сжатия и диаметра цилиндра объем фор-камеры составляет 3-7% объема основной камеры сгорания, а отношение объема фор-камеры к суммарной площади сечения соединительных каналов Уф/с = 15 — 70. Размеры фор-камеры уточняют для каждого двигателя при доводке рабочего процесса. Внутренняя конфигурация фор-камеры должна способствовать наиболее полной ее продувке газом.
Для предупреждения преждевременного воспламенения и детонационного сгорания обогащенной смеси в форкамере ее охлаждают водой, подводимой из системы охлаждения двигателя. С этой же целью целесообразно при впуске направить струю газа, поступающую из автоматического впускного клапана, на электроды свечи зажигания.
Фор-камера со свечой и автоматическим клапаном для впуска газа конструктивно является отдельным узлом, который обычно устанавливают на место снятой форсунки.
Воспламенение горящим факелом жидкого топлива. При впрыске в конце сжатия в газо-воздушную смесь дизельного топлива происходит образование,
как и в дизеле, горючей смеси из паров жидкого топлива и воздуха, обладающей более низкой температурой воспламенения по сравнению с газо-воздушной смесью.
Воспламеняясь, факел жидкого топлива образует в объеме газо-воздушного заряда мощный многоочаговый источник зажигания и турбулизации, достаточный для воспламенения
и эффективного сгорания бедных газо-воздушных смесей.
При сохранении топливной аппаратуры базового дизеля минимальная доля впрыскиваемого жидкого топлива при работе двигателя на газе с полной нагрузкой определяется конструкцией и условиями стабильной работы топливной аппаратуры при малых подачах и составляет 15-20% полной цикловой подачи при работе на одном жидком топливе. При меньшей цикловой подаче топлива увеличиваются неравномерность подач и их пропуски.
Для снижения минимального расхода жидкого топлива при работе двигателя по газожидкостному циклу и сохранения возможности работы на жидком топливе в систему подачи топлива вводят различные конструктивные изменения, позволяющие повысить стабильность ее работы при малых цикловых подачах, например, изменяют конструкцию нагнетательного клапана и т.п.
В некоторых конструкциях газожидкостных двигателей применяют два топливных насоса с золотниковым регулированием, впрыскивающих топливо через одну или две форсунки, насосов служит для подачи топлива при работе двигателя только на жидком топливе, другой, небольшой подачи,-для подачи жидкого топлива, когда двигатель работает на газе и подает всегда одно и то же количество топлива независимо от нагрузки двигателя. Топливные насосы при использовании одной форсунки соединены с ней через тройник. При работе двигателя на газе трубопровод насоса большой подачи отключается с помощью обратного клапана, расположенного в тройнике.
Топливные насосы могут быть выполнены с двумя различными по диаметру плунжерными парами в нагнетательной секции, работающей на одну форсунку. Малый и большой
плунжеры соединяют с помощью саморегулирующего подвижного замка. При работе по газожидкостному циклу подача жидкого топлива осуществляется одним малым плунжером,
а при работе только на жидком топливе-двумя плунжерами.
Используют также топливные насосы с одной плунжерной парой в нагнетающей секции для подачи точно дозированных порций основного и жидкого топлива.
Минимальный расход жидкого топлива при газожидкостном процессе составляет 3-6% количества топлива в двигателе при работе только на жидком топливе при полной нагрузке; меньшие значения относятся к газожидкостным двигателям с наддувом.
| Двигатели с послойным распределением смеси. Одним из эффективных способов снижения расхода топлива и уменьшения выброса токсичных веществ бензиновых двигателей является расширение диапазона качественного регулирования нагрузки за счет их перевода на частичных нагрузках на переобедненные смеси. Это достигается главным образом послойным распределением смеси в основной камере сгорания, применением форкамерно-факельного зажигания, интенсификацией искрового разряда, применением плазменных воспламенителей. Дальнейшее совершенствование бензиновых двигателей связано с использованием качественного реагирования нагрузки. В процессе эксплуатации основную часть времени двигатель работает на частичных нагрузках. Схема двигателя Honda CVCC с форкамерно- факельным зажиганием: А — форкамера; В — основная камера зажигания При этом удельные расходы топлива (расход топлива деленный на мощность) существенно увеличиваются, ведь
мощность уменьшается, а потери на трение, привод агрегатов остаются. Для бензиновых двигателей с количественным регулированием нагрузки (путем прикрытия
дроссельной заслонки) рост расхода топлива усугубляется более вялым сгоранием из-за повышения количества
остаточных газов и увеличением потерь при ходе впуска,
когда поршню приходится «засасывать» смесь при разряжении в цилиндре, доходящим до 400-500 мм рт.cт. Фирмам Toyota и Mitsubishi удалось создать эффективную систему питания с непосредственным
впрыском бензина в
цилиндр и добиться возможности работать на переобедненных смесях (до а = 4) за счет послойного распределения смеси. Ведущие европейские фирмы работают над созданием бензиновых двигателей с качественным регулированием нагрузки за счет перевода при частичных нагрузках на переобедненные смеси по аналогии с двигателями Toyota и Mitsubishi. Фирмой Audi создан двигатель 2.0 FSI с непосредственным впрыском бензина в цилиндр. При больших нагрузках воздушная заслонка открыта и смесь в цилиндре гомогенная, на малых нагрузках воздушная заслонка прикрывается , в цилиндре создается вихревое движение заряда, обеспечивающее послойное распределение смеси путем подачи топливовоздушной смеси к свче. Однако их внедрение в массовое производство задерживается из-за ограниченного ресурса накопительных катализаторов оксидов азота при работе на европейских бензинах с повышенным, по сравнению с японским топливом, содержанием серы. Общие сведения о двигателях внутреннего сгорания |
История создания ( ЧАСТЬ V )
Особенности
Главной технической новинкой был форкамерно-факельный двигатель ЗМЗ-4022.10.
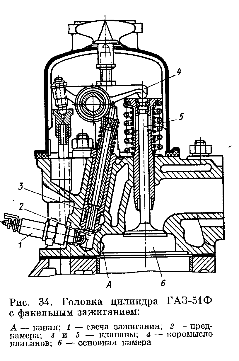
Первые разработки форкамерных двигателей на ГАЗ-е относятся к пятидесятым годам, и велись в целях повышения топливной экономичности. Были созданы двигатели с форкамерным зажиганием для автомобилей ГАЗ-51 (ГАЗ-51Ф, было выпущено некоторое количество)
и ГАЗ-21 (опытный, ставился на прототипы).
Поджиг рабочей бензовоздушной смеси в них осуществлялся не непосредственно искрой на свече зажигания, а факелом раскалённых газов, вырывающимся из специальной форкамеры (предкамеры) — частично отделённой от остального объёма камеры сгорания полости, в которой располагалась свеча (по одной на цилиндр).
В форкамеры через небольшие дополнительные клапаны в головке двигателя (то есть всего у двигателя было 12 клапанов — 8 впускных и 4 выпускных) подавалась обогащённая смесь, которая поджигалась искрой и инциировала горение непосредственно в цилиндре, куда подавалась, наоборот, относительно бедная рабочая смесь. Соответственно, карбюратор был трёхкамерным — первичная, вторичная и третья, подающая обогащённую смесь в форкамеры.
Однако, в ходе испытаний выяснились и недостатки — в первую очередь, недостаточное улучшение экономичности (не более 3-5 %), что, в сочетании с отмечавшейся неустойчивостью работы на переходных режимах, не окупало существенного сложнения конструкции форкамерного двигателя. Как результат, в крупносерийное производство такие моторы тогда не пошли.
К идее вернулись при разработке модели, предназначенной на смену «двадцать четвёртой» «Волге», имея в виду уже не только повышение топливной экономичности, но и необходимость снижения вредных выбросов в атмосферу — форкамерный механизм позволял достичь этого за счёт обеспечения работы двигателя на обеднённой бензовоздушной смеси.
Однако, прорыв в разработке наступил только после того, как за рубежом появились работоспособные серийные модели с форкамерным зажиганием. В середине семидесятых на заводе тщательно изучили силовой агрегат автомобиля «Хонда Сивик» CVCC (1975 г.), найдя в японской разработке недостающие ответы на многие из имевшихся вопросов.
Результатом многолетних разработок стал серийный двигатель модели ЗМЗ-4022.10.
Мощность его возросла до 105 л.с. (по сравнению с 95 л.с. у обычного ЗМЗ-24)
при этом топливная экономичность, по данным производителя, существенно улучшилась (расход топлива снизился с 10,5 л. на 100 км пробега при постоянной скорости 80 км/ч — до 8,5 л.
на 100 км в тех же условиях, то есть, почти на 20 %).Динамика «Волги» ГАЗ-3102 с таким двигателем также существенно улучшилась — разгон с места до 100 км/ч занимал теперь 16,2 с. против 21 с. у ГАЗ-24 — то есть, почти столько же, сколько у считавшегося в то время весьма динамичным ВАЗ-2106.
Кроме того, благодаря использованию обеднённой смеси новый двигатель оказался существенно экологичнее своего предшественника.
Тем не менее, будучи вполне работоспособной и доведённой конструкцией, серийный форкамерный двигатель имел и существенные недостатки. В первую очередь, следует отметить проблемы с перегревом: несмотря на радиатор увеличенной ёмкости, температурный режим двигателя был довольно напряжённым. Кроме того, система оказалась чувствительной к настройке и квалификации обслуживающего персонала. Довольно сложным и трудоёмким было и обслуживание трёхкамерного карбюратора К-156.
В результате, двигатель приобрёл у ремонтников довольно плохую репутацию, и впоследствии в процессе длительной эксплуатации на большинстве машин форкамерные двигатели были заменены на обычные, модели ЗМЗ-402. В настоящее время «Волги» ГАЗ-3102 в раннем кузове (с расположенным за задним сидением бензобаком и, соответственно, его лючком под задней стойкой крыши) с родными форкамерными двигателями достаточно редки, нечасто встречаются и запчасти.
Панель приборов ГАЗ-3102 первого выпуска (1981—1997 гг.) была внешне во многом схожа с более поздней моделью ГАЗ-24-10, но выполнена из более качественного мягкого пластика. Дизайн и приборы напоминали «Чайку» ГАЗ-14.
На модель 3102 впервые в семействе «Волга» начали устанавливать передние дисковые тормоза (четырёхпоршневые, с суппортами от АЗЛК-2140 и вентилируемыми дисками) и форкамерный карбюраторный двигатель ЗМЗ-4022.10 мощностью 105 л.с.
*
( Материал из Википедии )
Волга ГАЗ-3102 / Автолегенда
ГАЗ-3102
Годы производства — 1981-2008 гг
Тип кузова — седан
Двигатель — карбюраторный, с форкамерно-факельной системой зажигания, 4-х цилиндровый, рядный, 2445куб.
см
Мощность — 105л.с
Трансмиссия – 4-х ступенчатая, механическая
Клиренс — 156мм
Колесная база — 2800мм
Габарит (длина/ширина/высота) -4960мм/1820мм/1476мм
Максимальная скорость — 160км/ч
Расход топлива – 8.5л/100км
Масса — 1450кг
ГАЗ-3102, изначально изготавливавшийся в ограниченных масштабах на отдельной производственной линии, предназначался для обслуживания исключительно руководства среднего звена партийных и государственных учреждений, поэтому для продажи населению и в таксомоторные парки не поступал, хотя изначально такой проект анонсировался в СМИ в связи с московской Олимпиадой-80. Зато после выхода в свет впервые в свободной продаже появились хотя и устаревшие, но пользовавшиеся спросом ГАЗ-24.
Особый престижный «директорский» статус сохранился за ним и в более позднюю рыночную эпоху.
Модель ГАЗ-3102 планировалось как «дежурное обновление» Волги ГАЗ-24, главной задачей которого было дать автомобиль, соответствующий современному дизайну и возросшей динамики сменившейся флагманской модели-Чайке ГАЗ-14.Так на ГАЗе сложилась парадоксальная ситуация, на основном конвейере выпускалась стремительно устаревавшая ГАЗ-24, а на отдельной линии производства автомобилей малых серий с годовым выпуском в 2-3 тысяч машины собирался ГАЗ-3102.
Главной технической новинкой был форкамерно-факельный двигатель ЗМЗ-4022.10. Первые разработки форкамерных двигателей относится к пятидесятым годам.
Они велись в целях повышения топливной экономичности автомобилей. У 4-х цилиндрового двигателя было 12 клапанов (8 впускных и 4 выпускных). Динамика Волги существенно улучшилась. Тем не менее, серийный форкамерный двигатель имел и недостатки, а так же не хватало квалификации обслуживающего персонала. В 1992г. производство Волг с форкамерным двигателем было прекращено. Всего выпущено примерно 27000 автомобилей с таким мотором.
На модель 3102 впервые в семействе «Волг» начали устанавливать передние дисковые тормоза
«Волге» ГАЗ-3102 суждено было стать рекордным легковым автомобилем по продолжительности выпуска. На момент снятия с производства ГАЗ-3102 было 28 лет, этот срок стал самым долгим за всю историю легковых автомобилей ГАЗ.
Модификации
ГАЗ-3102Л – удлиненный вариант
ГАЗ-31022 – универсал (выпускался штучно, по специальным заказам)
ГАЗ-31011, ГАЗ-31012, ГАЗ-31013 – имели 8-ми цилиндровый двигатель
Всего порядка 12 модификаций
7 мифов про «народный Мерседес» — журнал За рулем
Эта машина всегда выпускалась ограниченным тиражом. Но выпускалась около тридцати лет.
ГАЗ-3102 — моя любимая отечественная машина. Со всеми ее плюсами и минусами. Ездил, чинил, тюнинговал, переделывал, радовался, злился — всё было. И так делали тысячи владельцев. А десятки тысяч завидовали, что они такую машину не могли купить. Нет ничего странного в том, что про модель рассказывали… назовем это «разное».
Миф 1. ГАЗ-3102 срисовали с Мерседеса
Материалы по теме
Это и правда, и неправда.Правда состоит в том, что такое указание было. Модель 3102 изначально должна была сменить на конвейере «24-ку», сделав при этом, по указанию свыше, шаг в направлении Мерседеса S-класса W116 начала семидесятых. Был когда-то такой красавец — на него и сегодня приятно посмотреть.
Но что реально могли сделать газовцы? Двигатель на первых порах стоял необычный — форкамерный, а тормоза стали дисковыми, но в остальном ограничились, по большей части, внешними эффектами.
Кузов получил клиновидное оперение, «мягкую» переднюю панель, очень симпатичные сиденья и бензобак за спинкой заднего сиденья. Пассивная безопасность — примерно как у W116. Причем на самых-самых ранних моделях бак был еще под брюхом, но, глядя на заведомо «правильный мерс», это быстренько поправили.
А неправда состоит в том, что итоговое сходство с мерседесом выразилось разве что в стремлении сделать машину лучше, чем она была. Изначально конструкторы были зажаты рамками той же «двадцатьчетверки», а потому ни до какого «передирания» дело просто не дошло. Да и не могло дойти.
| Похожа на Мерседес? Да нет, не похожа. Но если сравнивать по статусу в былые времена — вполне! Похожа на Мерседес? Да нет, не похожа. Но если сравнивать по статусу в былые времена — вполне! | Mercedes-Benz W116 Mercedes-Benz W116 |
Миф 2. Такую Волгу не продавали частным лицам
Это тоже и правда, и неправда. Точнее, поначалу было правдой, но потом всё изменилось.
Материалы по теме
Дело в том, что новая Волга получилась, скажем так, слишком привлекательной — хотя и не напоминала Мерседес. Машина настолько понравилась чиновникам, что сама мысль о том, что такие же автомобили будут хотя бы изредка продаваться простым профессорам и народным артистам, показалась им политически ошибочной. Купить «Волгу» ГАЗ-24 и без того было почти невозможно, но «ноль-вторую» решили поставить особняком, резко ограничив ее тираж. А простым смертным, добившимся-таки разрешения приобрести дорогую игрушку в личное пользование, стали предлагать нечто среднее — ГАЗ 24–10. Приборная панель — жесткая, тормоза — барабанные, морда — пластиковая…Но после развала СССР всё поменялось. Очумевшие от переизбытка средств чиновники радостно накупили настоящих мерседесов, а потому Волге пришлось шагнуть в народ. Тут-то и выяснилось, что 3102 получилась настолько удачной, что сможет продержаться на плаву очень долго.
Более того, для нее придумали замечательный термин: «Представительская»! Начиная с этой модели, «Волги» существовали в двух обличьях: престижная 3102 и остальные. И если за последующие четверть века вместо ГАЗ-24 появилась 24–10, а затем — 31029, 3110, 31105, то все это были как бы «простые волги». А вот 3102 все это смутное время просуществовала вне календаря и пространства — как комод красного дерева или кузнецовский фарфор. При этом она потихоньку получала измененную переднюю подвеску, мощный впрысковый мотор, пятиступенчатую коробку, гидроусилитель руля, современный салон и т.п.
Фильм «Следствие ведут знатоки. Дело 22. Мафия», 1989 год. Герой Пороховщикова — глава преступной группировки. Он всесилен — в его распоряжении есть даже автомобиль ГАЗ-3102, который, как известно, никому не продается.
Миф 3. Самую «редкую» Волгу выпускали дольше, чем любую другую
Это правда. Первые «ноль-вторые» появились в конце 1981 года, а последние были выпущены в 2008.
Миф 4. Бензобак переехал от спинки заднего сиденья под днище, потому что модель 3102 провалила тест по безопасности.
Материалы по теме
Это неправда. История с бензобаком довольно длинная, но безопасность тут ни при чем. На самых-самых первых «ноль-вторых» бак висел под брюхом, как у ГАЗ-24, но потом посмотрели на W116 и сделали «правильно». На фото старых 3102 видно, что лючок бензобака размещен в верхней части левого заднего крыла. Такие машины изредка встречаются и сегодня, сразу выдавая этой деталью возраст. При этом колесо было под полом, а багажник представлял собой почти что образцовый параллелепипед.Но тут в дело вмешалась табель о рангах. Как уже отмечалось, машина так понравилась Большим Начальникам, что в личное пользование ее решили не продавать.
А тем, кто ездит на заднем сиденье, расположение бака и форма багажника глубоко безразличны. При этом массовой оснастки под нормальный 70-литровый бак на заводе не было. Поэтому смотреть на «мерседес» вскоре перестали, а на 3102 поставили древний бак от 24-ки, унифицировав заднюю часть кузова с «плебейским» вариантом типа ГАЗ-31029, поступавшим в розничную продажу.
Позднее 55-литровые баки потихоньку стали заменяться на 70-литровые — внешне они различались числом продольных штамповок. Но место их расположения при этом не изменилось.
Миф 5. На ГАЗ-3102 специального назначения устанавливали двигатели с форкамерно-факельным зажиганием.
Это неправда. О специальном назначении речь не шла: поначалу на все 3102 устанавливали новый движок — ЗМЗ-4022.10 с форкамерно-факельным зажиганием и ступенчатой системой впуска воздуха. Экономичный, необычный, инновационный мотор должен был снизить прожорливость Волги на пару литров. К сожалению, эйфория длилась недолго, и новичка потихоньку «уволили»: его тепловой режим получился очень напряженным, а карбюратор то и дело требовал настройки. Для «волжанок» это было в диковинку, потому что изначально машины славились равнодушием к своевременности и качеству обслуживания, исправно наматывая сотни тысяч километров. В итоге такой движок просуществовал примерно до 1992 года — в производстве он соседствовал с «обычным» ЗМЗ-402.10, после чего от него отказались. Позднее под капотом «ноль-вторых» поселились впрысковые ЗМЗ-406. А в конце конвейерной жизни появились и «ноль-вторые» с двигателем Chrysler.
Фильм «ТАСС уполномочен заявить», 1984 год по произведению Юлиана Семенова. Проезд сотрудника КГБ от Спасской башни до площади Дзержинского, конечно же, на ГАЗ-3102.Фильм «ТАСС уполномочен заявить», 1984 год по произведению Юлиана Семенова. Проезд сотрудника КГБ от Спасской башни до площади Дзержинского, конечно же, на ГАЗ-3102.
Миф 6. Тормоза никуда не годились
Это и правда, и неправда.
Тормоза, по директиве министерского начальства, позаимствовали с «Москвича» в угоду унификации. Конструкторы упирались, как могли: мол, машина-то куда тяжелее. Но указание «еще раз все просчитать» выполнили. Оказалось: выдержат, но на пределе. Автомобиль успешно прошел все положенные испытания, но позже начались аварии. Да не простые, а с лицами из высших эшелонов власти. После нескольких ДТП с внезапно отказавшими от перегрева тормозами пришлось даже выпустить засекреченную инструкцию, как и насколько часто менять тормозную жидкость. Оказалось, что со временем она впитывала влагу, а потому кипение наступало раньше положенного. Директива приказывала перед заливкой проверять ее «на вшивость», то бишь на реальную температуру кипения. Мол, соответствует ли ГОСТу? А в книге Н. А. Пугина «50 лет с Горьковским автомобильным: Воспоминания. Размышления» по этому поводу было сказано, что механики, дескать, самовольно заливали жидкость БСК, кипящую при температуре чуть выше 90 градусов. Проблемы исчезли с появлением новых тормозных жидкостей DOT-3, DOT-4.
Миф 7. Кузов «ноль-вторых» опаивался снаружи.
Это частичная правда. Владел автомобилем ГАЗ-3102 образца 2000 года, в ПТС которого была запись: «С опайкой швов кузова». Но целиком весь кузов, конечно же, никто припоем не покрывал.
Всех, кто хочет поделиться своим мнением о ГАЗ-3102, приглашаем высказаться чуть ниже.
Фото: из архива автора и Анастасия Аверина
Зажигание факельное — Справочник химика 21
СИСТЕМЫ ЗАЖИГАНИЯ ФАКЕЛЬНЫХ УСТАНОВОК [c.33] Зажигание факельного разряда происходит при прикосновении к рабочему электроду изолированного проводника. Возникающая вначале высокочастотная дуга переходит при удалении проводника в одноэлектродный разряд—факел. На электроде с малым радиусом кривизны — острых и тонких проволоках — факел зажигается самопроизвольно в момент включения генератора. Для лучщей стабилизации разряда можно оставлять второй изолированный электрод — этим создается дополнительная емкость между рабочим электродом и землей.
[c.75]
Приборы для контроля и управления процессом горения. В эту важную группу приборов входят устройство дистанционного -зажигания факела УЭФ-2 для дистанционного розжига четырех дежурных горелок факельной трубы высотой 60 м, а также система аналогичного назначения типа СЭФ для факела высотой до 120 м электрозапал-сигнализатор ЭЗС-Д для розжига газовых горелок печей, технологических печей и сигнализации погасания пламени блок управления горением в топках котельных установок БУГ-500 и блок контроля пламени для этих же котлов сигнализатор погасания пламени СПП-1 для печей технологических установок и топок под давлением. [c.172]
В факельной установке должно постоянно гореть дежурное пламя, которым в любой момент можно поджечь газовую смесь, поступающую на факел. Для зажигания дежурного пламени при пуске факельной установки илп после погасания предусматривается запальное устройство. [c.228]
Обычно в факеле должно постоянно гореть дежурное пламя, которое в любое время может поджечь газовую смесь, поступающую на факел. Для зажигания дежурного пламени при пуске факела или после его погасания предусматривается запальное устройство. Для нормальной работы факельного устройства необходимо постоянное наблюдение за работой дежурной горелки, что обеспечивается соответствующей сигнализацией. Пламя газа, сжигаемого на факеле, должно быть стабильным и устойчивым. Проскок пламени в трубу факела, как и его отрыв, недопустимы. Подобные явлении возможны только при нарущениях технологического режима или из-за неправильной конструкции факел 3. [c.133]
Перед зажиганием форсунок печи, работающей на газовом топливе, необходимо проверить плотно ли закрыты рабочие и контрольные вентили на всех форсунках, спущен ли конденсат из топливной линии, продута ли топливная линия газом на свечу или факельную линию. Если газ по какой-то причине не загорелся или форсунки потухли, необходимо закрыть рабочий вентиль, продуть топку и газопровод, идущий к форсункам, а затем повторить зажигание форсунки.
[c.101]
Двигатели, работающие на газе высокого давления, с факельным зажиганием, действуют по принципу газодизеля, когда заряд вспомогательного топлива (обычно дистиллятного, около 5% общего количества топлива) впрыскивается через топливный клапан непосредственно перед ВМТ и инициирует процесс сгорания. Затем в цилиндр под высоким давлением (например, 250 бар) подается остальной заряд (обычно природный газ). Газ воспламеняется по мере поступления в цилиндр, что обеспечивает полноту сгорания без детонации и преждевременного воспламенения. В этих двигателях около 5-7% эффективной мощности затрачивается на сжатие газового заряда. При прекращении подачи газа они могут переводиться на работу на дистиллятном топливе. [c.129]
Для зажигания свечи используются различные способы. Наиболее часто применяется поджигание выходящего из свечи газа ракетой. На некоторых заводах используется запальное устройство, представляющее собой трубу в трубе с продольной щелью или отверстиями. Пламя поднимается по этой трубе до головки факельного ствола. [c.289]
Чтобы улучшить условия эксплуатации факельных труб, применяется бездымное сжигание газа, а также системы автоматизированного зажигания факела. [c.200]
На некоторых заводах факельное хозяйство не справляется с приемом поступающего продукта, особенно при аварийных, ситуациях, когда сотни тонн конденсата выбрасываются через факельную трубу. Нередки случаи погасания факела, при которых пары и газы непосредственно поступают в атмосферу. До сих нор на ряде действующих НПЗ отсутствует система автоматического зажигания факела. [c.162]
Вариант сценария развития пожара Мя 1. При образовании взрывоопасной концентрации снаружи резервуара вследствие больших и малых дыханий (сцена А. 1.1.) и появлении источника зажигания возникает пожар на дыхательных клапанах или в местах негерметичности сочленения пенных камер с корпусом резервуара (сцена А.
7.1.). При этом в зависимости от величины концентрации паровоздушной среды внутри резервуара возможно устойчивое факельное горение (сцена А.7.1.) взрыв паровоздушной среды в резервуаре (сцена А.7.2.). [c.118]
Спроектирована высотная факельная установка, которая состоит из гидрозатвора, факельного ствола, газового затвора для сокращения расхода продувочного (топливного) газа, факельного оголовка, дежурных горелок и системы зажигания (3.196). Все эти элементы обеспечивают стабильную (без погасания) работу факельной установки в широких технологических режимах. Наличие устройств для распыления пара обеспечивает полноту сгорания углеводородов, содержащихся в сбросном газе. Специальные факельные горелки обеспечивают автономное сжигание сероводорода независимо от расхода углеводородных газов. Предусмотрены резервные стволы с оголовками как для сероводородного, так и для углеводородного сбросов. Это позволяет обеспечить бесперебойную работу факельной установки. [c.266]
ЗАЖИГАНИЕ НАКАЛЕННОЙ ПОВЕРХНОСТЬЮ И ФАКЕЛЬНОЕ ЗАЖИГАНИЕ [c.17]
Зажигание накаленной поверхностью и факельное зажигание широко применяют в качестве обычных средств зажигания. В двигателях внутреннего сгорания такие средства зажигания не используют. [c.17]
Если газ по какой-то причине не загорелся или форсунки потухли необходимо закрыть рабочий вентиль, продуть топку паром, а газопровод, идущий к форсункам-газом на свечу (в факельную линию) и повторить зажигание форсунки. [c.20]
При факельном горении пылевидное топливо непрерывно подают в топку с помощью воздуха или газовоздушной смеси. Одновременно в эту же зону подают дополнительный (вторичный) воздух в количестве, достаточном для полного выгорания топлива. При установившемся в топке горении в поток вновь поступающей пылевоздушной смеси увлекаются высокотемпературные продукты горения, которые подогревают и воспламеняют смесь. Таким образом, создается непрерывное постоянное зажигание свежей пыли, причем устойчивость процесса увеличивается с ростом температуры газов в топке.
[c.104]
Факельная установка должна состоять из факельного ствола, оснащенного оголовком и лабиринтным уплотнением, системы зажигания, средств контроля и автоматизации, обвязочных трубопроводов. [c.145]
Факельные трубы должны быть оборудованы электрозапаль-ным устройством с дистанционным управлением и автоматическим зажиганием факела, горелками постоянного горения, подводом топливного газа, подводом водяного пара, устройством для бездымного сжигания газов. [c.186]
Факельные газопроводы служат для сбора факельных газов. Факельные- трубы предназначены для открытого и безопасного сжигания или рассеивания газа. Высота труб должна быть не менее 35 м. В общезаводской факельной системе должно быть не менее двух взаимозаменяемы труб, расположенных на расстоянии не менее 50 м одна от другой. Факельные трубы оборудуют горелками постоянного горения, электрозапальным устройством с дистанционным управлением и автоматическим зажиганием факела, устройством для бездымного сжигания газов, подводами топливного газа и водяного пара. ФакельНые системы снабжают предохранительными устройствами (огнепреградителями, гидрозатворами и др.). предотвращающими попадание внутрь системы воздуха, проскок пламени факельной горелки. [c.205]
Факельные установки бывают общезаводские (общекомбинатские), в которых сжигают близкие по составу газовые выбросы (например, углеводороды) с различных производств предприятия, и спещ1альные (в составе отдельных технологических установок или производств). Факельная установка состоит из подводящих трубопроводов сбросных газов на факел, факельной трубы (ствола), трубопроводов топливного (природного) газа, трубопроводов инертного (продувочного) газа и средств зажигания, контроля и сигнализации. [c.200]
Относительно простое решение задачи значительного расширения пределов эффективного использования бедных смесей в бензиновых двигателях на частичных нагрузках при одновременном сохранении высоких мощностных и экономических показателей на полных нагрузках дает фор камерно-факельное зажигание, разработанное А.
С. Соколиком, А. Н. Воиновым и Л. А. Гуссак [18]. [c.59]
Принцип форкамерно-факельного зажигания заключается в том, что воспламенение рабочей смеси в цилиндре осуществляется не искрой свечи, а факелом пламени, образующимся при сгорании небольшого количестаа обогащенной смеси в особой форкамере, соединенной с основной камерой сгорания несколькими каналами. Объем форкамеры составляет всего лишь 2 —3% от объема основной камеры сгорания. В форкамере расположены свеча зажигания и небольшой дополнительный впускной клапан, открывающийся одновременно с основным впускным клапаном общим приводом (рис. 15). Через дополнительную впускную систему в форкамеру подается обогащенная смесь, обеспечивающая наиболее благоприятные условия воспламенения и развития начального очага горения. После воспламенения смеси в форкамере быстро возрастает давление, и продолжающие догорать газы выбрасываются через отверстия в основную камеру, где после очень небольшого периода задержки юбедненная смесь воспламеняется практически одновременно в целом ряде точек на периферии факела. Такое энергичное воспламенение смеси, дополнительно турбулизированной факелом, приводит к тому, что в цилиндре оказываются способными гореть с достаточно высокими скоростями сильно обедненные смеси с коэффициентом избытка воздуха а = 1,7—1,8 [181. [c.59]
Форкамерно-факельное зажигание в настоящее время нашло практическое применение на некоторых разновидностях отечественных и зарубежных двигателей [23, 24]. [c.60]
Двигатели с зажиганием от исфы, работающие на газе низкого давления, подобны «двухтопливным» двигателям. Поскольку для инициирования горения в данных двигателях используют не запальное топливо, а электрическую свечу, их относят к классу устройств с зажиганием от искры. Им присущи доаоинства и недостатки двигателей низкого давления с факельным зажиганием. [c.129] Двигатели, использующие газ низкого давления, с факельным зажиганием, работают по тем же принципам, что и двигатели с высоким давлением газа, но горючий газ у них смешивается с воздухом при меньшем давлении во впускном трубопроводе или в предкамере и затем поступает в цилиндр.
После этого в цилиндр впрьюкивается дистиллятное топливо, которое инициирует процесс сгорания. Эти двигатели обычно называют «двухтопливными», У этих двигателей несколько короче процесс газообмена, что понижает термический КПД, [c.129]
Принцип форкамерно-факельного зажигания заключается в том, что воспламенение рабочей смеси в цилиндре осуществляется не искрой свечи, а факелом пламени, образующимся при сгорании небольшого количества обогащенной смеси в особой форкамере, соединенной с основной камерой сгорания несколькими каналами. Объем форкамеры составляет всего лишь 2—3% от объема основной камеры сгорания. В форкамере расположены свечи зажигания и небольшой дополнительный впускной клапан, открывающийся одновременно с основным впускным клапаном общим приводом (рис. 5.3). [c.158]
Возможности нейтрализаторов показаны при испытаниях двигателей легковых автомобилей ГАЗ. Двигатели ЗМ3 4021.10с искровым зажиганием и двигатель ЗМЗ 4022.10 с форкамерно-факельным зажиганием испытывались по европейскому циклу на беговых барабанах при пробеге 21 тыс. км на бензине А-76. [c.340]Двигатель с форкамерно-факельным зажиганием снижает выбросы всех вредных веществ по сравнению с двигателем с искровым зажиганием. Особено эффективной оказалась установка нейтрализатора. Двигатель с форкамерно-факельным зажиганием и с нейтрализатором снижает выбросы оксида углерода в 10 раз, углеводородов — в 6,5 раз, оксида азота — в 3 раза, а содержание бензпирена в ОГ уменьшается в 32 раза по сравнению с двигателем с искровым зажиганием, т. е. массовым двигателем, устанавливаемым на городских такси. [c.340]
Зажигание с помощью открытого пламени называется факельным зажиганием. Воспламенение ири зажигании накаленной поверхностью, факельном и искровом инициируется локальным введением в не-иагретую газовую смесь нагретого до высокой температуры тела или другого высокотемпературного источника зажигания, которое и вызывает формирование самораспространяющегося пламени.
Такой тип воспламенения называется вынужденным воспламенением или просто зажиганием. Другой тип воспламенения, рассматриваемый ниже, называется самовоспламенением. [c.17]
Для проверки этих теоретических предположений были поставлены опыты по зажиганию газов в туннельной горелке. Горючая смесь подавалась в кварцевую трубку истечение струи без отрыва от стенок. Такое выполнение горелки дало возможность исключить участки застойных вихревых зон, а влияние застойной пленки продуктов сгорания у стенок горелки уменьшить до минимума. В этой горелке не удалось получить беспламенного горения при малых скоростях газовой смеси имело место факельное горение у выходного сечения туннеля. При увеличении скорости свыше 1,25—1,4 м/с факел открывался и погасал. При удалении раструба благодаря восстановлению вихревых зон горячих продуктов сгорания в туннеле в горелке осуществлялось сжигание газа с такими же высокими тепловыми напряжениями, как и в туннельных керамических горелках. [c.173]
На рио. 22 приведена технологическая схема факельной установки. Факельный газ по трубоцроводу поступает в сепаратор-гидрозат-вор I, откуда по стволу факела 2 в газоотатический затвор З.и далее в оголовок 4. Для обеспечения нормальной работы на факельную установку подается топливный газ через сетчатый фильтр 5. Этот газ поступает на газостатический затвор и дежурные горелки 8, расположенные в оголовке факела. Для обеспечения бездымного сжигания факельного газа на факельную установку подается пар. Факельная установка оборудована устройством дистанционного зажигания факела 6, контрольной газовой горелкой 7, пробоотборником 9 и пароподогревателем 10. Сбор парового конденсата обеспечивается через конденоа-тоотводчики II. На линиях топливного газа и пара установлены регуляторы давления 12. [c.94]
Двигатель создан на базе дизеля 61Б и максимально с ним утшфицирован. Двигатель имеет форкамерно-факельное зажигание. При мощности 3676 кВт и массе 39 т его удельный массовый показатель равен 10,88 кг/кВт.
КПД двигателей достигает 36-37 %. [c.512]
Опыт показал, что форкамерно-факельное зажигание обеспечивает устойчивую и экономичную работу газового двигателя в широком диапазоне скоростных и нагрузочных режимов, включая пуск и холостой ход. Примененная система смесеобразования позволила исключить попадание газа в выпускную систему и тем самым устранить опасность взрыва. [c.513]
Форкамера двигателя внутреннего сгорания
Изобретение относится к двигателям и насосам.
Форкамера двигателя внутреннего сгорания содержит пространство, боковые каналы пламени, расположенные под углом к продольной оси канала и тангенциально к поверхности его стенки, и осевой канал пламени. В соответствии с настоящим изобретением в боковых каналах пламени размещены круглые постоянные магниты. Вышеупомянутые каналы расположены под углом от 5 ° до 30 ° к оси по часовой стрелке. Количество боковых каналов пламени варьируется от 4 до 7.Диаметр осевого канала пламени делают равным диаметру боковых каналов пламени или превышающим его.
Технический результат: использование низкооктановых бензинов и повышение эффективности зажигания.
ф-лы, 3 ил.
Изобретение относится к области техники, в частности к двигателям внутреннего сгорания, к способам и устройствам интенсификации сгорания топлива в двигателях внутреннего сгорания (лед). Проблема снижения токсичности выхлопных газов напрямую связана с эффективностью сгорания топливно-воздушной смеси (ТВС) в камерах сгорания двигателя.Повышение степени сгорания ТВС за счет интенсификации работы двигателя снизит токсичность отработанных выхлопных газов и улучшит чистоту атмосферного воздуха.
Существуют различные способы интенсификации двигателей внутреннего сгорания, суть которых сводится к регулировке рабочего процесса: состава смеси, момента зажигания, степени сжатия, перекрытия клапанов, количества свечей и т. Д. Проблема в том, что при проектировании современного двигателя внутреннего сгорания учитываются одновременно все эти методы и, следовательно, дальнейшее совершенствование двигателя внутреннего сгорания с целью повышения полноты сгорания и снижения выбросов отработанных токсичных веществ (книга Вагонова.
Токсичность двигателя внутреннего сгорания, Метры: машины, 1981, стр. 80 … 91). Использование катализаторов в выхлопной системе позволяет значительно снизить выбросы токсичных веществ, но приводит к ухудшению рентабельности. Практически все способы интенсифицировать перемешивание топливно-воздушной смеси одновременно, при этом экономичные показатели двигателя.
Наиболее распространенные способы и устройства для улучшения тренировки ТВС путем впрыска топлива через форсунку с электромагнитным клапаном в воздушный поток и смешивания определенных пропорций топлива и воздуха в камере перед впускным клапаном двигателя с последующим впрыском топлива. Топливная сборка через впускной клапан в моторную камеру (книга «Арденовские системы-впрыск бензиновых двигателей», М, 1994).Благодаря наличию бортового компьютера, датчиков токсичности, расхода топлива, воздуха и температуры, способ позволяет интенсифицировать работу двигателя внутреннего сгорания и снизить расход топлива и токсичность отработанных выхлопных газов двигателей внутреннего сгорания. Недостатком аналога является несовершенство технологической смеси ТВС и имеющейся у нее искры зажигания в камерах сгорания двигателя.
Известны способы и устройства интенсификации двигателя внутреннего сгорания за счет модернизации методов и устройств искрового зажигания топливных элементов (Статья «Искра разожжет пламя», авторы — Ю.В. Соловьев, Исоловьев, в Авторевю, N 17, 1996). Суть предложений заключается в модернизации электронных устройств зажигания за счет изменения их конструкций, технологий нанесения на них износостойких покрытий. Преимущества нового электрокамера с одним центральным электродом, предложенного шведской фирмой SAAB, заключаются в увеличении срока службы таких электрокамер,
улучшение процесса воспламенения топлива в камерах сгорания двигателя. К их недостаткам можно отнести отсутствие интенсификации процесса воспламенения и горения топливных элементов при реализации известных способов искрового зажигания смеси из существующих систем электрохирургии, основанных на получении импульсов высокого напряжения небольшой продолжительности с использованием эффекта самоиндукция при коммутации тока в индукционной катушке зажигания, из-за малого времени существования искры, ограниченной электромагнитной постоянной времени существующей индукционной катушки зажигания, а также из-за отсутствия операций, предшествующих подготовке ТВС к более качественным камерам сгорания двигатель (отсутствие работы озона, воздуха, электростатического распыления топлива в камеру сгорания, электрическое поле дожигания несгоревшего компонента ТВС, такта отвода выхлопных газов).
Известный способ и устройство для интенсификации работы бензинового двигателя внутреннего сгорания путем впрыска топлива через форсунки непосредственно в камеры сгорания двигателя, в момент наибольшего сжатия воздуха в соответствующей камере, затем искровым зажиганием. Топливная сборка от обычного электронного зажигания (Статья М. Казакова «Новый двигатель Митсубиси в Авторевю № 2, 1996 г.). Интенсификация двигателей внутреннего сгорания осуществляется за счет улучшения распыления и смешивания топлива с воздухом. увеличить степень сжатия смеси до 12: 1 в связи с охлаждающим воздухом при впрыске топлива за счет исключения эффекта детонации.Собственно разработан и протестирован бензин Quotidien. Экспериментально подтверждено увеличение мощности этого двигателя на 10%, снижение выбросов выхлопных газов на 30-90% отдельными деталями, возможность выработки топливных сборок, что дополнительно улучшит экологию двигателя при движении автомобилей в город.
Недостатками предлагаемого способа и устройства являются сложность конструкции двигателя внутреннего сгорания (трудность конструктивного размещения форсунок высокого давления в камерах двигателей внутреннего сгорания, что требует изменения конструкции двигателя) и несовершенство конструкции двигателя. Метод зажигания ТВС обычным искровым способом не обеспечивает полного сгорания смеси в ячейках, особенно при высоких оборотах двигателя.
Известная система подачи топлива с электронным устройством управления для двигателей внутреннего сгорания, содержащая двигатель внутреннего сгорания с камерами сгорания, поршнями, впускными и выпускными клапанами, включающая приготовление топливовоздушной смеси и впрыск топлива в камеру сгорания с помощью регуляторов, топливо и окислитель, система искрового зажигания топливовоздушной смеси, состоящая из высоковольтного инвертора, распределения соответствующих полей высоковольтных импульсов с соответствующим регулятором временного угла электрохирургии и электромеханика по количеству воспламенения.
камеры
датчики топлива и окислителя, температуры, оборотов двигателя, выбросов выхлопных газов, а также логически функциональные режимы оптимизатора, добавленные средствами контроля доступа топлива и окислителя, температуры, оборотов двигателя, выбросов выхлопных газов, а также логически функциональные режимы оптимизатора, добавленные Доступ к элементам управления топливом и окислителем, для управления моментом зажигания смеси, и вход к выходам этих датчиков для U.Патент S. N 4596220, F02D 43/00, 1986. Из этого источника информации также известен способ интенсификации двигателя внутреннего сгорания путем приготовления топливовоздушной смеси, впрыска топлива, зажигания и сгорания.
Известны способ и устройство для интенсификации и управления процессом сгорания в двигателях внутреннего сгорания по патенту РФ № 2153814, прототип, путем воздействия сильного электрического поля в топливовоздушной смеси в камерах сгорания цилиндров. двигателя.
Недостатком устройства и способа является недостаточная эффективность воздействия электрического поля на горение, полноту сгорания и выброс токсичных веществ в продукты сгорания. Кроме того, создание мощных полей потребует мощных источников энергии мощностью более 5 кВт и небезопасно в эксплуатации.
Значительный интерес для потребителя представило еще использование камер дожигания, прядь с электрическими свечами. Это позволяет использовать их в ранее выпущенных в эксплуатацию двигателях внутреннего сгорания без изменения конструкции поршня.Стоимость камер предварительного сгорания очень небольшая.
Известная камера ДВС по патенту СССР № 6
, МПК F02 В 19/18 заявителем является иностранная компания Toyota (Япония). Камера выполнена в виде локальных расширений, обозначенных каналом с основной камерой сгорания, в этом канале установлена свеча зажигания. Недостатком является сложность конструкции двигателя и невозможность серийной переоборудования двигателя для улучшения его характеристик.Известная камера А.С. СССР № 259553, состоящий из трех частей, образующих полость предварительного воспламенения топливно-воздушной смеси. Недостатком этой конструкции форкамеры является сложность, необходимость герметизации частей камеры предварительного смешивания между собой и большие размеры устройства.
Знаменитая камера ДВС А.С. СССР № 1370269, содержащий установленную на свече зажигания цилиндрическую часть, образующую между концом свечи и торцевыми частями полости форкамеры.В конце детали расположены осевой развальцовочный канал. Недостатком этой форкамеры является ее невысокий КПД, обусловленный наличием только одного осевого канала и отсутствием закручивающего потока топливовоздушной смеси.
Данный недостаток устранен в отстойной камере двигателя внутреннего сгорания по патенту РФ на полезную модель № 23918, 2002 г. (прототип). Камера содержит полость, переходной канал которой сообщен с полостью соединительного участка, поверхность которого выполнен в виде тела вращения, и спарен с поверхностями стенок полости и переходного канала. и боковой отбортовку каналов, выполненных в стенке переходного канала под углом к его продольной оси и по касательной к поверхности его стенки, когда соединительный участок выполнен радиусным.
Недостатки форкамеры:
1. Низкая эффективность воспламенения основного заряда топлива, что объясняется тем, что факельная струя выходит из тангенциальных отверстий и разносится в стороны, а также разносом струй. в осевом направлении ограничена из-за отсутствия осевого развальцовочного канала. Следствием этого является низкий КПД двигателя, оснащенного таким устройством, перегрев, детонация и плохой запуск зимой и в сырую погоду.
2. Сложность конструкции и технологичность, обусловленная наличием переходного канала и соединительного участка сложной конфигурации.
Задачи изобретения: повышение полноты сгорания, снижение выбросов вредных веществ, использование низкооктанового бензина и повышение эффективности зажигания. особенно при низких температурах и в сырую погоду без дополнительных затрат энергии и конструктивной сложности двигателя.
Эти задачи достигаются за счет того, что отстойная камера ДВС, содержащая полость, боковые факельные каналы, расположенные под углом к продольной оси и тангенциально к поверхности ее стенки, и осевой канал факела, характеризующийся в том, что внутри бокового раструба каналов установлены кольцевые постоянные магниты.Боковые отбортовки каналов расположены под углом от 5 до 30 ° к оси. Боковое развальцовка каналов выполняется по часовой стрелке. Количество боковых отбортовок каналов находится в пределах от 4 до 7. Диаметр осевого отбортованного канала делается равным или больше диаметра боковых отбортовок каналов.
Проведенные патентные исследования показали, что предлагаемое решение имеет новизну, изобретательский уровень и промышленную применимость, т.е. соответствует критериям изобретения.
Для реализации предлагаемого изобретения требуются серийные комплектующие и расходные материалы. Возможность достижения заявленного результата подтверждена экспериментами.
Изобретение поясняется чертежами, фиг.1 … 3, где:
,, фиг.1 показывает двигатель внутреннего сгорания с форкамерой,
,, фиг.2 показывает схему форкамеры
,на фигуре сечения А-А.
На простейшем примере одноцилиндрового двигателя внутреннего сгорания показана схема установки форкамеры.
Ice (ДВС) содержит как минимум один цилиндр 1 с поршнем 2, который установлен на штоке 3 и имеет поршневое кольцо 4. В верхней части цилиндра установлены впускной клапан 5 и свеча зажигания 6. Свеча зажигания 6 ввинчивается в форкамерный двигатель внутреннего сгорания 7. Форкамерный двигатель внутреннего сгорания 7 установлен на резьбе в головке блока цилиндров двигателя внутреннего сгорания 8. Лед также содержит систему подачи топливно-воздушной смеси 9. Внутри него находится система подачи топливно-воздушной смеси. В цилиндре 1 образуются завихрения ТВ вокруг впускного клапана и под форкамерой соответственно 10 и 11.
Камера ДВС 7 (фиг.2) содержит стенку 12, полость «В», боковые развальцовочные каналы 13 и осевой факельный канал 14. В отстойную камеру ДВС 7 ввернута свеча зажигания 6. Камера Двигатель внутреннего сгорания 7 имеет внешнюю резьбу 15 для сворачивания в корпусе головки блока цилиндров 8 и внутреннее резьбовое отверстие 16 для сворачивания свечей зажигания 6. Внутри всех боковых раструбных каналов 13 установлены кольцевые постоянные магниты 17.
Угол наклона бокового отростка каналов 13 к оси составляет от 5 до 30 °. Количество боковых отбортовок каналов от 4 до 7. Диаметр осевого отбортовки каналов 14 D 0 равен или больше диаметра боковых отбортовок каналов d 1 .
При выдвижении форкамеры ДВС 7 ввинчивают в корпус головки блока цилиндров 8, затем ввинтить свечу зажигания 6.
Для проверки оптимальности выбранной конструкции и размеров и углов бокового развальцовки каналов к оси авторов заявителями были изготовлены и испытаны несколько вариантов предпосылок на двигателе. ВАЗ 2106.
Обоснование выбора угла наклона к оси бокового отростка каналов, приведенных в таблице 1.
| Таблица 1 | ||||
| Обоснование выбора угла наклона бокового отростка каналов к ось | ||||
| РСТ | Диапазон углов наклона бокового отростка каналов к оси | Снижение расхода топлива% | Перегрев двигателя | Запуск двигателя |
| 1 | 0 ° | 6 | Да | Плохо |
| 2 | 5.0,30 ° (оптимально) | 17 | Нет | Хор |
| 3 | 30 … 45 ° | 12 | Да | UD |
| 4 | 45 … 85 ° | 0 | Есть | UD. |
| 5 | 90 ° | 0 | — | Не начато |
Из таблицы 1 видно, что оптимальный угол наклона боковой отбортовки каналов примерно до 5…30 ° . Это обеспечивает оптимальное сочетание всех характеристик.
Диаметр осевого развальцовочного канала должен быть равен или больше диаметра боковых развальцовочных отверстий. Это необходимо для того, чтобы площадь поперечного сечения аксиального развальцовочного канала 4 была сопоставима с площадью отверстий бокового развальцовки каналов 3. В противном случае наличие аксиального развальцовочного канала перестает влиять на работу предпускового раструба. камера.
Обоснование выбора соотношения диаметров осевого и бокового отбортовки каналов дано в таблице 2.
| Таблица 2 | ||||
| Обоснование выбора диаметра факельных каналов | ||||
| № п.п. | Соотношение диаметров факельных каналов | Снижение расхода топлива,% | Перегрев двигателя | Запустите двигатель |
| 1 | D 0 = 0 | 6 | Да | Плохо |
| 2 | D 0 | 8 | Да | Плохо |
| 3 | D 0 ≥d 1 | 12 | Нет | Хорошо |
Из таблицы 2 видно, что оптимальное соотношение диаметров каналов под развальцовку d-sub> 0≥d 1 обеспечивает оптимальное сочетание основных характеристик двигателя.
Предлагаемая камера ДВС работает следующим образом.
Предварительно от ГБЦ вывернуть внутрь все 5 свечей. Свечи 5 ввинчиваются во внутреннее отверстие 7 для везибулы устройства. Устройство ввинчивается через наружную резьбу 6 в головку блока цилиндров (на фиг.1 … 3 головка блока цилиндров не показана).
При работе после впрыска топлива в цилиндр двигателя оно попадает в отстойник и воспламеняется от свечи зажигания 6. Прежде всего, всасываемая горючая топливно-воздушная смесь в форкамеру 7 дает достаточно мощный тепловой импульс. для воспламенения оставшейся части топливного заряда в цилиндре 1 двигателя внутреннего сгорания.Тангенциальное расположение бокового отростка каналов 13 создает вихревое движение продуктов сгорания в форкамерном ДВС 7 топливно-воздушным зарядом, обозначенным поз.11 на фиг.1. Наклон этих каналов под относительно небольшим углом. к оси перемещается к передней части горелки по оси цилиндра. Использование кольцевых постоянных магнитов 17 вращает электрически заряженные частицы продуктов сгорания, тем самым дополнительно увеличивая турбулентность вихря 11.Столкнувшиеся вихри 10 и 11 вызывают воспламенение топлива для яда, проходящий через впускной клапан 6. Сочетание двух типов отверстий: осевого и тангенциального создает условия эффективного осевого перемещения фронта горения в момент воспламенения, образует турбулентную зону (микропровода), что увеличивает полноту сгорания. Использование постоянных магнитов в осевом отверстии 14 и свече зажигания 6 не дало результата. Кроме того, установка постоянного магнита на свечу зажигания привела к потере ее магнитных свойств и к эрозии магнита.
Применение изобретения позволило:
— использовать низкооктановый бензин,
для упрощения конструкции двигателей внутреннего сгорания,
для повышения полноты сгорания топлива,
для снижения ОТ отходящих выхлопных газов,
— для предотвращения перегрева двигателя в летнее время,
для обеспечения надежного пуска двигателя в холодную и сырую погоду,
— для улучшения динамических характеристик автомобиля,
— для снижения на 12…17% удельный расход топлива для двигателей внутреннего сгорания, оборудованных предпусковыми камерами сгорания,
для применения устройства в серийно выпускаемых двигателях внутреннего сгорания без изменения их конструкции.
В результате у потребителя появилась возможность сэкономить время при запуске двигателя внутреннего сгорания и затраты на эксплуатацию транспортных средств и стационарных двигателей внутреннего сгорания. Остальные эксплуатационные характеристики двигателя не хуже.
1. Форкамерный двигатель внутреннего сгорания, содержащая полость, боковые факельные каналы, расположенные под углом к продольной оси и тангенциально к поверхности ее стенки, и осевой канал горелки, в котором внутри бокового факельного канала установлены кольцевые постоянные магниты.
2. Камера двигателя внутреннего сгорания по п.1, отличающаяся тем, что боковые отбортовки каналов расположены под углом от 5 до 30 ° к оси.
3. Камера двигателя внутреннего сгорания по п.1 или 2, отличающаяся тем, что боковые факельные каналы выполнены по часовой стрелке.
4. Камера двигателя внутреннего сгорания по п.1 или 2, отличающаяся тем, что количество боковых отбортовок каналов находится в пределах от 4 до 7.
5. Камера двигателя внутреннего сгорания по п.1 или 2, отличающаяся тем, что диаметр аксиального факельного канала выполнен равным или больше диаметра бокового расширения каналов.
Устройство подачи и зажигания для газового двигателя и способ работы устройства подачи и зажигания для газового двигателя
Изобретение относится к устройству питания и зажигания для газового двигателя и к способу управления устройством питания и зажигания для газового двигателя.
Такое устройство подачи и зажигания для газового двигателя, в частности для автомобиля, уже известно, например, из EP 3043049 A1. Устройство подачи и зажигания имеет по меньшей мере один инжектор, с помощью которого газ для сгорания, то есть газообразное топливо, можно вдувать непосредственно в камеру сгорания газового двигателя, который, например, выполнен в виде цилиндра для работы. газовый двигатель. Кроме того, устройство подачи и зажигания имеет камеру предварительного сгорания, в которую может быть введено топливо.Камера предварительного сгорания также называется предварительной камерой и, когда газовый двигатель полностью изготовлен, например, имеет значительно меньший объем, чем камера сгорания, которая также называется основной камерой или основной камерой сгорания. . Топливо, которое может быть введено в форкамеру, в частности непосредственно, представляет собой, например, газообразное топливо или топливный газ, с помощью которого может работать газовый двигатель.
Кроме того, устройство подачи и зажигания имеет множество отверстий для перелива, распределенных в периферийном направлении форсунки по периферии устройства подачи и зажигания, через которые камера предварительного сгорания может быть непосредственно связана по текучей среде с камерой сгорания.Другими словами, когда газовый двигатель полностью изготовлен, камера предварительного сгорания гидравлически соединена с камерой сгорания через отверстия для перелива. Отверстия для перелива также известны как факельные каналы, через которые, например, факелы могут проходить из камеры предварительного сгорания в основную камеру сгорания (камеру сгорания) для воспламенения топливного газа, который вдувается или подавался непосредственно в камеру сгорания с помощью форсунки, с помощью запальных факелов.Предусмотрен, например, по меньшей мере один канал подачи, который отличается от переливных отверстий и через который вышеупомянутое топливо может быть введено, в частности продувано, в камеру предварительного сгорания, в частности, непосредственно. Вышеупомянутое топливо, которое может быть или вводится в камеру предварительного сгорания, следовательно, не происходит из камеры сгорания.
Кроме того, предусмотрено устройство искрового зажигания, с помощью которого можно воспламенить топливно-воздушную смесь, содержащую, по меньшей мере, топливо, введенное, в частности, через подающий канал, в камеру предварительного сгорания, в частности непосредственно, и впоследствии сгорел.Вышеупомянутые воспламеняющие факелы возникают в результате воспламенения топливно-воздушной смеси, воспламеняющие факелы, например, выходят из камеры предварительного сгорания через переливные отверстия в камеру сгорания (основную камеру сгорания) в результате увеличения по давлению в камере предварительного сгорания в результате воспламенения топливно-воздушной смеси.
Целью настоящего изобретения является разработка устройства питания и зажигания вышеупомянутого типа таким образом, чтобы можно было реализовать особенно выгодную работу газового двигателя.
Чтобы разработать устройство подачи и зажигания указанного здесь типа таким образом, чтобы можно было реализовать особенно выгодную работу газового двигателя, в соответствии с изобретением предусмотрено, что камера предварительного сгорания, перелива отверстия и устройство искрового зажигания образованы первым конструктивным элементом, при этом инжектор образован вторым конструктивным элементом, сформированным отдельно от первого конструктивного элемента. Другими словами, камера сгорания, переливные отверстия и устройство искрового зажигания являются составными частями первого конструктивного элемента, при этом инжектор является компонентом второго конструктивного элемента.В частности, возможно, что первый структурный блок также содержит по меньшей мере один дозирующий клапан или несколько дозирующих клапанов, с помощью которых, например, топливо может быть введено в камеру предварительного сгорания или количество топлива, которое должно быть вводимый в камеру предварительного сгорания можно регулировать.
Структурные единицы — это компоненты, модули или сборки, которые спроектированы, изготовлены или собраны отдельно друг от друга и которые, например, могут быть изготовлены или собраны независимо или отдельно друг от друга, в частности, предварительно собраны и скомпонованы в в предварительно собранном состоянии, в частности, соединены друг с другом.Таким образом, первый структурный элемент образует камеру предварительного сгорания, переливные отверстия и устройство искрового зажигания независимо от второго структурного элемента, в то время как второй структурный элемент образует инжектор независимо от первого устройства. В качестве примера, первый структурный элемент выполнен в виде свечи зажигания с форкамерой, которая содержит или образует камеру предварительного сгорания в качестве форкамеры, устройство искрового зажигания и отверстия для перелива, также называемые факельными каналами, например, независимо от второй структурной единицы.С помощью устройства искрового зажигания в форкамере может быть образована по меньшей мере одна искра зажигания, с помощью которой топливно-воздушная смесь может быть воспламенена и впоследствии сожжена. Кроме того, свеча зажигания с предварительной камерой может иметь вышеупомянутый дозирующий клапан или дозирующее устройство, с помощью которого топливо может быть введено в камеру предварительного сгорания, или количество топлива, которое должно быть введено в камеру предварительного сгорания, может быть изменено. отрегулирован.
Предпочтительно, чтобы был предусмотрен по крайней мере один дополнительно предусмотренный канал подачи, который отличается от переливных отверстий и от камеры сгорания, выполненной, например, в виде цилиндра, и через который топливо может быть введено в камеру предварительного сгорания, в конкретный прямо.Вышеупомянутое топливо, которое может быть или введено или было введено в камеру предварительного сгорания через канал подачи, таким образом, не исходит из камеры сгорания или не течет из камеры сгорания через отверстия перелива в камеру предварительного сгорания. , но вводится в камеру предварительного сгорания, в частности, непосредственно через, по меньшей мере, один канал подачи. В частности, топливом может быть топливный газ, например, выполненный в виде газообразного топлива, с помощью которого может работать газовый двигатель или может осуществляться работа газового двигателя в режиме зажигания.
За счет использования устройства подачи и зажигания можно сжигать топливный газ, в частности вдуваемый топливный газ или смесь топливного газа с воздухом, содержащую, по крайней мере, топливный газ, вводимый в камеру сгорания через форсунку. , который вводится непосредственно в камеру сгорания, например, в форме цилиндра, посредством диффузионного сгорания, с помощью которого дизельное топливо для работы дизельного двигателя или топливно-воздушная смесь, содержащая дизельное топливо, также сжигается в дизельный двигатель.Таким образом, с помощью устройства подачи и зажигания в соответствии с изобретением может быть реализован процесс сгорания, подобный дизельному, посредством чего, в частности, могут быть реализованы высокая удельная мощность и высокая степень эффективности. В частности, с помощью устройства подачи и зажигания в соответствии с изобретением можно воспламенить топливный газ, который непосредственно вводится или вдувается в камеру сгорания с помощью инжектора в условиях, при которых топливный газ или топливо газовоздушная смесь не может воспламениться.Для воспламенения топливно-воздушной смеси топливно-воздушная смесь воспламеняется в камере предварительного сгорания, что приводит к воспламенению факелов. Из-за увеличения давления в камере предварительного сгорания в результате воспламенения топливно-воздушной смеси, факелы зажигания текут из камеры предварительного сгорания через отверстия перелива в камеру сгорания, так что топливный газ или топливо Газовоздушная смесь воспламеняется от воспламеняющих факелов в камере сгорания и, по меньшей мере, существенно сгорает, как в случае диффузионного горения, происходящего в дизельном двигателе.Таким образом, устройство подачи и зажигания в соответствии с изобретением обеспечивает возможность воспламенения топлива, которое не является самовоспламеняющимся в рабочих условиях, относящихся к двигателю, которые вводятся напрямую, в частности с помощью инжектора, и, в частности, впрыскиваются, например, например, газообразное топливо или жидкое топливо, в частности природный газ, для реализации диффузионного сгорания дизельного топлива в камере сгорания. Это позволяет реализовать высокую удельную мощность и высокий тепловой КПД газового двигателя.Устройство подачи и зажигания в соответствии с изобретением использует камеру предварительного сгорания в качестве предварительной камеры для воспламенения несамовоспламеняющегося топливного газа, вдуваемого непосредственно в камеру сгорания, который вводится или вдувается непосредственно в камеру сгорания. в частности, с помощью инжектора, выполненного как инжектор высокого давления, например, с образованием струй топливного газа высокого давления. В принципе, устройство подачи и зажигания в соответствии с изобретением можно также использовать для двигателей внутреннего сгорания, которые могут работать на жидком топливе, так что вместо топливного газа, например, можно использовать жидкое топливо, которое можно вводить. непосредственно в камеру сгорания с помощью инжектора.
Вышеупомянутое топливо подается в камеру предварительного сгорания, например, через дозирующий клапан. Топливо, вводимое в камеру предварительного сгорания, в частности напрямую, может смешиваться в камере предварительного сгорания, например, с воздухом или воздухом + инертным газом, который входит или течет в камеру предварительного сгорания из камеры сгорания через переливные отверстия для образования однородной горючей смеси. Эта гомогенная воспламеняющаяся смесь представляет собой, например, вышеупомянутую топливно-воздушную смесь и воспламеняется в камере предварительного сгорания с помощью устройства искрового зажигания, действующего как источник искрового зажигания, так что топливно-воздушная смесь не воспламеняется самостоятельно. -зажигание.Воспламенение топливно-воздушной смеси в камере предварительного сгорания с помощью устройства искрового зажигания приводит к образованию по меньшей мере одного пламени, которое переходит из камеры предварительного сгорания в камеру сгорания (основную камеру сгорания) в виде факела. форсунок или в виде вышеупомянутых воспламеняющих факелов через отверстия для перелива, действующие как каналы для перелива. Факельные форсунки воспламеняют топливный газ, впрыскиваемый в камеру сгорания под высоким давлением с помощью форсунки, и, таким образом, некоторое количество топливного газа камеры сгорания, вдуваемое непосредственно в камеру сгорания под высоким давлением посредством форсунки, в результате чего получается дизельное топливо. диффузионное горение в камере сгорания.
Для дальнейшей разработки способа работы устройства подачи и зажигания указанного здесь типа таким образом, чтобы можно было реализовать особенно выгодную работу газового двигателя согласно изобретению, он предоставляется в соответствии с изобретением. что топливно-воздушная смесь, находящаяся в камере предварительного сгорания, воспламеняется с помощью устройства искрового зажигания, и воспламененная топливно-воздушная смесь проникает в камеру сгорания в виде факельных струй через отверстия перелива, а количество топливного газа в камере сгорания выдувается. в камеру сгорания в виде струй топливного газа высокого давления посредством форсунки, а струи топливного газа высокого давления воспламеняются факельными струями.Струи топливного газа высокого давления воспламеняются на факельных струях, выходящих из форкамеры в основную камеру сгорания. В принципе, описанный процесс можно охарактеризовать как двухступенчатое зажигание, поскольку сначала в форкамеру воспламеняется топливно-воздушная смесь, а затем факельные струи, выходящие из форкамеры, воспламеняют струи топливного газа высокого давления. .
В дополнительном варианте осуществления способа согласно изобретению количество топливного газа камеры сгорания делится на количество пилотного топливного газа и количество основного топливного газа.Пилотный топливный газ вдувается в камеру сгорания с помощью форсунки, а пилотный топливный газ воспламеняется факельными жиклерами. Вдуваемое впоследствии количество основного топливного газа воспламеняется от воспламененного количества пилотного топливного газа. При таком разделенном вводе, как при двухступенчатом зажигании, сначала воспламеняется топливно-воздушная смесь в форкамеру. Последующие факельные струи, выходящие из форкамеры, воспламеняют количество пилотного топливного газа, а зажженное количество пилотного топливного газа, наконец, воспламеняет основное количество топливного газа.Количество воспламененного пилотного топливного газа приводит к увеличенным зонам пламени для безопасного воспламенения оставшегося количества основного топливного газа, так что может быть реализовано, по меньшей мере, трехступенчатое зажигание.
Это позволяет эксплуатировать двигатель внутреннего сгорания на газообразном или жидком топливе, используя процесс, аналогичный дизельному, с высоким КПД и высокой удельной мощностью. Например, когда в качестве топливного газа используется природный газ, выбросы CO 2 могут быть значительно сокращены более чем на 20 процентов по сравнению с дизельными двигателями.По сравнению с дизельным пилотным зажиганием возникают следующие преимущества: не требуется второго топлива; экономия затрат и места для установки за счет отказа от второй топливной системы, которая обычно имеет насос, бак и другие компоненты; более простой инжектор, так как не требуется раздельной дозировки двух видов топлива; при использовании газообразного топлива можно избежать попадания жидкого топлива в форсунку, благодаря чему снижается склонность к закоксовыванию. Таким образом, устройство подачи и зажигания выполняет двойную функцию. С одной стороны, устройство подачи и зажигания используется для вдувания топливного газа непосредственно в камеру сгорания.Кроме того, устройство подачи и зажигания используется, например, для воспламенения и сжигания топливного газа, вдуваемого в камеру сгорания, посредством промытой топливом форкамеры с искровым зажиганием, образуя струи топливного газа высокого давления и тем самым вызывая в камере сгорания дизельное диффузионное сгорание топливно-газовой смеси.
Дополнительные преимущества, особенности и детали изобретения вытекают из следующего описания предпочтительных примерных вариантов осуществления и с помощью чертежей.Признаки и комбинации признаков, упомянутые выше в описании, а также признаки и комбинации признаков, упомянутые в следующем описании чертежей и / или показанные на чертежах сами по себе, могут использоваться не только в комбинации, указанной в каждом случае, но также в другие комбинации или сами по себе, не выходя за рамки изобретения.
РИС. 1 схематично показано сечение газового двигателя, имеющего устройство подачи и зажигания в соответствии с изобретением согласно первому варианту осуществления;
РИС.2 показывает в каждом случае схематические разрезы газового двигателя для иллюстрации принципа действия устройства подачи и зажигания;
РИС. 3 — схема, иллюстрирующая принцип работы;
РИС. 4 показывает в разрезе еще один схематический разрез устройства подачи и зажигания согласно второму варианту осуществления;
РИС. 5 — схематический разрез устройства подачи и зажигания согласно первому варианту осуществления;
РИС.6 — схематический разрез и вид сверху в разрезе устройства подачи и зажигания согласно третьему варианту осуществления;
РИС. 7 показывает схематический разрез и вид сверху в разрезе устройства подачи и зажигания согласно четвертому варианту осуществления;
РИС. 8 — схематический разрез и вид сверху в разрезе устройства подачи и зажигания в соответствии с пятым вариантом осуществления;
РИС. 9 — схематический разрез устройства подачи и зажигания согласно шестому варианту осуществления;
РИС.10 — схематический разрез устройства подачи и зажигания согласно седьмому варианту осуществления; и
ФИГ. 11 показывает схематический вид в перспективе в разрезе устройства подачи и зажигания согласно восьмому варианту осуществления.
На чертежах идентичные или функционально идентичные элементы снабжены одинаковыми ссылочными позициями.
На схематическом виде в разрезе фиг. 1 в разрезе показан двигатель внутреннего сгорания, сконструированный как газовый двигатель 10 автомобиля, который спроектирован как автомобиль, в частности, как грузовой автомобиль, грузовой автомобиль или внедорожник, и может приводиться в движение. с помощью газового двигателя 10 .Газовый двигатель 10 имеет по меньшей мере одну камеру сгорания 12 , которая выполнена, например, как цилиндр и также называется основной камерой, основной камерой сгорания или основным пространством сгорания, и образована, например, посредством корпуса цилиндра газового двигателя 10 , который не виден на фиг. 1. Газовый двигатель 10 в полностью изготовленном состоянии имеет корпус цилиндра и головку цилиндра 14 , которые можно увидеть в разрезе на фиг.1, который изготавливается независимо или отдельно от корпуса цилиндра и соединяется с корпусом цилиндра. В качестве примера головка цилиндра 14 образует крышу 16 камеры сгорания 12 камеры сгорания. Газовый двигатель 10 дополнительно содержит в полностью изготовленном состоянии устройство подачи и зажигания, обозначенное в целом 18 , которое соответствует камере сгорания 12 . Фиг. 1 и 5 показан первый вариант устройства подачи и зажигания 18, .
Устройство подачи и зажигания 18 имеет по меньшей мере один инжектор 20 , с помощью которого топливный газ может впрыскиваться непосредственно в камеру сгорания 12 . Для этого инжектор 20 имеет, например, корпус 22 и иглу инжектора, которая размещена в корпусе 22 и может перемещаться поступательно относительно корпуса 22 и которая не распознается в ИНЖИР. 1. Кроме того, инжектор 20 имеет множество отверстий для впрыска 24 , расположенных последовательно в периферийном направлении инжектора 20 , через которые топливный газ, который сначала вводится в корпус 22 , может вытекает из корпуса 22 и, таким образом, из форсунки 20 , а затем течет прямо в камеру сгорания 12 , в результате чего топливный газ может вдуваться непосредственно в камеру сгорания 12 .Игла инжектора может перемещаться поступательно относительно корпуса 22 между по меньшей мере одним открытым положением и по меньшей мере одним закрытым положением, в частности, вдоль оси 26 , вокруг которой расположены отверстия для впрыска 24 , в частности, равномерно распределены. Форсунка 20 сконструирована как форсунка высокого давления (инжектор ВД), так что топливный газ вдувается непосредственно в камеру сгорания 12 , образуя форсунки топливного газа высокого давления 28 , которые можно увидеть на ФИГ. .2. Это означает, что с помощью отверстий для впрыска 24 форсунки 28 топливного газа высокого давления формируются из топливного газа, протекающего через отверстия для впрыска 24 .
В этом случае игла инжектора закрывает отверстия для впрыска 24 в закрытом положении, так что топливный газ не может проходить через отверстия для впрыска 24 и, таким образом, не может выходить из инжектора 20 . Однако в открытом положении игла инжектора освобождает отверстия для впрыска 24 , так что топливный газ вдувается прямо в камеру сгорания 12 .Устройство подачи и зажигания 18, также имеет камеру предварительного сгорания 30, , которая также называется форкамерой. Как будет объяснено более подробно ниже, топливо может быть введено в камеру предварительного сгорания , 30, . Топливо, которое может быть введено в камеру предварительного сгорания, предпочтительно является топливным газом, который используется для работы газового двигателя 10 . Кроме того, устройство 18 подачи и зажигания имеет множество отверстий для перелива 32 , которые расположены в периферийном направлении инжектора 20 и распределены, в частности, равномерно по его периферии и через которые предварительно Камера сгорания 30 может быть соединена по текучей среде или соединена с камерой сгорания 12 .Кроме того, предусмотрено устройство искрового зажигания 33 , выполненное, например, как свеча зажигания, с помощью которого топливно-воздушная смесь, содержащая по меньшей мере топливо, вводимое в камеру предварительного сгорания 30 , может воспламениться.
В сочетании с РИС. 11 видно, что устройство подачи и зажигания 18, имеет по меньшей мере один дополнительно предусмотренный тройник 34 , отличный от камеры сгорания 12 и от переливных отверстий 32 , через которые топливо (топливо газ) вводится, в частности дуть, непосредственно в камеру предварительного сгорания 30 .На фиг. 11 стрелкой 36 показано топливо, которое непосредственно вводится, в частности дуть, в камеру предварительного сгорания 30, посредством питающего канала 34 . Подающий канал 34 , который также можно увидеть на ФИГ. 1, выполнен, например, в виде капилляра. Кроме того, устройство 18 подачи и зажигания содержит по меньшей мере один элемент клапана 38 , который также называется дозирующим клапаном или дозирующим клапаном топлива. С помощью клапанного элемента , 38, , количество топлива, которое может быть непосредственно продувано или введено в камеру предварительного сгорания 30 через питающий канал 34 , может быть установлено таким образом, чтобы, например, топливо было подается из резервуара для приема и, по меньшей мере, временного хранения топлива через клапанный элемент , 38, , в питающий канал , 34, , и подается непосредственно, в частности, продувается, в камеру предварительного сгорания 30 через питающий канал 34 .Резервуар представляет собой, например, бак, из которого в форсунку 20 также подается топливный газ, который вдувается непосредственно в камеру сгорания 12 посредством форсунки, образуя струи топливного газа высокого давления. 28 .
Для реализации особенно выгодной работы газового двигателя 10 камера предварительного сгорания 30 , переливные отверстия 32 и устройство искрового зажигания 33 образованы первым структурным блоком 40 .В частности, возможно, что первый структурный блок , 40, также содержит, по меньшей мере, один дозирующий блок или дозирующее устройство, с помощью которого, например, топливо может быть введено в камеру предварительного сгорания или количество топлива для быть введенным в камеру предварительного сгорания можно регулировать.
Здесь первый конструктивный элемент 40 выполнен, например, как свеча зажигания с предварительной камерой, которая включает устройство искрового зажигания 33 , камеру предварительного сгорания 30 и отверстия для перелива 32 , которые также называются переливными каналами, переливными отверстиями или факельными каналами.Инжектор 20, , таким образом, образован вторым структурным блоком 42 или спроектирован как второй структурный блок 42 , при этом второй структурный блок 42 спроектирован отдельно от первого структурного блока 40 . Другими словами, структурные блоки 40 и 42 представляют собой отдельно или независимо монтируемые или производимые сборки или модули, которые монтируются независимо или отдельно друг от друга, в частности предварительно смонтированы, и в предварительно смонтированном состоянии расположены на друг друга, в частности, связаны друг с другом.Первый структурный блок , 40, , например, имеет отверстие, выполненное в виде сквозного отверстия, в которое или через которое вставляется или проталкивается по меньшей мере отрезок длины второго блока , 42, . На фиг. 1 особенно легко увидеть, что камера предварительного сгорания , 30, сконструирована как полностью закрытая кольцевая камера, вращающаяся в периферийном направлении форсунки 20, , которая окружает, по меньшей мере, один участок длины 44 форсунки. 20 полностью периферически в периферийном направлении последнего.
Поскольку топливо вводится в камеру предварительного сгорания 30 , и поскольку топливно-воздушная смесь воспламеняется в камере предварительного сгорания 30 , камера предварительного сгорания 30 является промытой и искровой. воспламеняемая камера предварительного сгорания, с помощью которой в результате воспламенения топливно-воздушной смеси может осуществляться диффузионное сгорание топливного газа, впрыскиваемого непосредственно в камеру сгорания 12 , подобно дизельному. Из-за воспламенения топливно-воздушной смеси в камере предварительного сгорания 30 возникают воспламеняющие факелы, которые также называют факельными струями или факелами.Из-за повышения давления в камере предварительного сгорания 30 в результате воспламенения топливно-воздушной смеси в камере предварительного сгорания 30 факельные жиклеры выходят из камеры предварительного сгорания 30 через отверстия перелива 32 и в камеру сгорания 12 , так что топливный газ, впрыскиваемый в камеру сгорания 12 с помощью форсунки 20 , воспламеняется с помощью факельных жиклеров и затем сжигается в дизельное диффузионное горение.Для этой цели предпочтительна такая конструкция камеры предварительного сгорания 30 , заключающаяся в том, что высокий импульс струи, в частности факельных струй, только низкое тепловыделение в стенках и наилучшее возможное преобразование энергии в факельных струях. выход из камеры предварительного сгорания 30 может быть реализован.
Кроме того, например, предусмотрена система рециркуляции выхлопных газов, посредством которой выхлопные газы из выхлопного тракта газового двигателя 10 рециркулируют во впускной тракт газового двигателя 10 .Воздух также подается в камеру сгорания 12 в качестве воздуха для горения, при этом воздух может проходить через впускной тракт и подается в камеру сгорания 12 посредством впускного тракта. Это создает смесь топливного газа и воздуха в камере сгорания 12 , которая включает воздух, подаваемый в камеру сгорания 12 , и топливный газ, впрыскиваемый непосредственно в камеру сгорания 12 . Горючая газо-воздушная смесь воспламеняется факельными жиклерами.В результате получается выхлопной газ из газового двигателя 10 , причем выхлопной газ выпускается из камеры сгорания 12 посредством выхлопного тракта. После этого выхлопной газ может проходить через выхлопной тракт. Для рециркуляции выхлопных газов предусмотрено устройство рециркуляции выхлопных газов, которое содержит по меньшей мере одну линию рециркуляции выхлопных газов. Линия рециркуляции выхлопных газов связана, с одной стороны, по текучей среде с выхлопным трактом, а с другой стороны, по текучей среде с впускным трактом, так что по меньшей мере часть выхлопного газа, протекающего через выхлопной тракт, может отводиться от выхлопного тракта и может быть рециркулирован во впускной тракт или во впускной тракт.Рециркулируемый выхлопной газ уносится воздухом, проходящим через впускной тракт, и направляется в камеру сгорания 12 . В камере сгорания 12 рециркулируемый выхлопной газ может действовать как инертный газ во время диффузионного горения. Система рециркуляции выхлопных газов используется для внешней рециркуляции выхлопных газов. Альтернативно или дополнительно возможна внутренняя рециркуляция выхлопных газов, при которой, например, посредством поршня, размещенного в камере сгорания 12 с возможностью поступательного перемещения, по меньшей мере, часть выхлопного газа всасывается обратно в камеру сгорания. камера сгорания 12 , по меньшей мере, из одного выпускного канала, связанного с камерой сгорания 12 .Такая рециркуляция выхлопных газов может, например, снизить выбросы оксидов азота на очень низком уровне.
Кроме того, благоприятное отношение объема к поверхности камеры предварительного сгорания 30 может быть реализовано путем формирования камеры предварительного сгорания 30 только из одного пространства или элемента объема. Кроме того, предпочтительно предусмотрена особо короткая длина переливных отверстий 32 , которые выполнены, например, как переливные отверстия.
В форкамеру, которая предпочтительно выполнена в виде кольцевого канала или кольцевого пространства, предпочтительно предусмотрен ровно один источник зажигания.Однако предпочтительно предусмотреть несколько источников воспламенения, чтобы обеспечить особенно равномерный выброс факельных струй. Предпочтительно, вышеупомянутые части, такие как камера предварительного сгорания 30 , переливные отверстия 32 и источник зажигания или устройство искрового зажигания 33 , являются индивидуально заменяемыми и, таким образом, выполнены как отдельные и независимые компоненты. Предпочтительно камера предварительного сгорания , 30, содержит только вышеупомянутое кольцевое пространство и переливные отверстия и имеет выгодное отношение поверхности к объему, так что может быть реализован мощный импульс факельной струи.
Также оказалось, что особенно выгодно, когда устройство 18 подачи и зажигания выполнено с возможностью создания закрученного потока в камере предварительного сгорания 30 . Это можно увидеть, например, на фиг. 11. На фиг. 11 стрелки 46 показывают приток воздуха из камеры сгорания 12 в камеру предварительного сгорания 30 через переливные отверстия 32 . Другими словами, например, когда поршень перемещается из своей нижней мертвой точки в свою верхнюю мертвую точку, воздух перемещается поршнем через переливные отверстия 32 в камеру предварительного сгорания 30 .Кроме того, поскольку топливо подается в камеру предварительного сгорания 30 через канал подачи 34 , топливо в камере предварительного сгорания 30 может смешиваться с воздухом, поступающим в камеру предварительного сгорания 30 , так что образуется вышеупомянутая топливно-воздушная смесь. Как видно из стрелок 36 и 46 , воздух, поступающий в камеру предварительного сгорания 30 , и топливо, вводимое в камеру предварительного сгорания 30 , проходит через камеру предварительного сгорания 30 по меньшей мере по существу завихренным образом, так что, например, в камере предварительного сгорания 30 создается по меньшей мере по существу завихренный поток топливовоздушной смеси.Таким образом, в камере предварительного сгорания , 30, может возникать завихрение. Предпочтительно предусмотрены, по меньшей мере, два или более источника воспламенения, например, для воспламенения топливно-воздушной смеси в камере предварительного сгорания 30 . Также возможно, например, интегрировать камеру предварительного сгорания в головку 14 блока цилиндров, чтобы можно было реализовать оптимальное соединение с каналами охлаждения. Таким образом может быть реализован выгодный отвод тепла.
Также оказалось, что особенно выгодно, когда, по меньшей мере, один нагревательный элемент, в частности, электрический нагревательный элемент, предусмотрен для нагрева камеры предварительного сгорания 30 .Нагревательный элемент может быть расположен в камере 30, предварительного сгорания и особенно удобен для мобильной работы, когда он может приводить к холодному запуску, прогреву, холостому ходу и т. Д. Газового двигателя 10 .
Диффузионное сгорание с самовоспламенением представляет собой сгорание в дизельном двигателе, которое по сравнению с искровым зажиганием, предварительно смешанное сгорание, которое используется, например, в бензиновом двигателе и поэтому также называется сгоранием в бензиновом двигателе, дает преимущество. высокого теплового КПД за счет использования высокой степени сжатия и возможности использования очень сильного разбавления воздухом или разбавлением инертного газа в основной камере сгорания.Предыдущие и последующие утверждения о газовом двигателе 10 , который может работать на топливном газе и, следовательно, на газообразном топливе, также могут быть легко применены к двигателям внутреннего сгорания, которые работают на жидком топливе. В частности, с помощью устройства подачи и зажигания 18 может быть реализован способ, который может быть использован для воспламенения топлива, в частности топливных газов или топливных или топливных газовоздушных смесей, склонность которых к самовоспламенению недостаточна для Самопроизвольно воспламеняться при температурах и давлениях, преобладающих во время вдувания под высоким давлением или впрыска под высоким давлением, и инициировать последующее диффузионное горение.Процесс сгорания топливной газо-воздушной смеси в камере сгорания 12 , который может осуществляться посредством устройства подачи и зажигания 18 , представляет собой комбинацию искрового зажигания и последующего сгорания дизельного двигателя. Из уровня техники известны следующие режимы работы и газовые двигатели:
- а) газовые двигатели с бензиновым двигателем, имеющие стехиометрическое соотношение топливо-газ и обедненные газы, т. Е. Работающие с избытком воздуха, газовые двигатели: В таком процессе горючая газо-воздушная смесь либо предварительно смешивается и подается в камеру сгорания, либо создается во время фазы сжатия в камере сгорания путем прямого введения топливного газа.Затем воспламенение инициируется искровым зажиганием. При использовании стехиометрического процесса сгорания можно использовать простую систему очистки выхлопных газов с помощью трехкомпонентного каталитического нейтрализатора. При работе с инертным газом в камере сгорания, особенно при использовании внешней системы рециркуляции охлаждаемых выхлопных газов, можно снизить температуру и повысить эффективность этого процесса сгорания. В настоящее время газовые двигатели с экономичным управлением в основном используются в качестве стационарных двигателей для выработки электроэнергии.Благодаря большому избытку воздуха λ> 1,6 и, следовательно, низким температурам сгорания и тепловым потерям, они достигают очень хорошего теплового КПД. Однако недостатком по сравнению со стехиометрической работой с добавкой инертного газа является сложная доочистка выхлопных газов для снижения выбросов оксидов азота (NOx).
Проблема в случае высоких степеней разбавления заключается, прежде всего, в стабильном воспламенении предварительно смешанной смеси в камере сгорания, которая, например, выполнена в виде цилиндра.Для этого можно использовать различные методы розжига. В дополнение к любой традиционной системе электрического зажигания подходят также системы форкамеры или, в качестве дополнительной опции, зажигание с помощью пилотного впрыска дизельного топлива. Предкамерные свечи зажигания являются предшествующим уровнем техники в случае бензиновых стационарных газовых двигателей. Они могут быть либо пассивными, то есть без ополаскивания, как предусмотрено в ЕР 1476926 А1, например, состав смеси в форкамеру соответствует составу основной камеры сгорания, либо они могут работать с ополаскиванием топливом. , например, как это предусмотрено в DE 10 2005 005 851 A1.В режиме без промывки предварительно смешанная смесь топливного газа, воздуха и инертного газа из основной камеры сгорания поступает в форкамеру. В форкамеру происходит искровое зажигание, а затем выброс факельных струй из переливающих каналов в основную камеру сгорания. Уже предварительно перемешанная топливно-воздушная смесь находится в основной камере сгорания, которая воспламеняется посредством факельных сопел и сгорает с дефлаграционным распространением пламени в соответствии с технологией бензинового двигателя. Если предварительная камера промывается топливом, избыток воздуха в форкамере может быть уменьшен в двигателях на обедненном газе, т.е.например, те, которые работают с избытком воздуха в основной камере сгорания, и, по крайней мере, почти стехиометрическая смесь может быть получена в предварительной камере.Два материальных потока входят в предварительную камеру: топливный газ-воздух-инертный газ из основной камеры сгорания. камера и в качестве дополнительного вещества пропускают топливо через дозирующий клапан. Благодаря оптимальному соотношению топлива и воздуха это приводит к лучшему воспламенению форкамеры и, как следствие, более быстрому воспламенению смеси в основной камере сгорания. Таким образом, двигатель может стабильно управлять высоким соотношением топливо-воздух λ> 2, что приводит к высокой эффективности и значительному снижению выбросов неочищенного оксида азота.
- двухтопливные газовые двигатели, которые также называются двухтопливными: газовые двигатели называются двухтопливными газовыми двигателями (двухтопливными двигателями), которые могут работать как на дизельном топливе, так и на топливном газе. Доля газообразного топлива может варьироваться от 0 до 95 процентов включительно по массе. Газообразное топливо подается в камеру сгорания либо во впускной коллектор, либо путем прямого впрыска под низким давлением, и путем смешивания с воздухом образуется горючая смесь, которая является максимально гомогенной.Воспламенение этой предварительно смешанной топливно-воздушной смеси происходит за счет использования прямого впрыска дизельного топлива HD. Впрыскиваемое таким образом топливо воспламеняется само, а затем воспламеняет предварительно перемешанную смесь в камере сгорания. Максимальная примесь природного газа при полной нагрузке ограничивается детонацией двигателя, поскольку степень сжатия ниже, чем у дизельного двигателя, но из-за температуры и давления, необходимых для самовоспламенения дизельного топлива, она не достигает низкие значения, действительно необходимые для оптимальной работы бензинового двигателя.
- c) дизельные газовые двигатели: в отличие от бензиновых двигателей на обедненном газе или газовых двигателей с λ = 1 и EGR (рециркуляция выхлопных газов), степень сжатия которых находится в диапазоне ε = 11-14, степень сжатия ε = 15-20 может использоваться для дизельного диффузионного горения. В этом случае газообразное топливо под высоким давлением вдувается непосредственно в камеру сгорания через форсунку с несколькими отверстиями. Таким образом, тепловой КПД двигателя внутреннего сгорания может быть увеличен до более чем 40 процентов.
Предшествующим уровнем техники в коммерческих транспортных средствах в настоящее время является дизельный двигатель высокого давления с прямым впрыском. В секторе коммерческого транспорта газовый двигатель по-прежнему представляет собой дополнение к уже существующим платформам с дизельными двигателями. Поэтому цель состоит в том, чтобы использовать для дизельного двигателя как можно больше общих деталей. При сжигании газа в дизельном двигателе для дизельного двигателя можно использовать более общие детали. Кроме того, можно использовать такие конструктивные преимущества, как сопротивление пиковому давлению.Недостатки базового дизельного двигателя для бензинового двигателя, такие как низкая термическая стабильность головки блока цилиндров и коллектора, не проявляются во время процесса впрыска газа, так что может быть достигнута почти идентичная удельная мощность по сравнению с дизельным топливом. -работавший двигатель.
Проблемой в случае дизельного газообразного или диффузионного горения является образование струй топливного газа высокого давления 28 , которые также называют газовыми струями HD-DI, которые не воспламеняются самопроизвольно из-за их цетанового числа. количество ЦЗ <40, что мало по сравнению с дизельным топливом.По этой причине описаны различные методы зажигания газовых струй. Известным методом зажигания форсунок прямого впрыска газа HD является предварительный впрыск самовоспламеняющегося топлива, в основном дизельного топлива, в частности, с массовой долей от общего количества топлива ≤10 процентов, либо двумя отдельными форсунками. как, например, в ЕР 6 432 09 А1 или ЕР 2 370 71 А1, или также с помощью инжектора игла-игла, как, например, в WO 2012/17119 A1. В этих пилотных зонах, которые самовоспламеняются в основной камере сгорания, впоследствии воспламеняется газовое топливо, за которым следует дизельное диффузионное сгорание.Некоммерчески применяемым методом зажигания струй прямого впрыска газа высокого давления является зажигание с помощью свечи накаливания, как описано, например, в WO 2007/128101. В этом процессе форсунки прямого впрыска газа HD воспламеняются на горячей поверхности, в частности на свече накаливания.
Настоящий способ основан на функциональном принципе сгорания дизельного двигателя. Он основан на прямом вдуве под высоким давлением или впрыскивании топливного газа или топливного газа в камеру сгорания 12 с высокой степенью сжатия, например, ε> 12.Топливный газ не воспламеняется сам по себе в условиях работы двигателя. Способ отличается, в частности, тем, что для зажигания струй газа высокого давления используется форкамера с возможностью подачи топлива, как уже описано в DE 10 2005 005 851 A1, например. . Он содержит объем форкамеры, который соединен с основной камерой сгорания несколькими перепускными каналами, а также устройство искрового зажигания 33 . Таким образом, объем Vvk форкамеры меньше, чем объем сжатия основной камеры сгорания, при этом, например, применяется следующее:
Vvk < 10 процентов * V Haupt, komp
VHaupt, komp обозначает компрессионный объем камеры сгорания 12 .
Способ можно увидеть, в частности, на фиг. 2, так что функциональная работа газового двигателя 10 описывается с использованием фиг. 2. Кроме того, фиг. 3 показана диаграмма с углом поворота коленвала 48 градусов по оси абсцисс. Кроме того, давление, преобладающее в камере сгорания 12 , нанесено на ординату 50 , так что кривая 52 , представленная на диаграмме, показанной на фиг. 3 показывает кривую давления, преобладающего в камере сгорания , 12, , от угла поворота коленчатого вала в градусах.Различные фазы 54 , 56 , 57 , 58 , 60 и 62 способа показаны на фиг. 3. Таким образом, фиг. 3 показан пример хронологической последовательности фаз 54 , 56 , 57 , 58 , 60 , 62 в градусах угла поворота коленчатого вала (° KW), где кривая 52 является представительной. кривая давления в баллоне. В качестве источника искрового зажигания устройство 33 искрового зажигания особенно схематично изображено на фиг.3. В фазе 54 , например, топливо подается в камеру предварительного сгорания 30 в количестве топлива предварительной камеры при низком давлении> 5 бар. На этапе 56 воздух из основной камеры сгорания вводится в камеру предварительного сгорания 30 . В фазе 57 топливно-воздушная смесь воспламеняется в камере предварительного сгорания 30 . На этапе , 58, , струи пламени выходят из камеры предварительного сгорания 30 через переливные отверстия 32 и входят в основную камеру сгорания.На этапе 60 топливный газ впрыскивается непосредственно в камеру сгорания 12 под высоким давлением в количестве топливного газа камеры сгорания с использованием инжектора 20 . Наконец, на этапе 62 происходит диффузионное сгорание топливно-воздушной смеси в камере сгорания 12 .
Используемая форкамера отличается, в частности, тем, что топливо можно вводить в форкамеру через, по крайней мере, один или несколько капилляров и / или непосредственно посредством, по крайней мере, одного клапана впрыска газа или посредством нескольких клапаны впрыска газа, также называемые дозирующими клапанами, в определенном количестве топлива в предварительной камере.Соответствующий клапан впрыска газа для подачи, в частности подачи топлива в камеру предварительного сгорания 30 , выполнен, например, как клапан впрыска газа низкого давления или клапан впрыска газа высокого давления. -количество топлива камеры сгорания, вводимого в камеру предварительного сгорания 30 , значительно меньше количества топливного газа камеры сгорания, вводимого в основную камеру посредством прямого впрыска под высоким давлением.
Все виды топлива, которые не воспламеняются в процессе дизельного двигателя при давлениях и температурах, соответствующих двигателю, подходят в качестве топливных газов для данного метода.В техническом применении это в основном газообразное топливо, такое как NG (природный газ) или LPG (сжиженный нефтяной газ). Кроме того, пропан, этан, бутан, метан, водород можно рассматривать как отдельные вещества или как газовую смесь. Одни и те же топливные газы предпочтительно используются для прямого впрыска высокого давления в камеру сгорания 12 и впрыска в форкамеру, в принципе возможно также использование двух разных видов топлива.
В основной камере сгорания перед непосредственным впрыском под высоким давлением находится смесь воздух-инертный газ или исключительно воздух.Перед непосредственным впрыском под высоким давлением в основной камере сгорания отсутствует предварительно смешанная или частично смешанная смесь топливного газа и воздуха. Топливо, вводимое в форкамеру, смешивается в форкамере со смесью воздух / воздух-инертный газ, поступающей в форкамеру через каналы перелива, когда давление в основной камере сгорания увеличивается за счет такта сжатия поршня. В точке воспламенения в форкамере нацелена гомогенно смешанная и воспламеняющаяся топливно-воздушная смесь, близкая к стехиометрическому соотношению воздуха, при этом предпочтительно обеспечивается соотношение топливо-воздух λ = 1.Соотношение смешивания определяется количеством топлива форкамеры, введенного в форкамеру и окончанием вдувания, которое ограничивается максимальным давлением вдува или впрыска в направлении верхней мертвой точки. Для оценки окончания вдувания предполагается, что предварительная камера полностью заполнена топливом в конце вдува и что воздух из основной камеры сгорания затем поступает в предварительную камеру без потерь на промывку. При объемной потребности в воздухе метана Lst, объем = 10, конец продувки должен быть расположен так, чтобы предварительная камера была полностью заполнена газом под давлением в одну десятую от давления в точке воспламенения.В качестве примера расчета при высокой нагрузке в точке воспламенения (ZZP) достигаются давления от 50 до 70 бар, так что при давлении от 5 до 7 бар топливо все еще может подаваться в форкамеру. Таким образом, технически приемлемые диапазоны давления для впрыска в предкамеру составляют от 5 до 200 бар включительно, в принципе также возможно более высокое давление. Преимущество более высокого давления вдувания или впрыска состоит в том, что конец вдувания может гибко располагаться близко к точке воспламенения при увеличении давления сжатия в основной камере сгорания и / или возможен поздний втягивание.Кроме того, более высокий импульс втекающего топлива способствует лучшему перемешиванию в форкамере.
Воспламенение в форкамеру происходит с помощью устройства искрового зажигания, такого как обычная катушечная система зажигания с крюковой свечой зажигания, или также с помощью новых типов альтернативных систем зажигания, таких как коронное или лазерное зажигание. Можно использовать одно или несколько устройств искрового зажигания. Из-за использования высокой степени сжатия в отличие от бензинового двигателя и зажигания вблизи верхней мертвой точки в форкамере давление и температура в точке воспламенения в форкамере очень высоки.Это приводит к высокой плотности в форкамеру в точке воспламенения и преимущественно к высокой, в частности, ламинарной скорости горения. В отличие от известных дизельных форкамеров, используемых в отработанных камерах сгорания, как, например, в DE 301 613 9 A1, в форкамере отсутствует самовоспламенение. Поскольку воспламеняющаяся смесь присутствует только тогда, когда воздух входит в форкамеру через каналы перелива после окончания впрыска топлива в форкамеру незадолго до точки воспламенения, возникает нежелательное самовоспламенение, например, из-за локально высоких температур компонентов, предотвращается в форкамере.
После искрового зажигания в форкамере происходит распространение пламени дефлаграционного или предварительно смешанного пламени, что приводит к сильному повышению температуры в форкамере. В результате увеличения объема и давления пламя в виде вышеупомянутых факельных струй проходит через каналы перелива в основную камеру сгорания. Незадолго до и / или параллельно и / или после того, как факельные струи начинают выходить из переливных отверстий 32 , которые выполнены в виде переливных отверстий, например, для прямого вдувания под высоким давлением или впрыска топлива камеры сгорания. количество газа в основную камеру сгорания.Отверстия для перелива расположены таким образом, что существует геометрическое перекрытие факельных сопел с соплами прямого впрыска высокого давления. Возможные диапазоны давления для прямого впрыска газа под высоким давлением составляют, например, диапазоны давления от 100 до 600 бар включительно.
Вдувные или впрыскивающие форсунки высокого давления воспламеняются факельными форсунками, выходящими из форкамеры в основную камеру сгорания. В принципе об описанном способе можно говорить как о двухступенчатом зажигании. В отличие от классического дизельного двигателя, благодаря свойствам топлива самовоспламенение количества топливного газа в камере сгорания отсутствует.Количество топливного газа высокого давления для непосредственного впрыска или камеры сгорания также может быть разделено на пилотное или основное количество топливного газа. Вдува или впрыск основного количества топливного газа также может происходить в нескольких пропорциях. Количество пилотного топливного газа mpilot, Di значительно меньше, чем количество основного топливного газа, main, DI. Пилотный топливный газ, введенный первым, воспламеняется факельными соплами форкамеры. Основное количество вдуваемого топливного газа впоследствии воспламеняется в зонах сгорания в результате факельных форсунок форкамеры и количества пилотного топливного газа.В принципе, здесь происходит трехступенчатое зажигание.
Сжигание основного объема газа сгорания впоследствии осуществляется аналогично классическому дизельному двигателю в виде диффузионного сгорания объема топливного газа камеры сгорания, вводимого прямым впрыском под высоким давлением. Это дизельное диффузионное сгорание представляет собой основное тепловыделение двигателя внутреннего сгорания и обеспечивает высокий тепловой КПД. В отличие от известной работы бензиновых газовых двигателей с форкамерой и дефлаграционным основным сгоранием, основное тепловыделение в описанном способе достигается за счет диффузионного сгорания дизельного топлива.Кроме того, поток вещества, поступающий в форкамеру, отличается от основной камеры сгорания. Поскольку в описанном способе количество топливного газа камеры сгорания с прямым впрыском HD вводится в камеру сгорания только около верхней мертвой точки, предварительно смешанная топливно-воздушная смесь в основной камере сгорания отсутствует. Из основной камеры сгорания в форкамеру поступает только воздух или воздух и инертный газ.
Здесь соответствующими компонентами являются: форкамера, устройство искрового зажигания 33 , дозирующий клапан, по крайней мере один канал подачи 34 , отверстия перелива 32 и инжектор 20 , который является спроектированный, например, как инжектор высокого давления с прямым впрыском.Вся конструкция установлена, например, в головке цилиндров 14 обычного двигателя внутреннего сгорания с возвратно-поступательным поршнем. Предварительная камера может быть спроектирована либо как обычная форкамерная свеча зажигания рядом с форсункой высокого давления, либо как кольцевое пространство вокруг форсунки высокого давления. В идеале подающий канал , 34, и / или переливные отверстия , 32, расположены таким образом, что в предкамеру возникает, по меньшей мере, по существу круговой вихревой поток, как показано на фиг.11 стрелками 36 и 46 .
Один или несколько источников зажигания могут быть установлены в форкамере или закреплены за форкамерой. Например, в качестве источника зажигания может использоваться имеющаяся в продаже свеча зажигания. Зазор между электродами должен быть отрегулирован до необходимого максимального давления при точке воспламенения, например, от 50 до 150 бар. Оно должно быть в диапазоне от 0,1 до 0,2 миллиметра, аналогично кривой Пашена для реальных напряжений зажигания от 30 до 50 киловольт.Свечу зажигания можно либо встроить постоянно, либо заменить в форкамеру для возможной замены из-за износа. Кроме того, центральный электрод свечи зажигания также может быть расположен так, что между стенкой предкамеры и центральным электродом создается искровой промежуток, см. ЕР 1476 926 А1.
Если для подачи топлива в предварительную камеру используются капилляры, они могут открываться в предварительную камеру в одной или нескольких точках, чтобы обеспечить гомогенную смесь топлива и воздуха.Использование капилляров небольшого диаметра для подачи топлива в форкамеру дает то преимущество, что дозирующие клапаны подвергаются только низкой температурной нагрузке и, из-за длительного времени потока газа, только низкой нагрузке давления от основной камеры сгорания. , см. EP 1936143 B1. При соответствующем расположении капилляров при подаче топлива в форкамеру на более поздней стадии может создаваться поток, который поддерживает смешивание с воздухом.
Количество и ориентация отверстий для впрыска 24 , например, выполненных в виде выпускных отверстий, форсунки 20 обусловлены требованиями к основному диффузионному сгоранию.Количество и положение или ориентация переливного отверстия 32 , также называемых переливными отверстиями, определяется следующими требованиями, например: создание завихрения в форкамере; оптимальное зажигание форсунок впрыска газа высокого давления. Количество перелива должно соответствовать количеству выходных отверстий. Отверстия перелива должны быть расположены таким образом, чтобы вдувающие или нагнетательные форсунки высокого давления перекрывали факельные форсунки из соответствующего переливающего канала, тем самым позволяя зажигание форсунок высокого давления.Это приводит к нескольким возможностям компоновки, которые можно увидеть, например, на фиг. 6-8.
С помощью описанного метода преимущества диффузионного горения, упомянутые выше, могут быть использованы аналогично преимуществам дизельного двигателя, например, прежде всего, высокая степень эффективности, даже для филе, которое не или только плохо самовоспламеняющийся. Это может быть жидкое топливо, такое как бензин, или газообразное топливо, например, природный газ. Способ позволяет отказаться от введения струй воспламенения от второго топлива, которое самовоспламеняется в условиях двигателя.С одной стороны, это делает инжектор прямого вдувания высокого давления (инжектор 20 ) намного проще, чем известные двухкомпонентные инжекторы, такие как инжекторы игла в игле, как описано, например, в WO 2012/171119. А1. С другой стороны, можно полностью отказаться от второй, дополнительной подачи самовоспламеняющегося топлива, такого как дизельное топливо. Систему баков, насос высокого давления и топливопроводы можно сэкономить на дополнительное топливо. Исключительное использование газообразного топлива также снижает склонность к коксованию.При нагнетании газа высокого давления и использовании охлажденного сжиженного природного газа, такого как, например, СПГ, концепции, известные до сих пор, приводят к отсечке и утечке количества газа при изменении нагрузки или необходимых изменениях давления газа, что требует больших затрат сжимается до высокого давления или вдувается во впускной коллектор при низком давлении. Впрыск НД в форкамеру дает простую возможность использовать эти количества газа в двигателе.
По сравнению с зажиганием форсунок высокого давления с непосредственным впрыском с помощью свечей накаливания, как описано, например, в WO 2007/128101, настоящий способ предлагает то преимущество, что источник зажигания или факельная струя может быть назначен каждой форсунке. .Необязательно устанавливать несколько свечей накаливания в ГБЦ 14 . Кроме того, степень свободы в отношении того, когда происходит зажигание в форкамере, относительно начала прямого вдувания ВД означает, что зажигание прямого впрыска ВД можно лучше контролировать с помощью форсунок. Кроме того, имеющиеся в продаже системы зажигания предназначены для зажигания в каждом цикле сгорания, тогда как свечи накаливания обычно предназначены только для холодного запуска, а не для непрерывной работы.Путем смешивания топлива с воздухом, поступающим в предварительную камеру из камеры сгорания 12 , топливно-воздушная смесь, содержащая, если необходимо, инертный газ, образуется в предварительной камере в виде смеси, которая является максимально гомогенной и воспламеняемой. , который воспламеняется искровым зажиганием с помощью устройства искрового зажигания 33 . После искрового зажигания топливовоздушной смеси происходит распространение предварительно перемешанного или дефлаграционного пламени с повышением температуры и давления в форкамеру. В результате пламя проходит в камеру сгорания 12 через переливные отверстия 32 в качестве вышеупомянутых факельных форсунок и воспламеняет топливный газ, который теперь вдувается непосредственно в камеру сгорания 12 с помощью инжектора или — форсунки топливного газа под давлением 28 , так что самовоспламенение топливного газа, впрыскиваемого непосредственно в камеру сгорания 12 , не происходит.Основное тепловыделение происходит аналогично хорошо известному способу прямого впрыска дизельного топлива под высоким давлением как диффузионное сжигание топливного газа с высокой степенью термодинамической эффективности. Предпочтительно, количество топлива в камере сгорания, подаваемое в камеру сгорания, значительно меньше количества топливного газа в камере сгорания, непосредственно вводимого в камеру сгорания 12 , при этом, например, предварительная камера Количество топлива, вводимого в камеру сгорания, составляет менее 10 процентов от количества топливного газа камеры сгорания топливного газа, непосредственно вдуваемого в камеру сгорания 12 .Основное тепловыделение и высвобождаемая работа двигателя внутреннего сгорания являются результатом диффузионного сгорания количества топливного газа в камере сгорания. Уровни давления как топлива, вдуваемого или впрыскиваемого непосредственно в форкамеру, так и топлива, продуваемого или впрыскиваемого непосредственно в основную камеру сгорания, могут быть одинаковыми. Предпочтительно, исходя из принципа работы, давление топлива для форкамеры может быть значительно ниже, в частности, при низком уровне давления (LP). Предпочтительно подача, в частности вдув, топлива в форкамеру (камера предварительного сгорания 30 ) происходит в диапазоне от -360 градусов угла поворота коленчатого вала до 0 градусов угла поворота коленчатого вала перед верхней точкой включительно. мертвая точка.Для прямого вдувания в камеру сгорания , 12, и для подачи топлива в форкамеру предпочтительно использовать одни и те же топливные газы. В принципе, также можно использовать два разных топлива. После заполнения форкамеры топливом происходит перелив, по крайней мере, воздуха, в частности смеси воздух-инертный газ, из основной камеры сгорания в форкамеру, так что воздух выходит из камеры сгорания 12 через переливные отверстия 32 в форкамеру 30 или вышеупомянутая воздушно-инертная газовая смесь смешивается с топливом, вводимым в форкамеру 30 .
Посредством соответствующего устройства подачи топлива в форкамеру, поток может создаваться в форкамере под высоким давлением, когда топливо вводится в форкамеру позже, что поддерживает перемешивание топливо с воздухом. Количество топлива в форкамеру, подаваемое в форкамеру, регулируется таким образом, что во время воспламенения в форкамере образуется горючая, оптимально стехиометрическая топливно-воздушная смесь за счет смешивания потоков вещества во время воспламенения.Это приводит к искровому воспламенению идеально стехиометрической топливно-воздушной смеси в форкамере. Источником зажигания может быть обычная свеча зажигания, свеча зажигания с искровым промежутком между кронштейном и стенкой камеры, зажигание коронным разрядом, лазерное зажигание или микроволновое зажигание. После зажигания происходит предварительно смешанное или дефлаграционное сгорание, в результате чего давление и температура повышаются в форкамере, и горящие факельные струи распространяются через переливные отверстия 32 в основную камеру сгорания с высокой выходной скоростью и образованием турбулентности.Топливный газ камеры сгорания вводится в камеру сгорания путем прямого вдувания под высоким давлением, как в случае дизельной форсунки высокого давления, в диапазоне от -60 градусов угла поворота коленчатого вала до +60 градусов угла поворота коленчатого вала, предпочтительно около верхней мертвой точки. Перед тем, как количество топливного газа из камеры сгорания будет введено в основную камеру сгорания (камера сгорания 12 ), по меньшей мере, воздух, в частности смесь воздух-инертный газ, присутствует в основной камере сгорания.
Расположение переливных отверстий 32 , которые, например, выполнены как переливные каналы, предпочтительно таково, что выходящие факельные жиклеры и форсунки топливного газа высокого давления 28 , которые выполнены с высоким давлением прямые вдувающие или нагнетательные форсунки геометрически пересекаются, так что воспламенение последних может происходить эффективно.Время зажигания в форкамеру предпочтительно выбирается таким образом, чтобы факельные жиклеры из форкамеры проходили в диапазоне от 60 градусов угла поворота коленчатого вала до угла поворота коленчатого вала 60 градусов после начала введения камеры сгорания. количество топливного газа в основную камеру сгорания. Таким образом может быть обеспечено надежное зажигание форсунок 28 топливного газа высокого давления. Не предполагается однородного смешения струй топливного газа высокого давления 28 с воздухом или смесью воздух-инертный газ в основной камере сгорания.Кроме того, количество топливного газа камеры сгорания, вводимое в камеру сгорания , 12, в виде струй топливного газа высокого давления, 28, , является искровым зажиганием от факельных струй, выходящих из форкамеры, которые также называются факельные форсунки. Самовоспламенение количества топливного газа в камере сгорания или смеси топливного газа с воздухом в основной камере сгорания не предусмотрено.
Количество топливного газа камеры сгорания или топливный газ можно вводить отдельно в камеру сгорания 12 в нескольких процессах наддува или впрыска.В случае такого раздельного ввода предпочтительно может быть введено первое меньшее количество пилотного топливного газа, которое воспламеняется факельными соплами из форкамеры. Это приводит к увеличенным зонам пламени для надежного воспламенения оставшегося количества топливного газа камеры сгорания, так что, например, может быть реализовано, по меньшей мере, трехступенчатое зажигание. За счет разделения подачи топливного газа в камеру сгорания , 12, предпочтительно на количество пилотного топливного газа, искровое зажигание топливно-воздушной смеси в форкамеру можно установить на раннее и, следовательно, на более низкое давление, таким образом улучшение условий функционирования системы искрового зажигания.Например, возникновение пробоя искры во время зажигания катушки зависит от давления. Аналогично этому процессу в двигателе, основное сгорание происходит как диффузионное сгорание вдуваемого или впрыскиваемого топливного газа. Топливо предоставляется в качестве топливного газа камеры сгорания, причем предпочтительно газообразное топливо, такое как метан, природный газ (CNG, LNG), LPG, этан или водород, или жидкое топливо, такое как бензин, используется в качестве топлива, склонность которого к самовоспламенению. в относящихся к двигателю диапазонах давления и температуры недостаточно для сгорания дизельного двигателя.Предпочтительно топливо идентично топливу, которое подается в форкамеру. В принципе, также можно использовать разные виды топлива. Давление для вдувания или впрыска топлива в форкамеры может быть значительно ниже, чем давление для вдува или впрыска топливного газа в основную камеру сгорания. Преимуществом здесь является более простая конструкция и более экономичная компоновка клапанного элемента , 38, для ввода топлива в форкамеру. Для подачи топлива в форкамеру, например, может использоваться величина утечки / управления системой впрыска или впрыска газа высокого давления, если топливо для форкамеры и основной камеры сгорания идентично.Метод может использоваться как для стационарных, так и для мобильных приложений.
В частности, возможно, что в дополнение к форсунке 20 , выполненной как форсунка высокого давления, форкамера также может быть предусмотрена дважды или несколько раз. В частности, предварительная камера может быть сконструирована как узел, который включает фланец, предварительную камеру, капилляр, клапанный элемент 38, , устройство искрового зажигания 33 и отверстия для перелива 32 .Другими словами, например, структурный блок 40 включает в себя камеру предварительного сгорания 30 , переливные отверстия 32 , устройство искрового зажигания 33 , подающий канал 34 , который предоставляется при необходимости. , и, например, клапанный элемент 38 . Конструктивная единица 40 , также называемая сборкой, может, например, вдавливаться в головку цилиндров 14 и / или с возможностью отсоединения соединяться с головкой цилиндров 14 , при этом конструктивная единица 40 может, например, , прикручивается к головке блока цилиндров 14 .Также возможно установить конструктивный элемент 40 , нажав на головку блока цилиндров 14 или с помощью прижимного устройства.
Также возможно интегрировать форкамеру, ее объем и переливные отверстия 32 непосредственно в головку блока цилиндров 14 , опционально посредством конструктивного исполнения. Предпочтительно к форкамеру приписаны один или несколько источников воспламенения, которые расположены, например, в форкамере. Таким источником зажигания может быть обычная свеча зажигания, свеча зажигания с искровым промежутком между стенкой держателя и камеры, зажигание высокочастотным коронным разрядом, лазерное или микроволновое зажигание.Устройство искрового зажигания может быть установлено в форкамере горизонтально или вертикально. Предпочтительно топливо вводится или подается в форкамеру с помощью тонких и длинных капилляров и / или с помощью расположенного снаружи клапана, такого как клапанный элемент , 38, . Клапанный элемент , 38, защищен капилляром от горячего топливного газа и давления в камере сгорания. Необязательно, можно подавать топливо в форкамеру, по меньшей мере, по существу, непосредственно через дозирующий клапан.В частности, тангенциальная и / или другая подача топлива в предварительную камеру может быть обеспечена таким образом, что, в частности, когда филе вводится в предварительную камеру поздно, в предварительной камере создается поток. , при этом поток поддерживает смешивание с воздухом, вводимым в предварительную камеру, в частности, через переливное отверстие 32 . Необязательно, тангенциальное расположение переливных отверстий , 32, и / или питающего канала , 34, предусмотрено для создания завихрения в форкамере, с помощью которой топливо, вводимое в форкамеру, может смешиваться. особенно хорошо с воздухом, подаваемым в форкамеру.Предпочтительно переливные отверстия , 32, расположены таким образом, чтобы факельные сопла и сопла , 28, топливного газа высокого давления пересекались, и последние могли воспламениться. Предпочтительно каждому отверстию для впрыска 24 или каждой струе 28 топливного газа высокого давления назначено, в частности, точно одно переливное отверстие 32 . Соответствующие центральные оси переливных отверстий , 32, и подающего канала , 34, или подающих каналов могут пересекаться, быть тангенциальными или располагаться друг напротив друга, чтобы обеспечить особенно выгодное смешивание воздуха с топливом и особенно выгодна гомогенизация смеси в форкамере.
Потоки веществ, поступающие в форкамеру, представляют собой, например:
- исключительно воздух или смесь воздух-инертный газ из основной камеры сгорания, при этом смесь воздух-инертный газ содержит инертный газ, который может, например, , это выхлопной газ с внутренней и / или внешней рециркуляцией, топливо ,
- и, при необходимости, воздух в случае остаточного газа, например, рециркулируемый выхлопной газ в основной камере сгорания или для промывки.
При работе с жидким газом, который может храниться в резервуаре высокого давления, например, возможен прямой впрыск жидкости в камеру сгорания 12 .Промывка предкамеры может проводиться при более низком давлении газообразным топливным газом, присутствующим в резервуаре, при этом, например, в резервуаре высокого давления предусмотрен блок выравнивания давления между газовой и жидкой фазами. Этот способ также можно использовать при более низких степенях сжатия двигателя внутреннего сгорания, поскольку первоначальное инициирование зажигания осуществляется устройством искрового зажигания и обычно не зависит от химического самовоспламенения одного из используемых топлив. Кроме того, может быть обеспечена дополнительная работа двигателя внутреннего сгорания с искровым зажиганием.
В дополнение к режиму диффузионного сгорания основных форсунок топливного газа высокого давления настоящее устройство подачи и зажигания позволяет переключаться на работу от бензинового двигателя, чтобы соответствовать возможным строгим нормам по шуму и выбросам. Кроме того, этот режим работы бензинового двигателя предлагает вариант в случае отказа подачи топлива в форкамеру:
- Впрыск топлива с помощью имеющегося клапана прямого впрыска высокого давления во время такта расширения / сжатия. либо для получения как можно более однородной топливно-воздушной смеси в камере сгорания 12 или покрытой топливно-воздушной смеси в камере сгорания 12 .Состав смеси в основной камере сгорания может быть стехиометрическим с остаточным газом или рециркулируемым выхлопным газом или без него, или обедненным с избытком воздуха.
- Чтобы избежать детонационного сгорания, степень сжатия может быть уменьшена в целом.
- Чтобы избежать детонационного сгорания, можно использовать топливно-воздушную смесь, разбавленную остаточным газом, рециркулирующим выхлопным газом или повышенным содержанием воздуха.
- При работе исключительно с бензиновым двигателем впрыск топливного газа в объем топливного газа камеры сгорания может осуществляться при значительно пониженном уровне давления.Это также дает возможность использовать топливо под низким давлением.
- Искровое зажигание, как в обычном бензиновом двигателе, с помощью устройства форкамерного зажигания.
- Предварительная камера может быть промыта воздухом и / или топливом для улучшения зажигания.
- После воспламенения в форкамеру происходит выброс факельных струй и воспламенение предварительно смешанной смеси в основной камере сгорания, при этом возможно двухступенчатое зажигание.
- Дефлагрирующее / предварительно смешанное горение в основной камере сгорания, в отличие от диффузионного горения.
На первом этапе S 1 режима диффузионного горения, проиллюстрированного на фиг. 2, впрыск газа, в частности впрыск газа низкого давления, происходит в камеру предварительного сгорания, при этом топливо вводится в камеру 30, предварительного сгорания, в частности, непосредственно вдувается. На втором этапе S 2 воздух течет из камеры сгорания 12 через переливные отверстия 32 в камеру предварительного сгорания 30 , в результате чего в предварительном -камеры сгорания 30 .На третьем этапе S 3 происходит искровое зажигание и, таким образом, внешнее воспламенение топливно-воздушной смеси в камере 30 предварительного сгорания, что приводит к распространению дефлаграционного пламени. На четвертом этапе S 4 происходит увеличение давления в камере сгорания в результате распространения дефлаграционного пламени, в результате чего, например, по меньшей мере одно пламя, возникающее в результате воспламенения топливно-воздушной смеси в камере предварительного сгорания, течет. из камеры предварительного сгорания 30 в основную камеру сгорания через переливные отверстия 32 , образуя факельные жиклеры, обозначенные на фиг.2. На четвертом этапе S 4 факельные жиклеры 64 передаются в основную камеру сгорания. На пятом этапе S 5 топливный газ впрыскивается непосредственно в основную камеру сгорания в рамках вдува под высоким давлением, при этом топливный газ вдувается в камеру сгорания 12 с помощью инжектора 20 , образующие форсунки топливного газа высокого давления 28 . Форсунки топливного газа высокого давления 28 воспламеняются на факельных форсунках 64 , при этом основное горение происходит как диффузионное горение смеси топливного газа и воздуха, поступающей в камеру сгорания 12 , что предусмотрено в шестой ступени. шаг S 6 .
РИС. 5 показано, как и на фиг. 1 первый вариант газового двигателя 10, , в частности устройства питания и зажигания , 18, . В первом варианте осуществления, показанном на фиг. 1 и фиг. 5, камера предварительного сгорания 30, , выполненная как кольцевое пространство или кольцевая камера, и переливные отверстия 32, образованы блоком камеры предварительного сгорания как законченный узел, при этом блок камеры предварительного сгорания является составной частью спроектированы отдельно или независимо от головки блока цилиндров 14 и расположены, например, на головке блока цилиндров 14 , в частности, в головке блока цилиндров 14 .Таким образом, этот блок форкамеры представляет собой сменный узел, который с возможностью реверсирования расположен на головке цилиндров 14 и может быть заменен, например, на другой блок форкамеры.
РИС. 4 показан второй вариант осуществления, в котором камера предварительного сгорания 30, и предпочтительно переливные отверстия 32 интегрированы в головку цилиндров 14 , в частности, залиты в головку цилиндров 14 . Здесь соответствующие компоненты собираются индивидуально.
РИС. 6 показан третий вариант осуществления. На фиг. 6 показана ось 66 одной из струй топливного газа высокого давления 28 , выполненная в виде продольной центральной оси. Кроме того, фиг. 6 показана ось 68 одной из факельных струй 64 , выполненная в виде продольной центральной оси. В третьем варианте осуществления, показанном на фиг. 6, переливные отверстия 32 расположены относительно отверстий для впрыска 24 таким образом, что оси 66 и 68 смещены друг к другу в периферийном направлении форсунки 20 и проходят параллельно друг другу.В четвертом варианте осуществления, показанном на фиг. 7, отверстия для перелива 32, и отверстия для впрыска 24 расположены на одинаковой высоте в периферийном направлении форсунки 20 или в сечении в точке пересечения обеих осей струи таким образом, что оси 66 и 68 проходят параллельно друг другу и не смещены друг относительно друга в направлении вращения форсунки 20 . Здесь, например, оси 66 и 68 лежат в общей плоскости, в которой также лежит ось 26 форсунки 20 .
в пятом варианте осуществления, показанном на фиг. 8, например, отверстия для перелива 32, смещены в периферийном направлении форсунки 20, по отношению к отверстиям для впрыска , 24, . В качестве альтернативы или дополнения предусмотрено, что оси , 66, и , 68, пересекаются или что соответствующие плоскости, в которых расположены оси , 66, и , 68, , проходят под углом друг к другу и пересекаются друг с другом.
Соответствующий вариант осуществления основан на знании того, что выходное положение переливных отверстий 32 влияет на воспламенение соответствующей струи топливного газа высокого давления 28 , также называемой газовой струей. Соответствующему факельному жиклеру 64 или соответствующему переливному отверстию 32 предпочтительно назначено ровно одно впрыскивающее отверстие 24 и, таким образом, ровно одно жиклер топливного газа высокого давления 28 или наоборот. Здесь, например, как показано на фиг.7 — соответствующая струя топливного газа высокого давления 28 и соответствующая назначенная факельная струя 64 имеют идентичные оси 66 и 68 в проекции сверху. Кроме того, возможно, что выходное отверстие соответствующей струи 28 топливного газа высокого давления и соответствующая сопряженная факельная струя 64 не идентичны в осевом направлении, а слегка пересекаются сверху под углом до прямых углов. Кроме того, предпочтительно предусмотрено радиальное расстояние r между выпускным отверстием соответствующей факельной струи 64 и выпускным отверстием соответствующей сопряженной струи топливного газа высокого давления 28 , поскольку, например, горящая факельная струя 64 не может перекрывают полный путь от форсунки 20 до так называемой зоны воздухововлечения струи топливного газа высокого давления 28 без выдува струей топливного газа высокого давления 28 .Форсунки 28 топливного газа высокого давления имеют по существу толстые области струи на небольшом расстоянии от отверстий для впрыска 24 форсунки 20 , особенно сразу после выхода из форсунки 20 . В этих областях с толстыми струями еще не происходит достаточного смешивания топливного газа струй топливного газа 28 с воздухом для горения в камере сгорания 12 , так что нет смеси, воспламеняемой факельными соплами 64 .Жиклеры топливного газа 28 охлаждаются и гаснут в области перелива 32 факельных жиклеров 64 . Только на определенном расстоянии r струя топливного газа 28 достаточно смешана с воздухом для горения в зоне воздухововлечения, так что смесь топливного газа и воздуха, образованная в зоне воздухововлечения, воспламеняется от факельных жиклеров 64 . Посредством радиального расстояния r между соответствующим переливным отверстием 32, и соответствующим впрыскивающим отверстием 24 может происходить зажигание соответствующей струи топливного газа высокого давления 28 через соответствующую горящую факельную струю. в так называемой воздухововлекающей зоне газовой струи ВД.
Расположение переливных отверстий 32 также влияет на образование смеси в предварительной камере, так что предпочтительно ось слегка наклонена для создания завихрения в предварительной камере. Кроме того, соответствующее переливное отверстие 32 предпочтительно имеет особенно короткую длину, менее 5 миллиметров, чтобы реализовать благоприятный импульс газообмена с основной камерой сгорания, а также выброс остаточного газа из предкамеры. как вход воздуха из камеры сгорания для смесеобразования.Кроме того, для инжектора 20 предусмотрены предпочтительно короткие пути потока газа, при этом можно использовать обычный магнитный инжектор и в котором можно избежать регулирования перепада давления. Предпочтительно, выгодная конструкция отверстий для впрыска 24 , которые также выполнены как газовые каналы, достигается без влияния каналов форкамеры; снизить тепловую нагрузку на форсунку 20 , так как она находится дальше от форкамеры. С газовым инжектором высокого давления при изменении рабочей точки вырабатывается определенное количество топливного газа под низким давлением, которое не может храниться в системе топливного бака.Кроме того, в системе резервуаров для СПГ сжиженный природный газ испаряется в газообразном состоянии при низком давлении и больше не может использоваться, что также используется в качестве газа для испарения. Этот топливный газ под низким давлением можно использовать для сжигания в форкамеру. Другими словами, например, регулируемое количество и потоки утечки используются в качестве топливного газа для форкамеры. Кроме того, для подачи топлива в форкамеру можно использовать капилляры с особенно простым клапаном.
Топливный газ или количество топливного газа камеры сгорания можно подавать отдельно в камеру сгорания 12 посредством нескольких процессов впрыска.В случае раздельного впрыска предпочтительно сначала впрыснуть небольшое количество пилотного топливного газа, которое воспламеняется на факельных соплах , 64, , из форкамеры. Это приводит к увеличенным зонам пламени для безопасного воспламенения оставшегося количества основного топливного газа, в результате чего возможно трехступенчатое зажигание. Кроме того, возможно двухступенчатое зажигание, при котором факельные форсунки , 64, из предкамеры непосредственно воспламеняют форсунки 28 топливного газа высокого давления, которые выполнены в качестве количества топливного газа камеры сгорания.Предпочтительно факельные жиклеры , 64, выпускаются только незадолго до и / или во время впрыска топливного газа в камеру сгорания , 12, , поскольку обеспечивается прямое зажигание и отсутствие смешения со струей. В качестве примера, происходит заполнение форкамеры газом выше по потоку, при этом воздух затем вводится в форкамеру для получения вышеупомянутой топливно-воздушной смеси. Кроме того, возможно одновременное или отложенное зажигание или множественное зажигание для достижения безопасного воспламенения.Также может быть обеспечено сочетание или переключение между двумя режимами работы, как описано выше. Преимущества — высокая удельная мощность, а также возможность снижения выбросов CO2 за счет высокой термодинамической эффективности. Кроме того, инжектор 20 , который разработан как газовый инжектор высокого давления, может использоваться для раннего впрыска газа и образования смеси в фазе сжатия, например, в бензиновом двигателе с прямым впрыском, слоистом или гомогенном топливе газ-воздух. смесь в точке воспламенения, зажигание с форкамерой.Преимущества: отсутствие необходимости в газе под высоким давлением, низкий уровень шума, возможность гибридизации, экономичная работа с возможной высокой эффективностью, возможно высокое сжатие, подобное дизельному. Другое преимущество заключается в том, что в способе предусмотрено нехимическое искровое зажигание, так что метод также может использоваться при низких степенях сжатия (ε).
РИС. 9 показан шестой вариант осуществления, в котором, например, ось 68 факельной струи 64 охватывает угол αVK с воображаемой плоскостью 70 , которая, по меньшей мере, по существу перпендикулярна оси 26 .Например, угол αVK составляет, по меньшей мере, по существу 90 градусов. Ось 66 струи 28 топливного газа высокого давления включает угол αHD-DI с плоскостью 70 , при этом углы αVK и αHD-DI отличаются друг от друга. В частности, угол αHD-DI меньше угла αVK.
РИС. 10 показывает седьмой вариант осуществления, в котором оба угла αVK и αHD-DI отличаются от 90 градусов. Кроме того, угол αHD-DI меньше угла αVK. Наконец, на фиг.11 показан восьмой вариант осуществления, в котором вышеупомянутый эффект по меньшей мере по существу закрученного потока обеспечивается в камере 30, предварительного сгорания.
(PDF) Анализ процесса сгорания в промышленных газовых двигателях с форкамерной системой зажигания
Энергия 2018,11, 336 14 из 15
Ссылки
1.
Rojewski, J .; ´
Слефарски, р .; Wawrzyniak, J. Анализ процесса сгорания в промышленных газовых двигателях, работающих на
с высоким содержанием метана и азотированными низкокалорийными газами.Siln. Spalinowe 2013,52, 42–50.
2.
Bhandari, K .; Bansal, A .; Шукла, А .; Каре, М. Характеристики и выбросы двигателя внутреннего сгорания
, работающего на природном газе: обзор. J. Sci. Ind. Res. 2005,64, 333–338.
3.
Hill, S.C .; Смут, Л. Моделирование образования и разрушения оксидов азота в системах сгорания.
Прог. Энергия сгорания. Sci. 2000, 26, 417–458. [CrossRef]
4.
Кноп, В .; Benkenida, A .; Джей, С.; Колин, О. Моделирование горения и образования оксида азота в двигателях внутреннего сгорания
, работающих на водороде, в рамках кода 3D CFD. Int. J. Hydrogen Energy
2008
, 33,
5083–5097. [CrossRef]
5.
Raine, R.R .; Stone, C.R .; Гулд, Дж. Моделирование образования оксида азота в двигателях с искровым зажиганием с многозонным сжигаемым газом
. Гореть. Пламя 1995, 102, 241–255. [CrossRef]
6.
Krishnan, S.R .; Сринивасан, К.К .; Singh, S .; Bell, S.R .; Midkiff, K.C .; Гонг, Вт .; Fiveland, S.B .; Вилли М.
Стратегии снижения выбросов NO
x
Выбросы в газовых двигателях с пилотным зажиганием. J. Eng. Газовые турбины Power
2004
,
126, 665–671. [CrossRef]
7.
Европейский Союз. Директива (ЕС) 2015/2193 Европейского парламента и Совета — от 25 ноября
2015 — об ограничении выбросов в атмосферу определенных загрязнителей от установок среднего сжигания;
Официальный журнал Европейского Союза: Люксембург, 2015 г .; Том 58.
8.
Königsson, F .; Дембинский, H .; Ангстрем, Х.-Э. Влияние потоков в цилиндрах на выбросы и тепло
Перенос при двухтопливном сжигании метан-дизель. SAE Int. J. Engines 2013,6, 1877–1887. [CrossRef]
9.
Sorathia, H.S .; Rahhod, P.P .; Sorathiya, A.S .; Инженерное дело, М .; Колледж, G.E .; Катч Б. Влияние рециркуляции выхлопных газов
(EGR) на NO
x
Выбросы от c.i. Двигатель »- Обзорное исследование. Int. Дж.Adv. Англ. Res. Stud.
2012
,
1, 223–227.
10.
Rudkowski, M .; Dudek, S .; Волошин Р. Результаты испытаний системы внешней рециркуляции выхлопных газов
двигатель-компрессор Cooper Bessemer GMVH-8. Siln. Spalinowe 2010, 49, 74–81.
11.
Ma, F .; Wang, Y .; Liu, H .; Li, Y .; Wang, J .; Динг, С. Влияние добавления водорода на изменения от цикла к циклу в двигателе с искровым зажиганием, работающим на обедненном природном газе
.Int. J. Hydrogen Energy 2008, 33, 823–831. [CrossRef]
12.
Arcoumanis, C .; Hull, D.R .; Whitelaw, J.H. Подход к стратификации заряда в двигателях с обедненным и искровым зажиганием
; SAE Paper 941878; SAE International: Warrendale, PA, USA, 1994.
13.
Ma, F .; Ван, Ю. Исследование расширения предела работы на обедненной смеси за счет обогащения водородом в газовом двигателе
с искровым зажиганием на природном газе. Int. J. Hydrogen Energy 2008, 33, 1416–1424. [CrossRef]
14.Tozzi, L.P .; Солтер, Д.В. Свеча зажигания предкамеры. Патент США 7922551 B2, 7 июня 2005 г.
15.
Olsen, D.B .; Adair, J.L .; Уилсон, Б. Конструкция и характеристики камеры предварительного сгорания. В материалах
весенней технической конференции подразделения двигателей внутреннего сгорания ASME 2005, Чикаго, Иллинойс, США,
5–7 апреля 2005 г .; С. 415–428.
16.
Olsen, D.B .; Lisowski, J.M. Prechamber NO
x
Формированиев двухтактных двигателях на природном газе с низким BMEP.
Заявл. Therm. Англ. 2009 г., 29, 687–694. [CrossRef]
17.
Tozzi, L .; Sotiropoulou, E .; Чжу, С. Улучшение компромисса между эффективностью и выбросами с помощью новой камеры предварительного сжигания обедненной смеси
. В материалах 10-й конференции по газовым двигателям в Дессау, Дессау-Росслау, Германия,
, 6–7 апреля 2017 г .; С. 165–176.
18. Le Conseil fédéral Suisse. Ordonnance sur la Protection de l’air (OPair), от 16 декабря 1985 года (Etat au 12 October 1999);
Le Conseil fédéral Suisse: Берн, Швейцария, 1999.
19.
Roethlisberger, R.P .; Фаврат Д. Сравнение прямого и непрямого (предкамерного) искрового зажигания в
для когенерационного двигателя на природном газе, Часть II: Рабочие параметры двигателя и характеристики турбокомпрессора
. Прил. Therm. Англ. 2002, 22, 1231–1243. [CrossRef]
20.
Heyne, S .; Meier, M .; Imbert, B .; Фаврат Д. Экспериментальное исследование форкамерного самовоспламенения в двигателе
, работающем на природном газе для когенерации.Топливо 2009,88, 547–552. [CrossRef]
21.
Роевски, Дж. Оптимизация процесса сгорания в промышленных газовых двигателях. Кандидат наук. Диссертация, Познанский университет
технологий, Познань, Польша, 2014; п. 7.
22.
Литак, Г .; Syta, A .; Yao, B.F .; Ли, C.X. Отображены колебания среднего эффективного давления в двигателе
, работающем на природном газе, на повторяющихся графиках. J. Theor. Прил. Мех. 2009, 47, 55–67.
Двигатель Maserati Nettuno Stratified Charge — Burns Stainless
Совсем недавно на мой экран пришло электронное письмо о новом двигателе Maserati Nettuno, вдохновленном двигателем Honda CVCC начала 70-х годов.
Я познакомился с Honda, когда был мальчиком во втором классе. Брат моего лучшего друга Джои, Тим, прошел трассу Honda 70.
Маленький мотоцикл / скутер с большими шипованными шишками и автоматической коробкой передач, благодаря которым кататься на нем было легко и весело. Поскольку мои родители были категорически против мотоциклов, мне пришлось втайне наслаждаться самокатом медного цвета.
Мне очень понравилось!
Несколько лет спустя, когда Тим собирался учиться в колледже, родители купили ему желтый хэтчбек Honda Civic.Это была забавно выглядящая машина с крошечными колесами. Я помню, как подъехал к нему на своем 10-скоростном Peugeot и высмеивал тот факт, что он был ненамного длиннее моего мотоцикла. Еще я помню крошечный значок на спине «CVCC». Никогда особо не задумывался об этом. На самом деле думал, что это цивик неправильно написано.
Быстро перенесемся еще на несколько лет в мой вводный курс по горению в Калифорнийском университете в Ирвине. Это был конец 70-х годов, и большое внимание уделялось контролю образования загрязняющих веществ. Мой профессор показал фотографию верхнего проекта (помните?) Цилиндра двигателя с маркировкой CVCC.
Мой профессор объяснил, что CVCC означает «сложный контроль вихревого горения» и представляет собой технологию контроля загрязнения, которая позволила этим ранним Honda соответствовать стандартам выбросов в США для окиси углерода (CO) и углеводородов (HC) без каталитического нейтрализатора. Значит, вот что значил значок!
CVCC был впервые использован на двигателе ED, это был 4-тактный двигатель объемом 1487 куб. См, с верхним распредвалом, 1 впускным и 1 выпускным клапаном, а также небольшим вторичным впускным клапаном, который вводил обогащенную топливом смесь в небольшую форкамеру на свеча зажигания.
Этот метод обеспечивает стабильное сгорание относительно бедных смесей, что приводит к почти полному сгоранию и низким выбросам CO и HC. Этот базовый метод использовался конструкторами двигателей с тех пор, когда они превратились в так называемые двигатели со слоистым зарядом, хотя обычно без предкамеры.
Maserati, использующая двигатели на базе Ferrari для своих дорожных автомобилей, теперь нуждалась в разработке собственных двигателей, поскольку Ferrari была выделена Fiat-Chrysler, а теперь является ее конкурентом.Первый двигатель — это двухцилиндровый двигатель V6 с 90-градусным турбонаддувом, названный Nettuno. 3,0-литровый двигатель мощностью 621 л.с. и 538 фунт-фут крутящего момента дебютирует в суперкаре MC20.
Двигатель основан на оригинальном двигателе CVCC 70-х годов, конечно, с итальянским ноу-хау и раструбом. Форкамера, вдохновленная F1 (да, концепция CVCC использовалась в Формуле-1, кто знал?) Находится наверху камеры сгорания и более определен, чем оригинальная камера CVCC.Основная свеча зажигания воспламеняет смесь форкамеры, которая поступает в основную камеру сгорания, зажигая рабочий такт, аналогично CVCC. Топливо в основном подается посредством прямого впрыска под высоким давлением.
Инженеры Maserati обнаружили, что двигателю, хотя и эффективному, не хватало изящества, необходимого для роскошного GT. Чтобы справиться с грубой и шумной работой, они добавили впрыск через порт и вторую свечу зажигания на краю камеры сгорания. Используя сложный алгоритм ECU, несколько мест впрыска и зажигания скомбинированы в сложном концерте, что приводит к плавной и дерзкой подаче мощности.
Захватывающий двигатель, который вызывает теплые воспоминания. Однако интегральный выпускной коллектор / турбонагнетатель оставляет мою душу пустой. Зацените, дайте мне знать, какова ваша реакция.
32 березовых палки или системы зажигания ракетных двигателей / Sudo Null IT News
Сейчас, в ХХI веке, появились космические ракеты, для запуска которых используются детали из дерева. Тридцать две березовые палки — важный элемент системы запуска двигателя.И если вы, наверное, догадались, какая страна производит такие ракеты (да, это Россия, а ракеты — это семья «Союз»), то я бы предостерегал вас от неуважения к такому инженерному решению — это было бы серьезной ошибкой. Почему?
О чем мы говорим?
Процесс запуска жидкостного ракетного двигателя намного сложнее, чем запуск, например, автомобильного двигателя внутреннего сгорания. При изменении давления, соотношения компонентов и расхода топлива в камере сгорания возникают переходные процессы, требующие соблюдения.Неправильное зажигание может привести к «резкому запуску» и даже к взрыву двигателя.
Автор ролика пишет, что тогда не обнаружил отсоединения камеры сгорания и форсунки:
И тут произошло срыв пламени зажигательного устройства, и двигатель получил серьезный удар когда пламя «догнало» поток компонентов:
В поисках надежной, эффективной и дешевой системы зажигания было придумано довольно много инженерных решений.О них и поговорим сегодня.
Ракетная роща
Это пиропламенное устройство (ПЗУ) двигателей РД-107/108, которые устанавливаются на ракету-носитель семейства «Союз». На деревянной Т-образной опоре размещены две пиротехнические шашки с датчиком (подпружиненным контактом) между ними. По команде «розжиг» шашки зажигаются от электровоспламенителей, пламя прожигает провод датчика, а его пружина размыкает контакт. В электрическую систему ракеты поступает сообщение о том, что шашки в этой камере сгорания хорошо горят, вы можете открыть клапаны топлива и окислителя и продолжить запуск двигателя.
Сверху две камеры защитные крышки (ярко-красные), внизу уже установлено ПЗУ.
Несмотря на очень устаревший внешний вид, данная система зажигания имеет следующие преимущества:
- Дешевизна . Любая другая система зажигания будет дороже, поскольку потребует дополнительных трубопроводов, мембран, клапанов и т. Д. Деревянная палка и пороховые шашки стоят копейки. Не забывайте, что стоимость системы зажигания умножается на количество камер сгорания, если у вас их 32, как в «Союзе», вам захочется самый дешевый вариант.
- Возможность протестировать систему . Датчик зажигания просто и качественно показывает, горят ли пирошаки. 12 марта этого года первая попытка запуска спутника «Ресурс-П №3» не удалась именно по этой причине — пирошашки не загорелись в одной из камер сгорания, а система управления запретила дальнейший запуск двигателя
- Быстрая замена . Менее чем за сутки у пусковой команды заменили ПЗУ и 13 марта успешно запустили Ресурс-П №3.Некоторые другие системы зажигания потребуют снятия ракеты с запуска и отсрочки запуска на несколько дней.
При этом, конечно, у системы есть ограничения и недостатки:
- Одноразовые . Очевидно, что такой способ розжига не подходит, если вам нужно несколько раз запустить двигатель.
- Требует ручной работы и зависит от ее качества . При подготовке к запуску ПЗУ необходимо установить вручную и вы можете, например, случайно повредить провода системы зажигания.
В целом история этих РОМов наглядно демонстрирует поговорку «лучший враг добра». Для двигателей РД-107/108 неоднократно предлагались другие системы зажигания, но все предложения разбивались о простом расчете стоимости. Так что, несмотря на кажущуюся архаичностью точку зрения, эта система исчезнет только с окончанием эксплуатации ракет семейства «Союз», а это произойдет очень скоро.
Похожая схема зажигания, возможно, без дерева, сейчас используется на европейской тяжелой ракете Ariane 5.Вот изображение форсунок камеры сгорания двигателя Vulcain 2, стоящего на центральной ступени. По центру отверстие для пирожков:
А вот шашки, собранные в мастерской производителя:
Схема установки шашек в двигатель:
Радость заговора
Приверженцы «лунного заговора» очень любят говорить о запуске Аполлона-6 4 апреля 1968 года в цветах.Действительно, в процессе работы второй ступени в одном двигателе возникли проблемы, из-за которых два двигателя из пяти отключились, а вторая ступень с трудом вышла на низкую орбиту. Теоретики заговора из этого события делают вывод, что Сатурн-5 оказался бесполезной ракетой и не мог отправить никого на Луну. Но что там на самом деле произошло?
Схема камеры сгорания и воспламенителя двигателя J-2
В двигателе J-2, который стоял на второй и третьей ступенях ракеты-носителя «Сатурн-V», во время его работы постоянно поддерживалось зажигание.Так называемый воспламенитель форкамерно-факельного типа представлял собой отдельную небольшую камеру сгорания, в которую подавались водород и кислород, непрерывно воспламеняемые электрическим разрядом от свечи накаливания (примерно так же, как в автомобиле). Пламя от запальника осталось в центре камеры сгорания и обеспечило непрерывность горения.
Камера сгорания двигателя челнока SSME работает по тому же принципу, пилотное отверстие показано стрелкой
А в случае Аполлона 6 проблемы возникли на подходе к летчику.Тонкая металлическая трубка, по которой подавался жидкий водород, имела гибкие элементы с гофрами:
Жидкий водород настолько холоден, что разжижает атмосферный воздух. В условиях наземных испытаний в канавках гофры образовался слой жидкого воздуха, который работал амортизатором. А на высоте пуска второй ступени воздуха было уже мало, амортизирующий слой не образовался, гофра начала вибрировать и лопаться.
Прекращена подача водорода, погасло зажигание и началось нестабильное горение в двигателе.Система управления ракетой это заметила и дала команду выключить двигатель. Но тут проявилась вторая проблема — перепутались провода к двигателям, и система управления отключила другой, исправный двигатель. И первый двигатель сам по себе погас.
Несмотря на серьезность проблем, исправить их было несложно. В трубках подачи водорода и кислорода убрали гофры:
А провода от системы управления укоротили так, что перепутать их было физически невозможно.Доработанный двигатель успешно прошел испытания в полете «Аполлона-7». Затем произошел полет «Аполлона-8» с ускорением к Луне. Теоретики заговора, которые пишут, что полет на Луну произошел сразу после аварии Аполлона-6, также здесь ошибаются. Увы, часто им не хватает даже элементарных знаний.
А система зажигания с форкамерой успешно применяется на кислородно-водородных двигателях. При необходимости он может запускать двигатель несколько раз. Для шаттлов в этом не было необходимости, но иногда разгонным блокам иногда приходится производить несколько включений.Вот фотография пилотного испытания разрабатываемого европейского верхнего блока Vinci:
Что касается искр, знакомых многим при запуске космического шаттла, то это не система зажигания двигателя. Челноки представляли собой форкамерные факельные запальники (фото камеры сгорания выше, если вы не заметили подпись). На самом деле запуск двигателя от искры под соплом — почти верный шанс вызвать жесткий запуск, когда пламя поднимается до камеры сгорания.Красивые искры — это система гарантированного дожигания водорода из двигателей, чтобы он нигде не скапливался и не создавал взрывоопасных концентраций.
Подробнее об электроэнергии
Удобство электрического зажигания сделало его практически единственным вариантом для запуска твердотопливных двигателей. Например, шашки зажигания твердотопливных ускорителей Space Shuttle:
Интересно, что они расположены не ниже ускорителя, как казалось бы логично, а сверху.
Парадоксальный вариант
Иногда отдельная система зажигания вообще не нужна. Несимметричный диметилгидразин и тетроксид азота воспламеняются просто при контакте друг с другом, что избавляет инженеров от необходимости изобретать специальные системы. Кроме того, НДМГ и АТ хранятся в жидкой форме при комнатной температуре, что делает их отличным выбором для пилотируемых космических кораблей, маневрирующих спутников и межпланетных станций. Особенно удобно отсутствие системы зажигания для маневровых двигателей, которые используются в большом количестве и отличаются малыми габаритами.
Классика жанра — двигатели ориентации на «Союзе» и лунный модуль
Поможет химия
Удобство самовоспламеняющихся химических соединений привело к тому, что они используются в качестве стартового топлива для запуска негорючих топливных пар. В простейшем случае в трубопроводы помещают «ампулы» (трубы с мембранами) с самовоспламеняющимися компонентами. При запуске двигателя они выпускаются в камеру сгорания, смешиваются, воспламеняются и создают пламя, от которого воспламеняется основное топливо:
Если вам нужно запускать несколько раз, вы можете сделать отдельный бак со стартовым топливом, подачу коих хватит на несколько запусков.Такие системы довольно часто используются на кислородно-керосиновых двигателях, они стояли на Ф-1 (первая ступень «Сатурн-В»), они используются в семействе РД-170/180/190 и «Мерлин» Маска. Главный недостаток химического зажигания состоит в том, что при использовании одноразовых ампул при старте мембраны лопаются, и ракета не улетает, ее нужно снимать с самого начала, сдавать на сборочно-испытательный комплекс и заменять на новые. Например, в 2013 году повторный запуск Falcon 9 со спутником SES-8 состоялся всего через шесть дней.
Пью Пью
В последние годы активно ведутся работы по системам лазерного зажигания. Вот, например, отечественные лазерные модули, успешно прошедшие испытания на РД-107/108:
Фото с испытаний:
В будущем такие системы могут вытеснить химическое и предкамерное электрическое зажигание, в том случае, когда требуется многократный запуск двигателей, а существующие системы недешевы, сопоставимые по стоимости с лазерными модулями.
Простые истории о том, как летают ракеты и спутники — с пометкой «Тонкие сложности космической техники»
Первый газовый двигатель для Siemens
РОБЕРТА ПРАНДИ
До сих пор несколько необычно видеть имя Siemens, связанное с поршневыми двигателями, работающими на газовом топливе. Но после приобретения Dresser-Rand в 2015 году немецкий производитель турбин добавил к своему широкому ассортименту устаревший испанский бренд двигателей Guascor.
В настоящее время компания укрепляет свои позиции в сфере газовых поршневых двигателей, запустив свой первый газовый двигатель мощностью 2 МВт для распределенных систем выработки электроэнергии. Новые двигатели серии E доступны в двух версиях — SGE-86EM для рынков 50 Гц и SGE-100EM для регионов 60 Гц. Номенклатура SGE обозначает газовые двигатели Siemens.
Ева Гармендиа, менеджер подразделения Siemens Engine Product Line, сообщила, что на рынке доступны генераторные установки как на 50 Гц, так и на 60 Гц.
Высокоскоростной 12-цилиндровый двигатель серии E с искровым зажиганием и обедненным режимом работы доступен с рабочим объемом 86 и 100 л, но с общим размером корпуса 34.По словам Гармендиа, это примерно на 31% меньше, чем у конкурирующих двигателей 12 В в той же категории мощности, 5 м3 и занимаемая площадь 12,8 м2.
Двигатели серии E предназначены для работы на природном газе, но компания Siemens уже объявила, что в ближайшее время будут добавлены другие виды топлива. В частности, Гармендиа сообщил, что дебют биогазового двигателя планируется в ближайшие 12-18 месяцев.
Двигатель серии E был разработан с нуля и использует технологию сгорания по циклу Миллера, которая, по словам Сименс, обеспечивает механический КПД около 47% и электрический КПД 45.4%. По словам Сименса, двигатель подходит как для первичной энергетики, так и для когенерации, а также для комбинированного производства тепла и электроэнергии (ТЭЦ), а также для коммерческих, промышленных и муниципальных проектов по децентрализованной выработке электроэнергии.
«Новый двигатель серии E предлагает более компактную и эффективную альтернативу двигателям мощностью 2 МВт, доступным сегодня на рынке энергетики», — сказал Гармендиа. «Мы также можем предложить один из самых коротких сроков выполнения заказа в отрасли — всего 24 недели от концепции до поставки полной генераторной установки.”
Компания Siemens сообщила, что генераторные установки на базе двигателей серии E теперь доступны для приложений с частотой 50 и 60 Гц. Чтобы просмотреть обзорное видео о новом движке, щелкните здесь.Среди технических характеристик этого нового двигателя — новая конструкция камеры предварительного сгорания. «В газовых двигателях Siemens серии E используется форкамера с подачей газа вместе с газовой рампой высокого давления», — сказал Гармендиа. «Вся система была смоделирована до испытания двигателя, что позволило нам лучше понять результаты испытаний и определить более контролируемое распределение потока вокруг свечи зажигания в момент зажигания.
«Это помогает обеспечить одинаковые характеристики сгорания для всех цилиндров двигателя и, как следствие, улучшает балансировку. Кроме того, исследование моделирования позволило использовать обедненную лямбду (оптимизированное соотношение воздух-топливо) в форкамере, а также расширило рабочие пределы двигателя ».
Газовый двигатель серии E был испытан в течение более 3 000 часов эксплуатации в Центре исследований и разработок двигателей Siemens в Миньяно, Испания. По сообщению Siemens, установка продемонстрировала надежную и эффективную работу с конкурентоспособными капитальными и эксплуатационными затратами.
По словам Гармендиа, в новой конструкции двигателя также используются оптимизированные материалы. «В форкамере был использован новый сплав, чтобы продлить срок службы», — сказал Гармендиа. «Другие инновационные материалы включают в себя материал головки блока цилиндров с высоким сопротивлением, большим удлинением и легкостью в обработке; поршни из кованой стали, обеспечивающие высокое пиковое давление сгорания; и жаропрочные материалы для выхлопной системы ».
В двигателях серии E впервые в двигателях Siemens используются седла выпускных клапанов с водяным охлаждением в головке блока цилиндров.«Эта характеристика позволит значительно улучшить охлаждение и поможет продлить срок службы клапанов и седел», — сказал Гармендиа. «Как следствие, это поможет увеличить время между интервалами обслуживания».
Техническое обслуживание было еще одной областью, которую компания Siemens хотела улучшить, сказал Гармендиа. «По сравнению с 16-цилиндровыми двигателями того же класса мощности, серия E обеспечивает более упрощенное техническое обслуживание благодаря меньшему количеству цилиндров, что приводит к меньшим затратам на компоненты и сокращению времени на сборку и разборку двигателя.Таким образом, графики технического обслуживания можно оптимизировать, чтобы снизить затраты на обслуживание.
Газовый двигатель серии E будет использоваться для когенерации в кампусе Siemens в Эрлангене, Германия. Компания заявила, что кампус в Эрлангене создаст новый городской район и станет первым местом в мире с нейтральным выбросом CO2 для Siemens.
Кампус Siemens в Эрлангене, Германия, станет первым местом в мире с нейтральным выбросом CO2 для компании Siemens. В нем будет использоваться отдельная когенерационная система для централизованного теплоснабжения и охлаждения на базе четырех новых генераторных установок с двигателями SGE-86EM.В сотрудничестве с муниципальным коммунальным предприятием Эрлангена кампус будет работать с нулевым выбросом CO2 за счет использования передовых строительных и энергетических технологий. Децентрализованная энергетическая система, в которой используется отдельная когенерационная система на базе четырех новых двигателей SGE-86EM, будет обеспечивать централизованное отопление и охлаждение кампуса. Подход к проекту будет адаптирован к существующей энергетической инфраструктуре и устранит дорогостоящее развитие или расширение существующей инфраструктуры. Ожидается, что четыре блока будут доставлены на площадку в 2018 году.
С появлением в 2015 году подразделения Dresser-Rand портфель Siemens теперь включает газовые двигатели мощностью от 300 кВт до 2 МВт, промышленные и авиационные газовые турбины мощностью от 4 до 66 МВт и газовые турбины для тяжелых условий эксплуатации мощностью до 425 МВт. По оценкам компании, около 4 700 двигателей Guascor работают в более чем 50 странах мира.
исследований горения и теплопередачи в большом газовом двигателе на JSTOR
AbstractМетод 3D CFD стал важным и надежным инструментом для разработки современных больших газовых двигателей.Это особенно верно для оптимизации образования смеси и движения заряда в форкамерных двигателях, чтобы обеспечить подходящие условия возле свечи зажигания во время зажигания. Чтобы инициировать процесс быстрого сгорания, вокруг свечи зажигания должна преобладать горючая смесь с высокой турбулентностью, но умеренной скоростью. Однако подходящие модели сгорания и теплопередачи неизбежны для реалистичного моделирования всего цикла двигателя. В 3D CFD кодах процесс горения обычно рассчитывается с использованием PDF (функции плотности вероятности) — модели; теплопередача моделируется на основе логарифмической пристеночной функции.Экспериментальные исследования проводились на одноцилиндровом исследовательском двигателе с целью проверки используемой модели сгорания и различных моделей теплопередачи. Временные и пространственно разрешенные тепловые потоки измерялись методом поверхностной температуры. Оптические измерения, включая определение локальных концентраций ОН, были проведены для получения дополнительной информации о распространении пламени.


